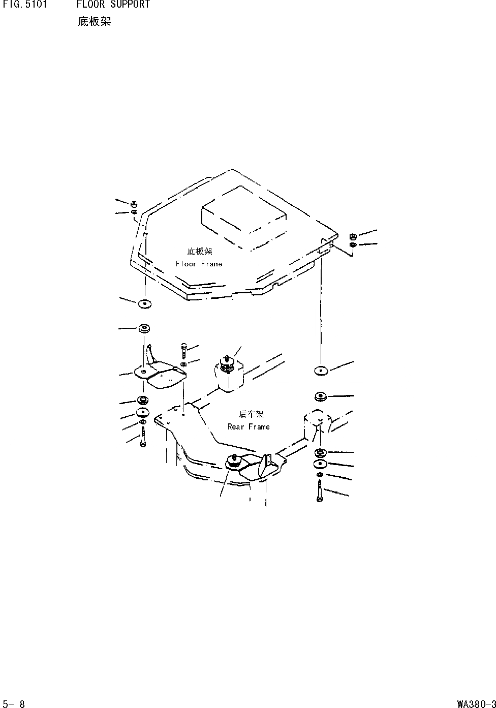
Запчасти Komatsu WA380-DZ-3 ПОЛ СУППОРТ [РАМА И ЧАСТИ КОРПУСА]

Схема запчастей Komatsu WA380-DZ-3 - ПОЛ СУППОРТ [РАМА И ЧАСТИ КОРПУСА]
11
10
8
5
2
5
8
7
6
3
4
1
8
5
5
8
7
6
10
11
FIT
1:1
100%

Артикул

Название

Примечание

Количество

1

421-54-13282

SUPPORTЃCL.H

Field_2: 10119-

1шт.

2

421-54-13292

SUPPORTЃCR.H

Field_2: 10119-

1шт.

3

01010-81655

BOLT

Field_2: 10119-

8шт.

4

01643-31645

WASHER

Field_2: 10119-

8шт.

5

419-54-13530

CUSHION

Field_2: 10119-

8шт.

6

01011-81620

BOLT

Field_2: 10119-

4шт.

7

01643-31645

WASHER

Field_2: 10119-

4шт.

8

425-54-13170

PLATE

Field_2: 10119-

8шт.

10

416-40-11150

WASHER

Field_2: 10119-

4шт.

11

01596-01615

NUT LOCKING

Field_2: 10119-

4шт.

Выбрано товаров: 10