Запчасти Komatsu WA380-DZ-3 BULKHEAD(БЕЗ КОНДИЦ. ВОЗДУХА) [РАМА И ЧАСТИ КОРПУСА]

Схема запчастей Komatsu WA380-DZ-3 - BULKHEAD(БЕЗ КОНДИЦ. ВОЗДУХА) [РАМА И ЧАСТИ КОРПУСА]
17
16
6
7
4
7
5
13
5
7
4
1
2
3
18
19
10
9
11
10
8
13
15
12
14
15
FIT
1:1
100%

Артикул

Название

Примечание

Количество

1

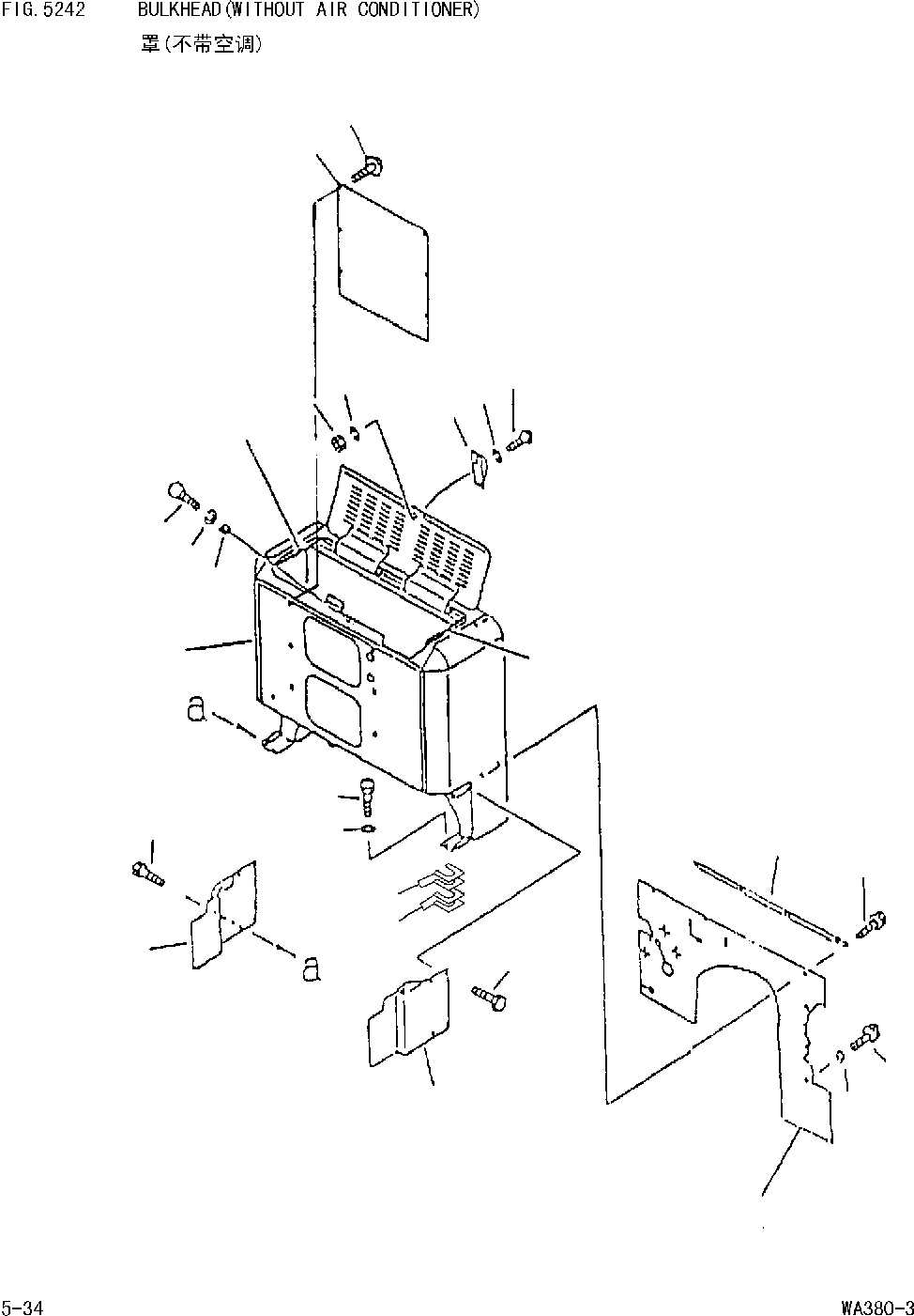
423-54-21840

BULK HEAD

Field_2: 10119-

1шт.

2

01010-81430

BOLT

Field_2: 10119-

8шт.

3

01643-31445

WASHER

Field_2: 10119-

8шт.

4

421-09-Z2320

HOLDER

Field_2: 10568-

1шт.

|$5

0

HOLDER

1шт.

5

01220-40412

SCREW

Field_2: 10119-

5шт.

6

01580-60403

NUT

Field_2: 10119-

5шт.

7

01601-20410

WASHER

Field_2: 10119-

10шт.

8

423-54-21580

COVER(L.H)

Field_2: 10119-

1шт.

9

423-54-21590

COVER(R.H)

Field_2: 10119-

1шт.

10

01435-01220

BOLT

Field_2: 10119-

8шт.

11

423-54-21320

SEAL DOOR

Field_2: 10119-

2шт.

12

423-54-Z1550

RUBBER

Field_2: 10119-

1шт.

|$14

\9\423-54-21550

RUBBER

1шт.

13

421-54-21350

PLATE

Field_2: 10119-

1шт.

14

421-62-14740

WASHER

Field_2: 10119-

2шт.

15

01435-01020

BOLT

Field_2: 10119-

6шт.

16

423-950-2110

PLATE

Field_2: 10119-

1шт.

17

01435-01016

BOLT

Field_2: 10119-

6шт.

18

419-70-13180

SHIM

Field_2: 10119-

8шт.

19

419-70-13190

SHIM

Field_2: 10119-

8шт.

Выбрано товаров: 21