Запчасти Komatsu WA40-1 ЭЛЕКТРИКА (ПЕРЕДН.) КОМПОНЕНТЫ ДВИГАТЕЛЯ И ЭЛЕКТРИКА

Схема запчастей Komatsu WA40-1 - ЭЛЕКТРИКА (ПЕРЕДН.) КОМПОНЕНТЫ ДВИГАТЕЛЯ И ЭЛЕКТРИКА
FIT
1:1
100%

Артикул

Название

Примечание

Количество

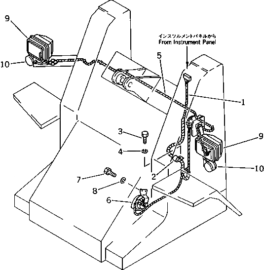
1

363-06-14140

WIRE ASS'Y

SN: 1001-UP

1шт.

2

08035-02510

CLIP

SN: 1001-UP

1шт.

3

01010-51020

BOLT

SN: 1001-UP

1шт.

4

01602-21030

WASHER,SPRING

SN: 1001-UP

1шт.

5

363-06-14150

WIRE ASS'Y

SN: 1001-UP

1шт.

6

08160-32400

HORN

SN: 1001-UP

1шт.

7

01010-50820

BOLT

SN: 1001-UP

2шт.

8

01602-20825

WASHER,SPRING

SN: 1001-UP

2шт.

9

23S-06-13230

HEAD LAMP ASS'Y

SN: 1001-UP

2шт.

10

08136-02400

LAMP

SN: 1001-UP

2шт.

Выбрано товаров: 10