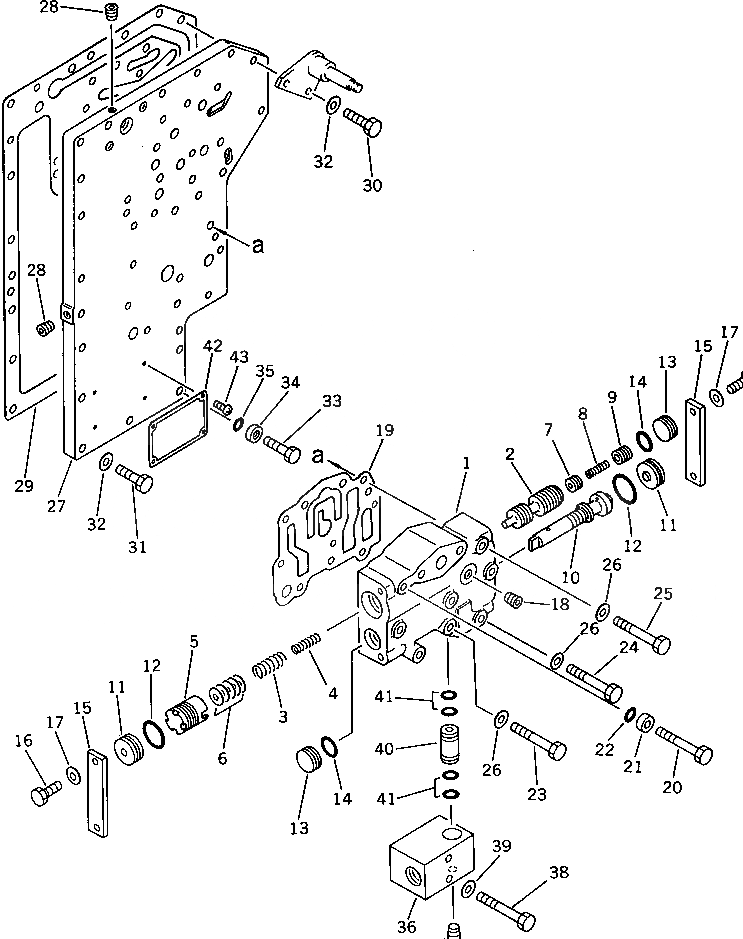
Запчасти Komatsu WA40-1 MODULATION КЛАПАН ТРАНСМИССИЯ

Схема запчастей Komatsu WA40-1 - MODULATION КЛАПАН ТРАНСМИССИЯ
FIT
1:1
100%

Артикул

Название

Примечание

Количество

|1

363-15-00011

TRANSMISSION ASS'Y

SN: .-UP

1шт.

|1

0

TRANSMISSION ASS'Y

SN: 1001-.

1шт.

|1

363-15-00100

MODULATION VALVE A.

SN: 1001-UP

1шт.

1

104-15-25110

BODY

SN: 1001-UP

1шт.

2

104-15-25210

SPOOL

SN: 1001-UP

1шт.

3

363-15-15291

SPRING

SN: 1001-UP

1шт.

4

363-15-15281

SPRING

SN: 1001-UP

1шт.

5

113-15-35220

VALVE

SN: 1001-UP

1шт.

6

113-15-25270

SHIM¤ 0.2MM

SN: 1001-UP

2шт.

|6

113-15-25260

SHIM¤ 0.5MM

SN: 1001-UP

3шт.

7

104-15-25490

VALVE

SN: 1001-UP

1шт.

8

125-15-15290

SPRING

SN: 1001-UP

1шт.

9

104-15-25480

VALVE

SN: 1001-UP

1шт.

10

363-15-15320

SPOOL

SN: 1001-UP

1шт.

11

104-15-25330

STOPPER

SN: 1001-UP

2шт.

12

07000-73025

O-RING

SN: 1001-UP

2шт.

13

104-15-25340

STOPPER

SN: 1001-UP

2шт.

14

07000-72020

O-RING

SN: 1001-UP

2шт.

15

113-15-25350

PLATE

SN: 1001-UP

2шт.

16

01010-30820

BOLT

SN: 1001-UP

4шт.

17

01643-30823

WASHER

SN: 1001-UP

4шт.

18

07043-00211

PLUG

SN: 1001-UP

1шт.

19

104-15-25140

GASKET

SN: 1001-UP

1шт.

20

01090-50865

BOLT

SN: 1001-UP

3шт.

21

362-15-15990

WASHER

SN: 1001-UP

3шт.

22

07000-01007

O-RING

SN: 1001-UP

3шт.

23

01010-30875

BOLT

SN: 1001-UP

2шт.

24

01010-30860

BOLT

SN: 1001-UP

1шт.

25

01010-30880

BOLT

SN: 1001-UP

2шт.

26

01643-30823

WASHER,SPRING

SN: 1001-UP

5шт.

|27

363-15-00110

VALVE SEAT ASS'Y

SN: 1001-UP

1шт.

27

0

SEAT

SN: 1001-UP

1шт.

28

07043-00108

PLUG

SN: 1001-UP

2шт.

29

362-15-15910

GASKET

SN: 1001-UP

1шт.

30

01010-30835

BOLT

SN: 1001-UP

2шт.

31

01010-30830

BOLT

SN: 1001-UP

12шт.

32

01643-30823

WASHER

SN: 1001-UP

14шт.

33

01090-50835

BOLT

SN: 1001-UP

2шт.

34

362-15-15990

WASHER

SN: 1001-UP

2шт.

35

07000-71007

O-RING

SN: 1001-UP

2шт.

36

362-15-15140

BLOCK

SN: 1001-UP

1шт.

37

07042-20108

PLUG

SN: 1001-UP

1шт.

38

01010-30880

BOLT

SN: 1001-UP

2шт.

39

01643-30823

WASHER,SPRING

SN: 1001-UP

2шт.

40

113-15-21770

SLEEVE

SN: 1001-UP

1шт.

41

07000-72014

O-RING

SN: 1001-UP

4шт.

42

09608-05080

PLATE¤ NAME,(LIMITED SUPPLY)

SN: 1001-UP

1шт.

43

04418-03060

SCREW

SN: 1001-UP

4шт.

Выбрано товаров: 48