Запчасти Komatsu WA40-1 LUMBER ВИЛЫ РАБОЧЕЕ ОБОРУДОВАНИЕ

Схема запчастей Komatsu WA40-1 - LUMBER ВИЛЫ РАБОЧЕЕ ОБОРУДОВАНИЕ
FIT
1:1
100%

Артикул

Название

Примечание

Количество

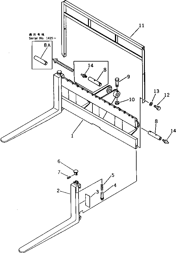
1

363-910-1110

BRACKET

SN: 1001-UP

1шт.

2

363-910-1120

FORK

SN: 1001-UP

2шт.

3

363-910-1190

PLATE,ALLOWABLE LOAD TABLE

SN: 1001-UP

1шт.

4

363-910-1160

PIN

SN: 1001-UP

2шт.

5

363-910-1170

SPRING

SN: 1001-UP

2шт.

6

362-910-1170

KNOB

SN: 1001-UP

2шт.

7

04025-00420

PIN,SPRING

SN: 1001-UP

2шт.

8

363-70-11220

PIN

SN: 1415-UP

2шт.

|8

363-70-11220

PIN

SN: 1001-1414

1шт.

8A

363-70-11380

PIN

SN: 1415-UP

1шт.

9

01010-51095

BOLT

SN: 1001-UP

3шт.

10

01598-01011

NUT

SN: 1001-UP

3шт.

11

363-910-1180

GUARD

SN: 1001-UP

1шт.

12

01010-51430

BOLT

SN: 1001-UP

4шт.

13

01602-21442

WASHER,SPRING

SN: 1001-UP

4шт.

14

07020-00000

FITTING,GREASE

SN: 1415-UP

2шт.

|14

07020-00000

FITTING,GREASE

SN: 1001-1414

3шт.

Выбрано товаров: 0