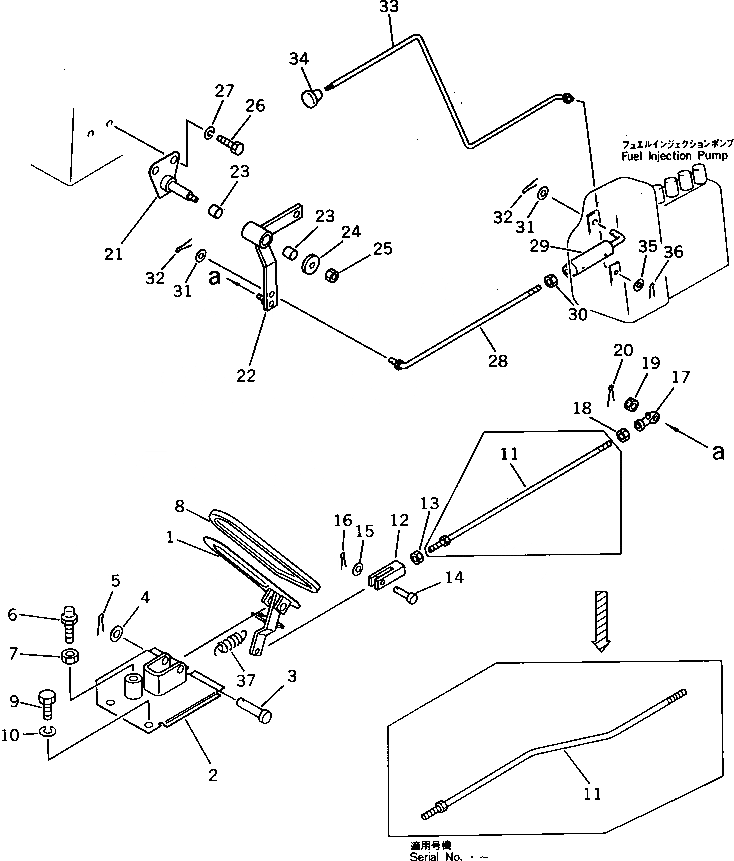
Запчасти Komatsu WA40-1 ПЕДАЛЬ АКСЕЛЕРАТОРАAND МЕХАНИЗМ КОМПОНЕНТЫ ДВИГАТЕЛЯ И ЭЛЕКТРИКА

Схема запчастей Komatsu WA40-1 - ПЕДАЛЬ АКСЕЛЕРАТОРАAND МЕХАНИЗМ КОМПОНЕНТЫ ДВИГАТЕЛЯ И ЭЛЕКТРИКА
FIT
1:1
100%

Артикул

Название

Примечание

Количество

|$0

363-43-11211

LEVER ASS'Y

SN: 1001-UP

1шт.

1

363-43-11221

PEDAL

SN: 1001-UP

1шт.

2

363-43-11230

PLATE

SN: 1001-UP

1шт.

3

04205-11250

PIN

SN: 1001-UP

1шт.

4

01641-21223

WASHER

SN: 1001-UP

1шт.

5

04050-13020

PIN,COTTER

SN: 1001-UP

1шт.

6

09311-41237

BUMPER

SN: 1001-UP

1шт.

7

01580-11210

NUT

SN: 1001-UP

1шт.

8

22W-43-12510

PAD

SN: 1001-UP

1шт.

9

01010-51020

BOLT

SN: 1001-UP

2шт.

10

01602-21030

WASHER,SPRING

SN: 1001-UP

2шт.

11

363-43-11160

ROD

SN: .-UP

1шт.

11

04248-30839

ROD

SN: 1001-.

1шт.

12

04211-20844

YOKE

SN: 1001-UP

1шт.

13

01580-10806

NUT

SN: 1001-UP

1шт.

14

04205-10822

PIN

SN: 1001-UP

1шт.

15

01641-20812

WASHER

SN: 1001-UP

1шт.

16

04050-12012

PIN,COTTER

SN: 1001-UP

1шт.

17

04250-60847

END,ROD, L.H. THREAD

SN: 1001-UP

1шт.

18

01508-20805

NUT,L.H. THREAD

SN: 1001-UP

1шт.

19

01590-10809

NUT

SN: 1001-UP

1шт.

20

04050-12015

PIN,COTTER

SN: 1001-UP

1шт.

|$22

363-43-11130

LEVER ASS'Y

SN: 1001-UP

1шт.

21

362-43-11420

SHAFT

SN: 1001-UP

1шт.

22

363-43-11150

LEVER

SN: 1001-UP

1шт.

23

09350-01415

BUSHING

SN: 1001-UP

2шт.

24

113-43-23230

WASHER

SN: 1001-UP

1шт.

25

01598-00809

NUT

SN: 1001-UP

1шт.

26

01010-51025

BOLT

SN: 1001-UP

2шт.

27

01602-21030

WASHER,SPRING

SN: 1001-UP

2шт.

28

363-43-11110

ROD

SN: 1001-UP

1шт.

29

362-43-11121

ROD

SN: 1001-UP

1шт.

30

01580-10806

NUT

SN: 1001-UP

1шт.

31

01641-20812

WASHER

SN: 1001-UP

2шт.

32

04050-12012

PIN,COTTER

SN: 1001-UP

2шт.

33

363-43-11240

ROD

SN: 1001-UP

1шт.

34

362-43-11260

KNOB

SN: 1001-UP

1шт.

35

01640-20610

WASHER

SN: 1001-UP

1шт.

36

04050-11618

PIN,COTTER

SN: 1001-UP

1шт.

37

363-43-11250

SPRING

SN: 1001-UP

1шт.

Выбрано товаров: 40