Запчасти Komatsu WA40-1 НАВЕС(№-) РАМА И ЧАСТИ КОРПУСА

Схема запчастей Komatsu WA40-1 - НАВЕС(№-) РАМА И ЧАСТИ КОРПУСА
FIT
1:1
100%

Артикул

Название

Примечание

Количество

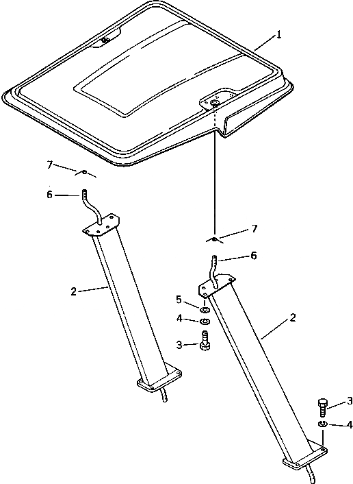
1

20S-54-23110

ROOF

SN: 1564-UP

1шт.

2

362-Z06-1110

POLE,L.H.

SN: 1001-UP

1шт.

2

362-Z06-1120

POLE,R.H.

SN: 1001-UP

1шт.

3

01010-51025

BOLT

SN: 1001-UP

16шт.

4

01602-01030

WASHER,SPRING

SN: 1001-UP

16шт.

5

01643-31032

WASHER

SN: 1001-UP

8шт.

6

07287-01917

HOSE

SN: 1564-UP

2шт.

7

04059-01020

WIRE,LOCK

SN: 1564-UP

2шт.

Выбрано товаров: 8