Запчасти Komatsu WA40-1 ГИДРОЦИЛИНДР ПОДЪЕМА УПРАВЛ-Е РАБОЧИМ ОБОРУДОВАНИЕМ

Схема запчастей Komatsu WA40-1 - ГИДРОЦИЛИНДР ПОДЪЕМА УПРАВЛ-Е РАБОЧИМ ОБОРУДОВАНИЕМ
FIT
1:1
100%

Артикул

Название

Примечание

Количество

|$0

363-63-12100

CYLINDER ASS'Y,L.H.

SN: 1001-UP

1шт.

|$1

363-63-12200

CYLINDER ASS'Y,R.H.

SN: 1001-UP

1шт.

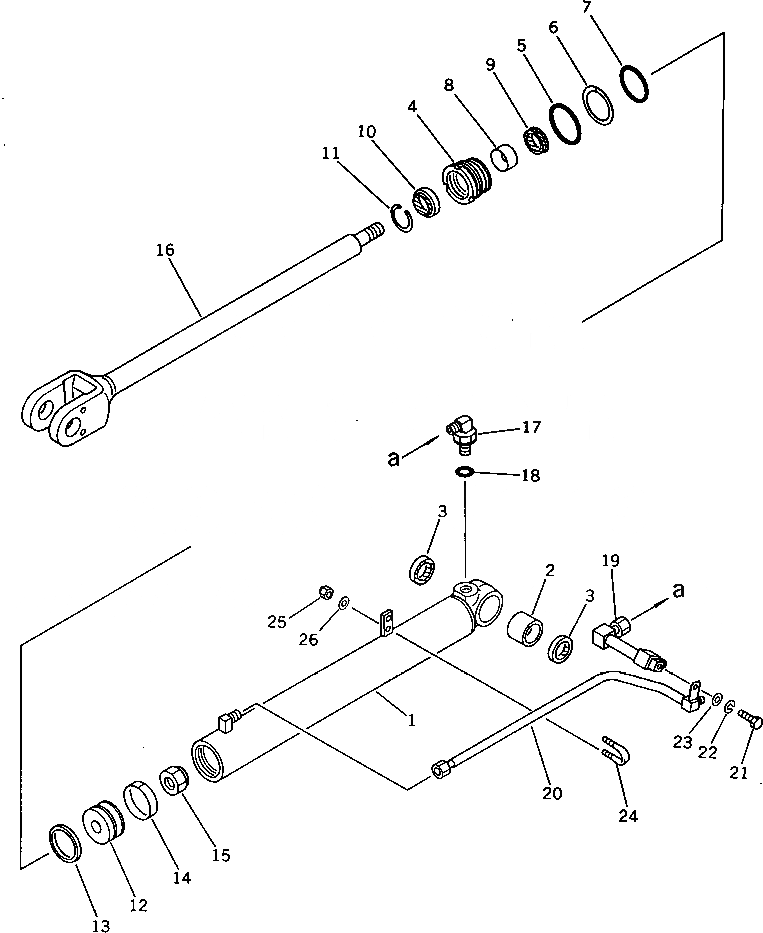
1

363-63-12140

CYLINDER

SN: 1001-UP

1шт.

2

07143-10404

BUSHING

SN: 1001-UP

1шт.

3

07145-00040

SEAL,DUST

SN: 1001-UP

2шт.

4

707-29-70930

HEAD,CYLINDER

SN: 1001-UP

1шт.

5

07000-02070

O-RING

SN: 1001-UP

1шт.

6

07001-02065

RING,BACK-UP

SN: 1001-UP

1шт.

7

07000-12065

O-RING

SN: 1001-UP

1шт.

8

07177-04025

BUSHING

SN: 1001-UP

1шт.

9

707-51-40210

PACKING,ROD

SN: 1001-UP

1шт.

10

198-63-75190

SEAL,DUST

SN: 1001-UP

1шт.

11

07179-00059

RING,SNAP

SN: 1001-UP

1шт.

12

707-36-70910

PISTON

SN: 1001-UP

1шт.

13

07161-10070

RING,PISTON

SN: 1001-UP

1шт.

14

07155-00720

RING,WEAR

SN: 1001-UP

1шт.

15

07165-12426

NUT,NYLON

SN: 1001-UP

1шт.

16

363-63-12120

ROD,PISTON

SN: 1001-UP

1шт.

17

07235-10422

ELBOW

SN: 1001-UP

1шт.

18

07002-12034

O-RING

SN: 1001-UP

1шт.

19

363-63-12180

TUBE,L.H.

SN: 1001-UP

1шт.

19

363-63-12280

TUBE,R.H.

SN: 1001-UP

1шт.

20

363-63-12170

TUBE,L.H.

SN: 1001-UP

1шт.

20

363-63-12270

TUBE,R.H.

SN: 1001-UP

1шт.

21

01010-51025

BOLT

SN: 1001-UP

1шт.

22

01602-21030

WASHER,SPRING

SN: 1001-UP

1шт.

23

01643-31032

WASHER

SN: 1001-UP

1шт.

24

07283-21529

CLIP

SN: 1001-UP

1шт.

25

01598-00809

NUT

SN: 1001-UP

2шт.

26

01643-30823

WASHER

SN: 1001-UP

2шт.

Выбрано товаров: 0