Запчасти Komatsu WA40-1 КОВШ РАБОЧЕЕ ОБОРУДОВАНИЕ

Схема запчастей Komatsu WA40-1 - КОВШ РАБОЧЕЕ ОБОРУДОВАНИЕ
FIT
1:1
100%

Артикул

Название

Примечание

Количество

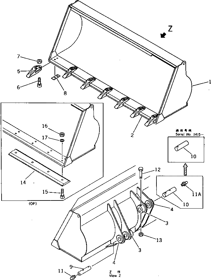
1

363-70-11120

BUCKET,0.5M3

SN: 1001-UP

1шт.

1

363-70-11520

BUCKET,0.6M3

SN: 1001-UP

1шт.

1

363-902-1110

BUCKET,1.0M3 (FOR LIVESTOCK RAISING)

SN: 1001-UP

1шт.

2

363-70-11160

EDGE (WELDED)

SN: 1001-UP

1шт.

3

363-70-11170

BOSS (WELDED)

SN: 1001-UP

3шт.

4

363-70-11180

BOSS (WELDED)

SN: 1001-UP

3шт.

5

20T-70-13130

TOOTH

SN: 1001-UP

7шт.

6

02090-11060

BOLT

SN: 1001-UP

14шт.

7

02205-11015

NUT

SN: 1001-UP

14шт.

8

20T-70-05010

SHIM ASS'Y

SN: 1001-UP

7шт.

8

20T-70-13150

SHIM, 0.5MM

SN: 1001-UP

1шт.

8

20T-70-13140

SHIM, 1.0MM

SN: 1001-UP

1шт.

9

363-70-11220

PIN

SN: 1001-UP

2шт.

10

363-70-11380

PIN

SN: 1415-UP

1шт.

10

363-70-11220

PIN

SN: 1001-1414

1шт.

11

07020-00000

FITTING,GREASE

SN: 1001-UP

2шт.

11A

07020-00000

FITTING,GREASE

SN: 1001-1414

1шт.

12

01010-51095

BOLT

SN: 1001-UP

3шт.

13

01598-01011

NUT

SN: 1001-UP

3шт.

14

363-972-1110

EDGE

SN: 1001-UP

1шт.

15

02090-11055

BOLT

SN: 1001-UP

7шт.

16

02205-11015

NUT

SN: 1001-UP

7шт.

17

01643-31645

WASHER

SN: 1001-UP

7шт.

Выбрано товаров: 0