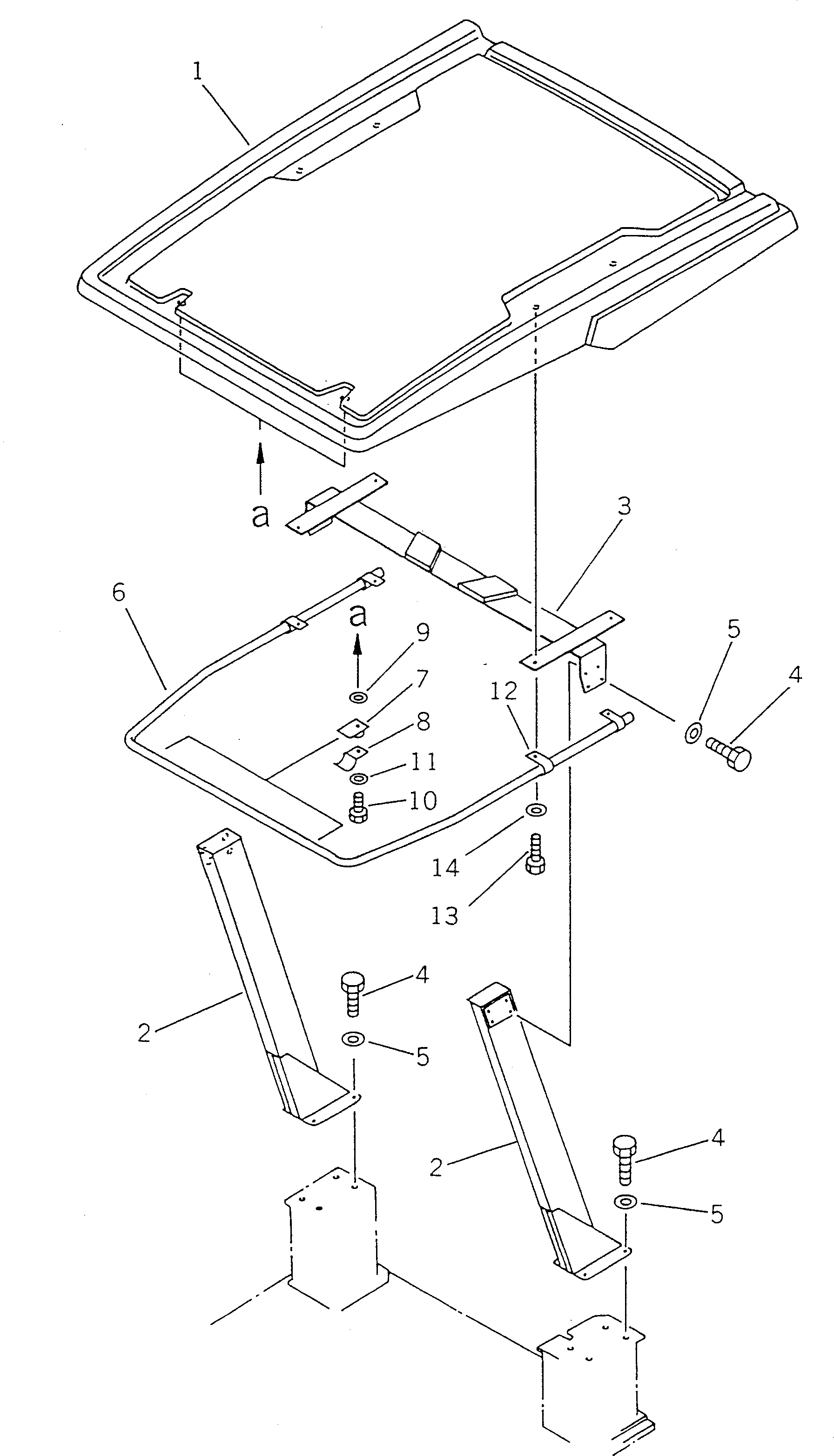
Запчасти Komatsu WA40-2 НАВЕС РАМА И ЧАСТИ КОРПУСА

Схема запчастей Komatsu WA40-2 - НАВЕС РАМА И ЧАСТИ КОРПУСА
FIT
1:1
100%

Артикул

Название

Примечание

Количество

1

113-X06-1111

ROOF

SN: 3001-UP

1шт.

2

363-Z06-1113

POLE,L.H.

SN: 3001-UP

1шт.

|2

363-Z06-1123

POLE,R.H.

SN: 3001-UP

1шт.

3

363-Z06-2131

BRACKET

SN: 3001-UP

1шт.

4

01010-51030

BOLT

SN: 3001-UP

16шт.

5

01643-31032

WASHER

SN: 3001-UP

16шт.

6

113-X06-1171

PIPE

SN: 3001-UP

1шт.

7

103-Y06-1160

CLIP

SN: 3001-UP

2шт.

8

103-Y06-1170

CLIP

SN: 3001-UP

2шт.

9

01643-31445

WASHER

SN: 3001-UP

2шт.

10

01010-51060

BOLT

SN: 3001-UP

2шт.

11

01643-31032

WASHER

SN: 3001-UP

2шт.

12

363-Z06-1140

CLIP

SN: 3001-UP

4шт.

13

01010-51055

BOLT

SN: 3001-UP

4шт.

14

01643-31032

WASHER

SN: 3001-UP

4шт.

Выбрано товаров: 15