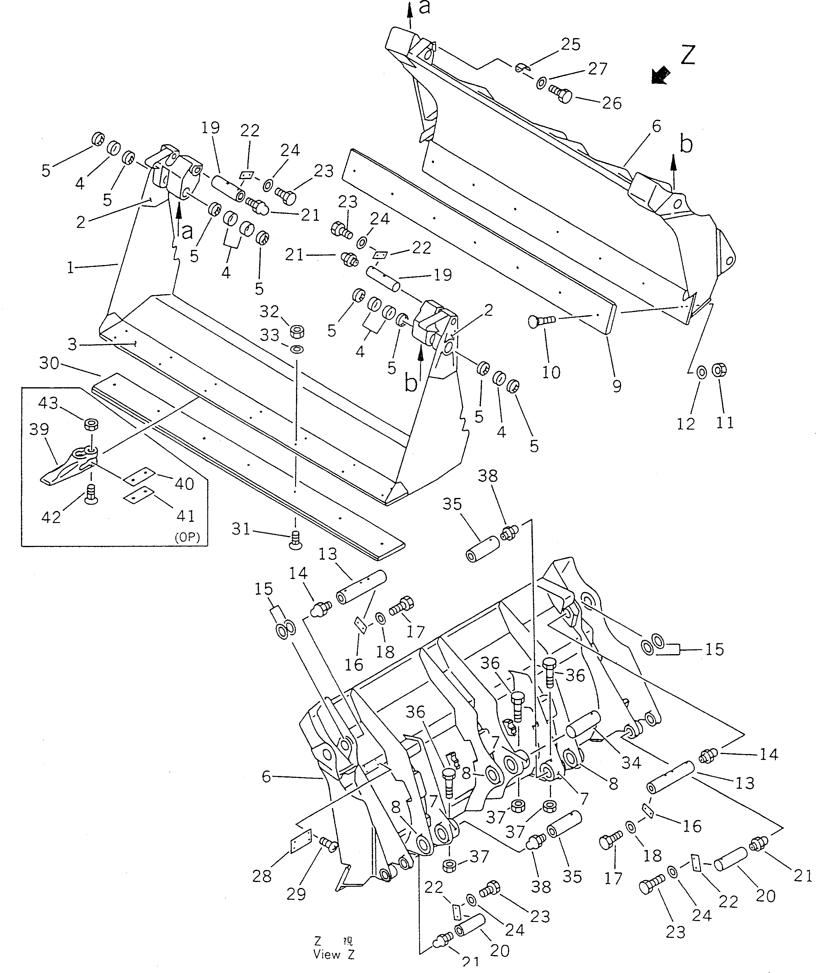
Запчасти Komatsu WA40-2 КОВШ (ДЛЯ МНОГОЦЕЛЕВ. КОВШ) РАБОЧЕЕ ОБОРУДОВАНИЕ

Схема запчастей Komatsu WA40-2 - КОВШ (ДЛЯ МНОГОЦЕЛЕВ. КОВШ) РАБОЧЕЕ ОБОРУДОВАНИЕ
FIT
1:1
100%

Артикул

Название

Примечание

Количество

G-1

0

BRACKET BLADE GROUP

SN: 3001-UP

1шт.

|$$2

====================

-1шт.

|1

363-Z23-0010

BUCKET ASS'Y

SN: 3001-UP

1шт.

1

363-Z23-1120

BUCKET

SN: 3001-UP

1шт.

2

363-Z23-1130

BRACKET (WELDED)

SN: 3001-UP

2шт.

3

363-70-21162

EDGE (WELDED)

SN: 3001-UP

1шт.

4

07143-10503

BUSHING

SN: 3001-UP

6шт.

5

07145-00050

SEAL,DUST

SN: 3001-UP

8шт.

6

363-Z23-1110

BLADE

SN: 3001-UP

1шт.

7

363-70-11170

BOSS (WELDED)

SN: 3001-UP

3шт.

8

363-70-11180

BOSS (WELDED)

SN: 3001-UP

3шт.

9

363-70-21190

EDGE¤ 1690MM

SN: 3001-UP

1шт.

10

02090-11045

BOLT

SN: 3001-UP

7шт.

11

02205-11015

NUT

SN: 3001-UP

7шт.

12

01643-31645

WASHER

SN: 3001-UP

7шт.

13

363-923-1570

PIN

SN: 3001-UP

2шт.

14

07020-00000

FITTING,GREASE

SN: 3001-UP

2шт.

15

201-70-23140

SPACER¤ 1.0MM

SN: 3001-UP

10шт.

16

113-70-21280

LOCK

SN: 3001-UP

2шт.

17

01010-51025

BOLT

SN: 3001-UP

4шт.

18

01643-31032

WASHER

SN: 3001-UP

4шт.

19

362-70-12230

PIN

SN: 3001-UP

2шт.

20

201-936-1240

PIN

SN: 3001-UP

2шт.

21

07020-00000

FITTING,GREASE

SN: 3001-UP

4шт.

22

113-70-21280

LOCK

SN: 3001-UP

4шт.

23

01010-51025

BOLT

SN: 3001-UP

8шт.

24

01643-31032

WASHER

SN: 3001-UP

8шт.

25

363-923-1620

BRACKET

SN: 3001-UP

1шт.

26

01010-51025

BOLT

SN: 3001-UP

2шт.

27

01643-31032

WASHER

SN: 3001-UP

2шт.

28

09601-00835

PLATE¤ NAME,(LIMITED SUPPLY)

SN: 3001-UP

1шт.

29

04418-13060

SCREW

SN: 3001-UP

4шт.

|$$33

====================

-1шт.

G-2

0

CUTTING EDGE GROUP

SN: 3001-UP

1шт.

|$$35

====================

-1шт.

30

363-70-21190

EDGE¤ 1690MM

SN: 3001-UP

1шт.

31

02090-11050

BOLT

SN: 3001-UP

7шт.

32

02205-11015

NUT

SN: 3001-UP

7шт.

33

01643-31645

WASHER

SN: 3001-UP

7шт.

|$$40

====================

-1шт.

G-3

0

BUCKET PIN GROUP

SN: 3001-UP

1шт.

|$$42

====================

-1шт.

34

363-70-11380

PIN

SN: 3001-UP

1шт.

35

363-70-11220

PIN

SN: 3001-UP

2шт.

36

01011-51000

BOLT

SN: 3001-UP

3шт.

37

01598-01011

NUT

SN: 3001-UP

3шт.

38

07020-00000

FITTING,GREASE

SN: 3001-UP

2шт.

|$$48

====================

-1шт.

G-4

0

TOOTH GROUP (OP)

SN: 3001-UP

1шт.

|$$50

====================

-1шт.

39

20T-70-13130

TOOTH (OP)

SN: 3001-UP

7шт.

40

20T-70-13140

SHIM¤ 1.0MM (OP)

SN: 3001-UP

7шт.

41

20T-70-13150

SHIM¤ 0.5MM (OP)

SN: 3001-UP

7шт.

42

02090-11060

BOLT (OP)

SN: 3001-UP

14шт.

43

02205-11015

NUT (OP)

SN: 3001-UP

14шт.

|$$56

====================

-1шт.

Выбрано товаров: 56