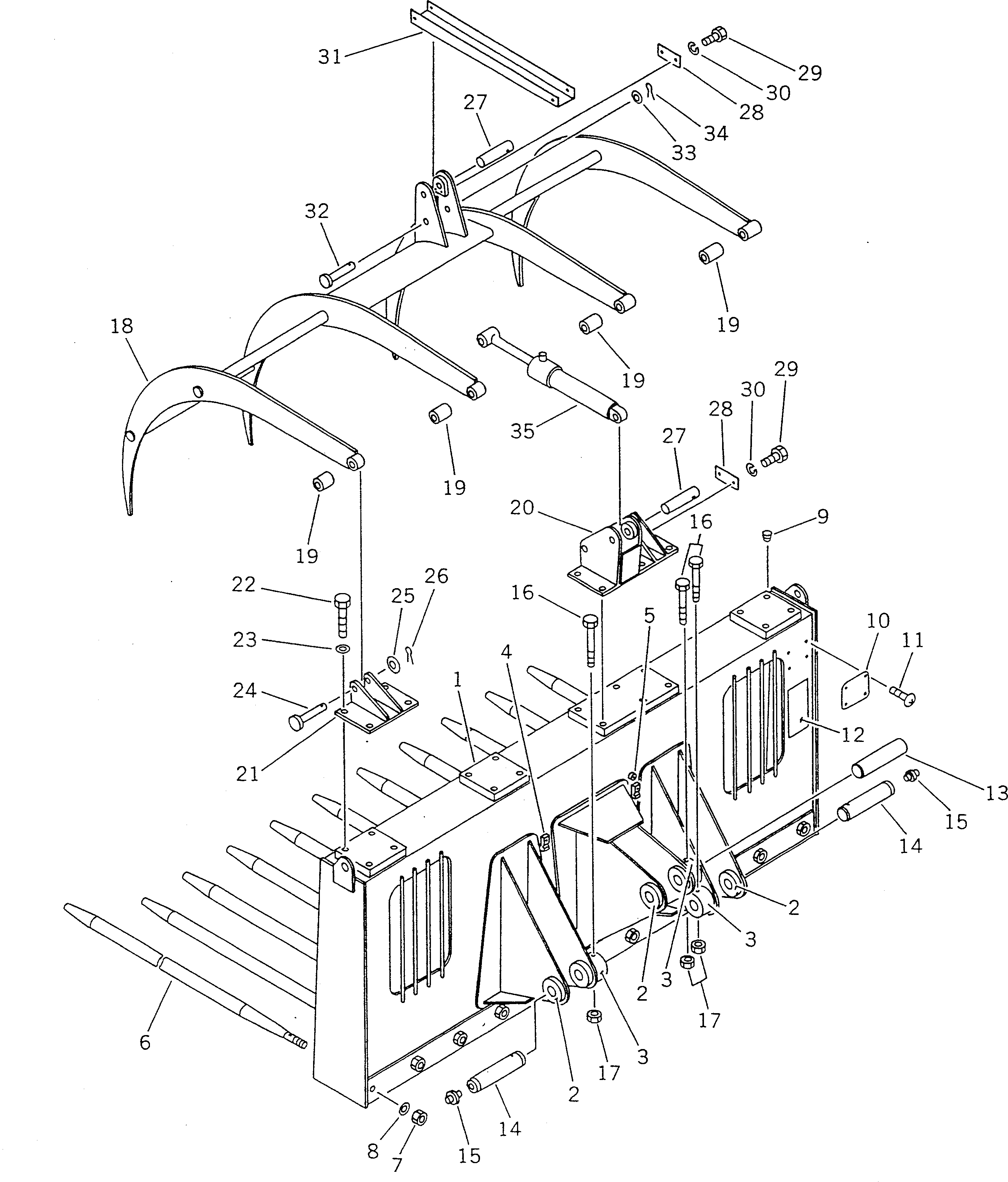
Запчасти Komatsu WA40-2 UTILITY ВИЛЫ¤ С ЗАХВАТ РАБОЧЕЕ ОБОРУДОВАНИЕ

Схема запчастей Komatsu WA40-2 - UTILITY ВИЛЫ¤ С ЗАХВАТ РАБОЧЕЕ ОБОРУДОВАНИЕ
FIT
1:1
100%

Артикул

Название

Примечание

Количество

G-1

0

FORK GROUP

SN: 3001-UP

1шт.

|$$2

====================

-1шт.

1

363-Z14-1111

BODY

SN: 3301-UP

1шт.

|1

363-Z14-1110

BODY

SN: 3001-3300

1шт.

2

363-70-11180

BOSS (WELDED)

SN: 3001-UP

3шт.

3

363-70-11170

BOSS (WELDED)

SN: 3001-UP

3шт.

4

20T-62-13710

SUPPORT (WELDED)

SN: 3001-UP

2шт.

5

01571-01016

SEAT (WELDED)

SN: 3001-UP

1шт.

6

363-914-1120

BAR

SN: 3001-UP

11шт.

7

01580-12016

NUT

SN: 3001-UP

11шт.

8

01643-32060

WASHER

SN: 3001-UP

11шт.

9

07049-01215

PLUG

SN: 3001-UP

18шт.

10

09601-00835

PLATE¤ NAME

SN: 3001-UP

1шт.

11

04418-13060

SCREW

SN: 3001-UP

4шт.

12

363-Z14-1120

PLATE¤ SAFETY,(ALLOWABLE TABLE)

SN: 3001-UP

1шт.

|$$16

====================

-1шт.

G-2

0

BUCKET PIN GROUP

SN: 3001-UP

1шт.

|$$18

====================

-1шт.

13

363-70-11380

PIN

SN: 3001-UP

1шт.

14

363-70-11220

PIN

SN: 3001-UP

2шт.

15

07020-00000

FITTING,GREASE

SN: 3001-UP

2шт.

16

01011-51000

BOLT

SN: 3001-UP

3шт.

17

01598-01011

NUT

SN: 3001-UP

3шт.

|$$24

====================

-1шт.

G-3

0

GRAPPLE GROUP

SN: 3001-UP

1шт.

|$$26

====================

-1шт.

18

363-Z14-1211

GRAPPLE

SN: 3301-UP

1шт.

|18

363-Z14-1210

GRAPPLE

SN: 3001-3300

1шт.

19

09350-02025

BUSHING

SN: 3001-UP

4шт.

20

363-Z14-1221

BRACKET

SN: 3301-UP

1шт.

|20

363-Z14-1220

BRACKET

SN: 3001-3300

1шт.

21

363-Z14-1230

BRACKET

SN: 3001-UP

3шт.

22

01010-51225

BOLT

SN: 3001-UP

18шт.

23

01643-31232

WASHER

SN: 3001-UP

18шт.

24

04205-12060

PIN

SN: 3001-UP

4шт.

25

01640-22032

WASHER

SN: 3001-UP

4шт.

26

04050-15030

PIN,COTTER

SN: 3001-UP

4шт.

27

09241-3A115

PIN

SN: 3001-UP

2шт.

28

04082-00110

LOCK

SN: 3001-UP

2шт.

29

01010-51020

BOLT

SN: 3001-UP

4шт.

30

01602-21030

WASHER,SPRING

SN: 3001-UP

4шт.

31

362-913-1170

COVER

SN: 3001-UP

1шт.

32

363-Z14-1240

PIN

SN: 3001-UP

2шт.

33

01641-21626

WASHER

SN: 3001-UP

4шт.

34

04050-14025

PIN,COTTER

SN: 3001-UP

4шт.

|$$46

====================

-1шт.

35

362-63-X2090

CYLINDER GROUP

SN: 3001-UP

1шт.

Выбрано товаров: 47