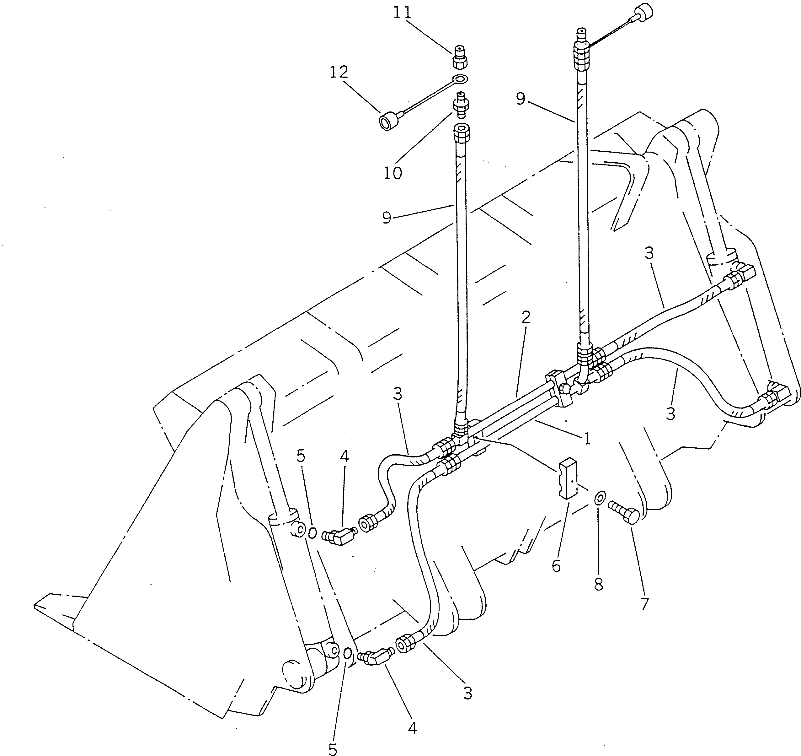
Запчасти Komatsu WA40-2 ГИДРОЛИНИЯ (КОВШ ) (ДЛЯ МНОГОЦЕЛЕВ. КОВШ) РАБОЧЕЕ ОБОРУДОВАНИЕ

Схема запчастей Komatsu WA40-2 - ГИДРОЛИНИЯ (КОВШ ) (ДЛЯ МНОГОЦЕЛЕВ. КОВШ) РАБОЧЕЕ ОБОРУДОВАНИЕ
FIT
1:1
100%

Артикул

Название

Примечание

Количество

G-1

0

PIPING GROUP,MULTI PURPOSE

SN: 3001-UP

1шт.

|$$2

====================

-1шт.

1

363-923-1670

TUBE

SN: 3001-UP

1шт.

2

363-Z23-1140

TUBE

SN: 3001-UP

1шт.

3

07123-40305

HOSE

SN: 3001-UP

4шт.

4

20D-62-14350

ELBOW

SN: 3001-UP

4шт.

5

07002-12034

O-RING

SN: 3001-UP

4шт.

6

20T-62-51470

CLAMP

SN: 3001-UP

2шт.

7

01010-51030

BOLT

SN: 3001-UP

2шт.

8

01643-31032

WASHER

SN: 3001-UP

2шт.

9

07123-40309

HOSE

SN: 3001-UP

2шт.

10

411-12-12820

NIPPLE,(ABLE TO AVAIL MULTI PURPOSE)

SN: 3001-UP

2шт.

11

10E-60-16350

COUPLING,(ABLE TO AVAIL MULTI PURPOSE)

SN: 3001-UP

2шт.

12

363-Z23-1150

CAP,(ABLE TO AVAIL MULTI PURPOSE)

SN: 3001-UP

2шт.

|$$15

====================

-1шт.

Выбрано товаров: 15