Запчасти Komatsu WA40-2 ПЕРЕДН. РАМА РАМА И ЧАСТИ КОРПУСА

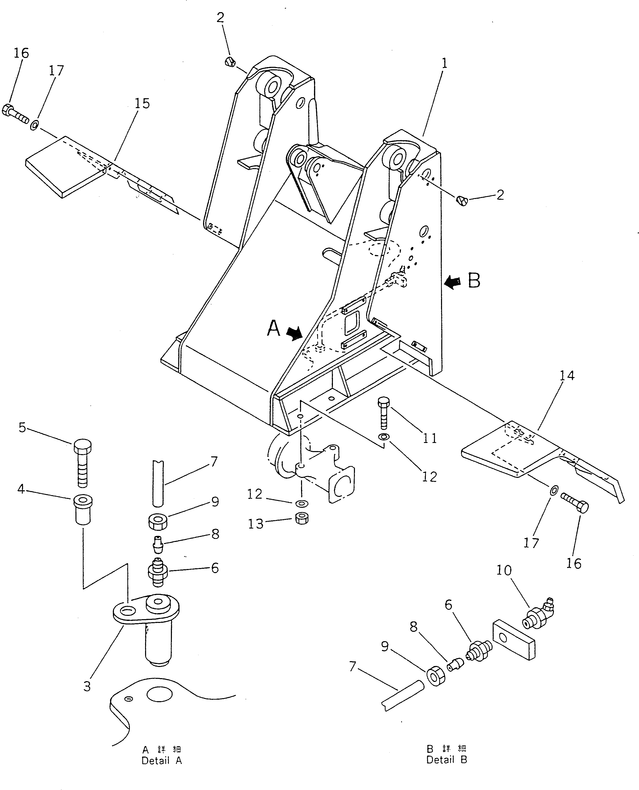
Схема запчастей Komatsu WA40-2 - ПЕРЕДН. РАМА РАМА И ЧАСТИ КОРПУСА
FIT
1:1
100%

Артикул

Название

Примечание

Количество

1

363-46-21103

FRAME,FRONT

SN: 3001-UP

1шт.

2

07049-01012

PLUG

SN: 3001-UP

2шт.

3

363-46-21150

PIN

SN: 3001-UP

1шт.

4

20S-70-31180

SPACER

SN: 3001-UP

1шт.

5

01010-51230

BOLT

SN: 3001-UP

1шт.

6

20R-46-11160

CONNECTOR

SN: 3001-UP

2шт.

7

362-46-31380

TUBE

SN: 3001-UP

1шт.

8

07831-00411

SLEEVE

SN: 3001-UP

2шт.

9

07832-00410

NUT

SN: 3001-UP

2шт.

10

07020-00675

FITTING,GREASE

SN: 3001-UP

1шт.

11

01011-52415

BOLT

SN: 3001-UP

4шт.

12

01643-32460

WASHER

SN: 3001-UP

8шт.

13

07165-12426

NUT

SN: 3001-UP

4шт.

14

363-54-21211

FENDER,L.H.

SN: 3001-UP

1шт.

15

363-54-21221

FENDER,R.H.

SN: 3001-UP

1шт.

16

01010-51016

BOLT

SN: 3001-UP

8шт.

17

01643-31032

WASHER

SN: 3001-UP

8шт.

Выбрано товаров: 17