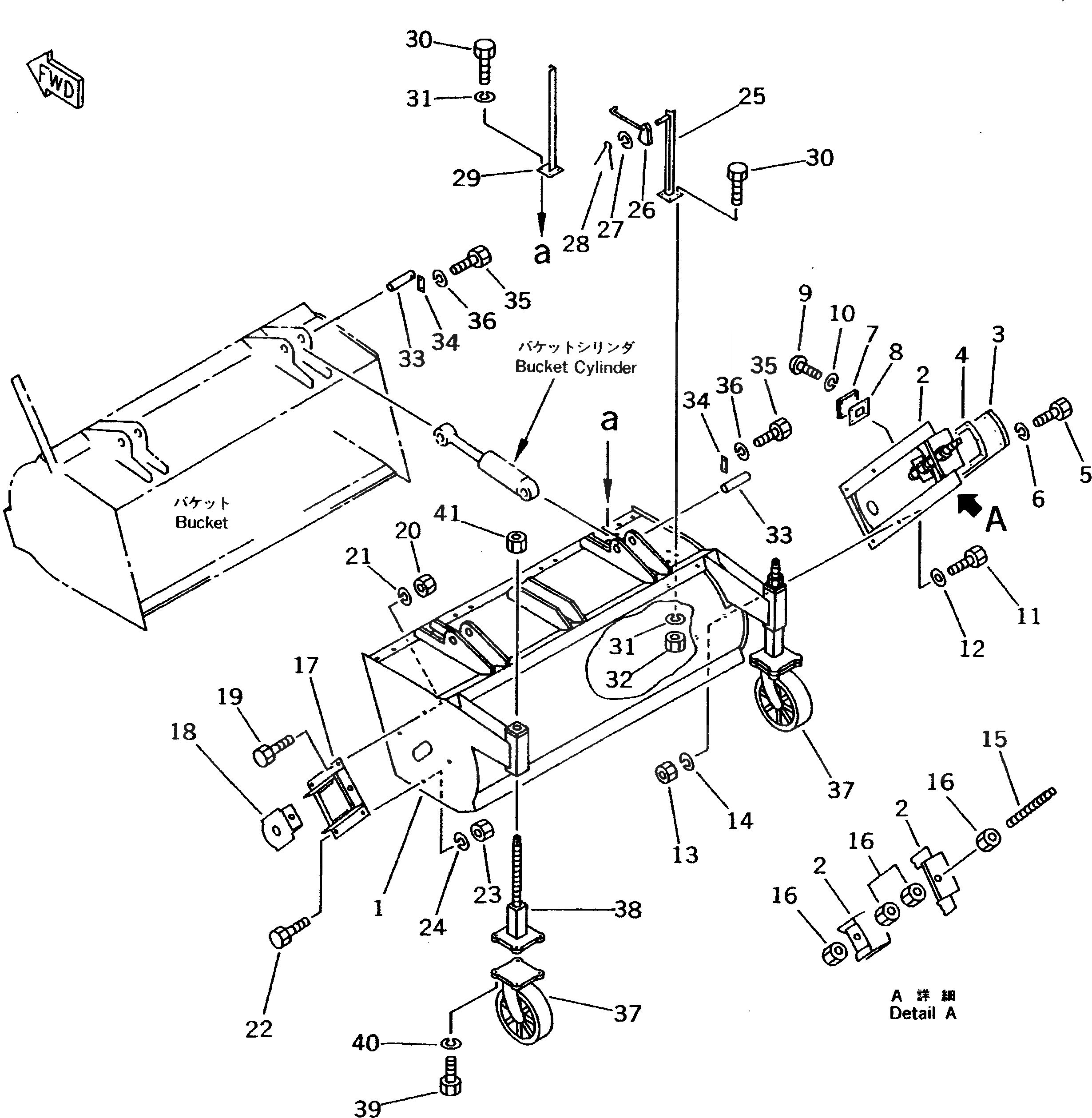
Запчасти Komatsu WA40-3-CB ROAD SWEEPER (ВНУТР. ЭЛЕМЕНТЫ) (/8) (BRUSH КОРПУС И CASTER) (IRON КОЛЕСА ТИП) РАБОЧЕЕ ОБОРУДОВАНИЕ

Схема запчастей Komatsu WA40-3-CB - ROAD SWEEPER (ВНУТР. ЭЛЕМЕНТЫ) (/8) (BRUSH КОРПУС И CASTER) (IRON КОЛЕСА ТИП) РАБОЧЕЕ ОБОРУДОВАНИЕ
FIT
1:1
100%

Артикул

Название

Примечание

Количество

|1

363-N90-3311

SWEEPER ASS'Y,(IRON WHEEL TYPE)

SN: 19001-UP

1шт.

|$$2

THIS ASSEMBLY CONSISTS OF ALL PARTS SHOWN IN FIGS.T4250-51A0 TO T4250-58A0.

-1шт.

|1

363-N90-3121

SWEEPER ASS'Y,(IRON WHEEL TYPE)

SN: 19001-UP

1шт.

|$$4

THIS ASSEMBLY CONSISTS OF ALL PARTS SHOWN IN FIGS.T4250-51A0 TO T4250-58A0.

-1шт.

1

362-N90-4210

CASE,BRUSH

SN: 19001-UP

1шт.

2

362-N90-4440

CASE,CHAIN

SN: 19001-UP

1шт.

3

362-N90-4420

COVER

SN: 19001-UP

1шт.

4

362-N90-4430

PACKING

SN: 19001-UP

1шт.

5

01010-80816

BOLT

SN: 19001-UP

16шт.

6

01602-20825

WASHER,SPRING

SN: 19001-UP

16шт.

7

362-N90-4460

COVER

SN: 19001-UP

1шт.

8

362-N90-4470

PACKING

SN: 19001-UP

1шт.

9

362-N90-4450

SCREW

SN: 19001-UP

4шт.

10

01601-20513

WASHER,SPRING

SN: 19001-UP

4шт.

11

01050-51230

BOLT

SN: 19001-UP

4шт.

12

01643-31232

WASHER

SN: 19001-UP

4шт.

13

01582-11210

NUT

SN: 19001-UP

4шт.

14

01602-21236

WASHER,SPRING

SN: 19001-UP

4шт.

15

362-N90-4410

SCREW,ADJUSTING

SN: 19001-UP

1шт.

16

01580-12016

NUT

SN: 19001-UP

4шт.

17

362-N90-4240

CASE,PILLOW SLIDE

SN: 19001-UP

1шт.

18

362-N90-4520

COVER

SN: 19001-UP

1шт.

19

01050-51225

BOLT

SN: 19001-UP

2шт.

20

01582-11210

NUT

SN: 19001-UP

2шт.

21

01602-21236

WASHER,SPRING

SN: 19001-UP

2шт.

22

362-N90-4250

BOLT

SN: 19001-UP

2шт.

23

01580-11210

NUT

SN: 19001-UP

2шт.

24

01602-21236

WASHER,SPRING

SN: 19001-UP

2шт.

25

362-N90-4530

BRACKET,CROSS TEST LEVELER

SN: 19001-UP

1шт.

26

362-N90-4540

CROSS TEST LEVELER

SN: 19001-UP

1шт.

27

01602-20825

WASHER,SPRING

SN: 19001-UP

1шт.

28

362-N90-4560

PIN,COTTER

SN: 19001-UP

1шт.

29

362-N90-4550

BRACKET,SCALE

SN: 19001-UP

1шт.

30

01010-80816

BOLT

SN: 19001-UP

8шт.

31

01602-20825

WASHER,SPRING

SN: 19001-UP

8шт.

32

01580-10806

NUT

SN: 19001-UP

4шт.

33

362-N90-4480

PIN,CYLINDER

SN: 19001-UP

4шт.

34

362-N90-4490

PLATE,LOCK

SN: 19001-UP

4шт.

35

01050-51020

BOLT

SN: 19001-UP

8шт.

36

01602-21030

WASHER,SPRING

SN: 19001-UP

8шт.

37

362-N90-4370

CASTER ASS'Y

SN: 19001-UP

2шт.

38

362-N90-4380

ADJUSTER ASS'Y

SN: 19001-UP

2шт.

39

01050-51230

BOLT

SN: 19001-UP

8шт.

40

01602-21236

WASHER,SPRING

SN: 19001-UP

8шт.

41

362-N90-4390

NUT

SN: 19001-UP

2шт.

Выбрано товаров: 45