Запчасти Komatsu WA40-3-CN ROAD SWEEPER (ВНУТР. ЭЛЕМЕНТЫ) (/8) (КОВШ РЕЗИН. И РУКОЯТЬ СТОПОР) РАБОЧЕЕ ОБОРУДОВАНИЕ

Схема запчастей Komatsu WA40-3-CN - ROAD SWEEPER (ВНУТР. ЭЛЕМЕНТЫ) (/8) (КОВШ РЕЗИН. И РУКОЯТЬ СТОПОР) РАБОЧЕЕ ОБОРУДОВАНИЕ
FIT
1:1
100%

Артикул

Название

Примечание

Количество

|1

363-N90-3311

SWEEPER ASS'Y,(IRON WHEEL TYPE)

SN: 19001-UP

1шт.

|1

363-Z56-3510

SWEEPER ASS'Y,(TIRE TYPE)

SN: 19001-UP

1шт.

|$$3

THESE ASSEMBLIES CONSIST OF ALL PARTS SHOWN IN FIGS.T4250-51A0 TO T4250-58A0.

-1шт.

|1

363-N90-3121

SWEEPER ASS'Y,(IRON WHEEL TYPE)

SN: 19001-UP

1шт.

|1

363-Z56-3520

SWEEPER ASS'Y,(TIRE TYPE)

SN: 19001-UP

1шт.

|$$6

THESE ASSEMBLIES CONSIST OF ALL PARTS SHOWN IN FIGS.T4250-51A0 TO T4250-58A0.

-1шт.

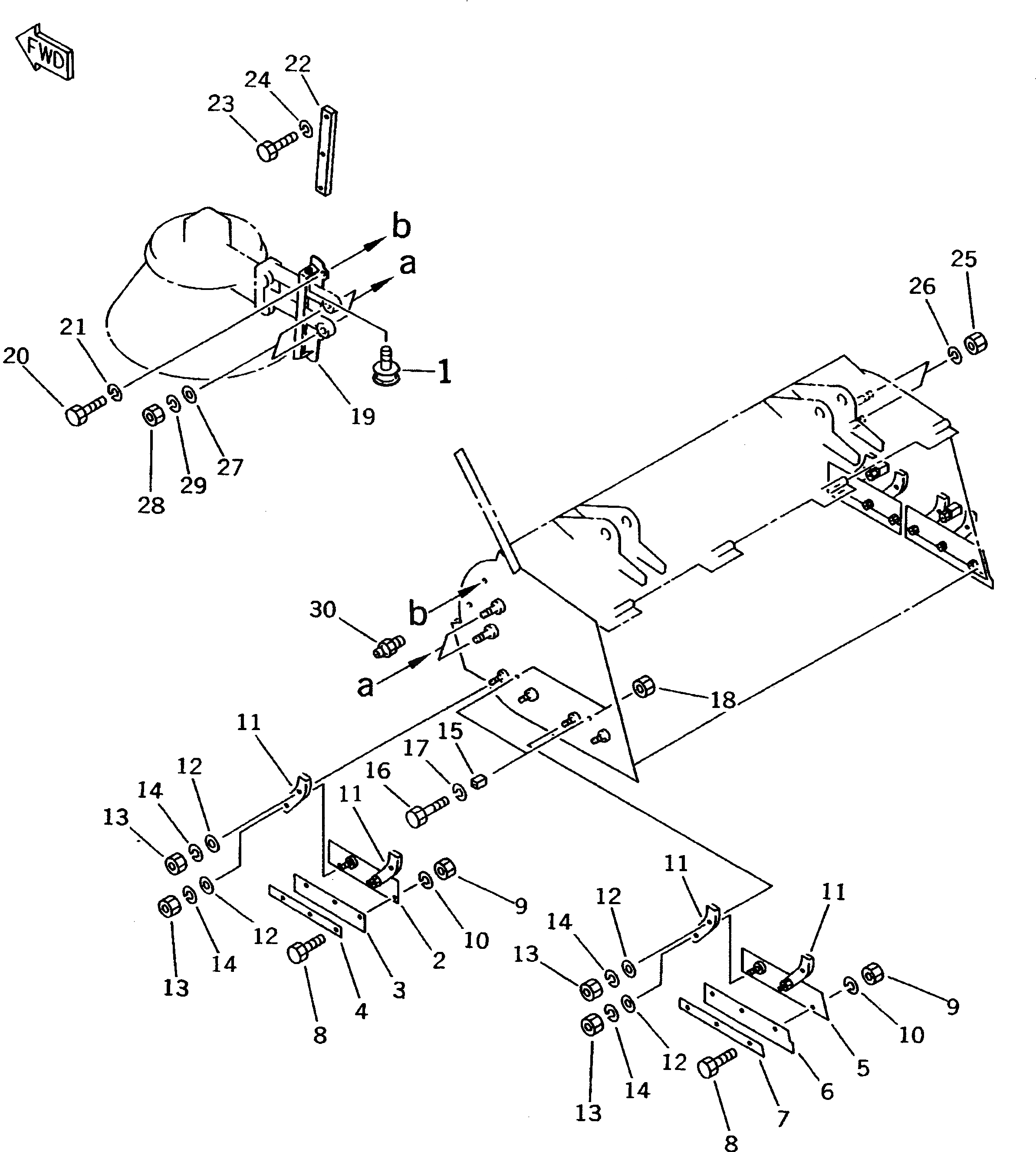
1

362-N90-4620

RUBBER,CUSHION

SN: 19001-UP

2шт.

2

362-N90-4740

PLATE,SLIDE¤ L.H.

SN: 19001-UP

1шт.

|2

362-N90-4730

PLATE,SLIDE¤ R.H.

SN: 19001-UP

1шт.

3

362-N90-4720

RUBBER

SN: 19001-UP

2шт.

4

362-N90-4710

PLATE

SN: 19001-UP

2шт.

5

362-N90-4760

PLATE,SLIDE¤ L.H.

SN: 19001-UP

1шт.

|5

362-N90-4750

PLATE,SLIDE¤ R.H.

SN: 19001-UP

1шт.

6

362-N90-4670

RUBBER

SN: 19001-UP

2шт.

7

362-N90-4680

PLATE

SN: 19001-UP

2шт.

8

362-N90-4690

BOLT

SN: 19001-UP

12шт.

9

01580-10806

NUT

SN: 19001-UP

12шт.

10

01602-20825

WASHER,SPRING

SN: 19001-UP

12шт.

11

362-N90-4630

LINK

SN: 19001-UP

4шт.

|11

362-N90-4640

LINK

SN: 19001-UP

2шт.

|11

362-N90-4650

LINK

SN: 19001-UP

2шт.

12

362-N90-4770

WASHER

SN: 19001-UP

16шт.

13

01582-11006

NUT

SN: 19001-UP

16шт.

14

01602-21030

WASHER,SPRING

SN: 19001-UP

16шт.

15

362-N90-4660

STOPPER

SN: 19001-UP

4шт.

16

01010-81045

BOLT

SN: 19001-UP

4шт.

17

01602-21030

WASHER,SPRING

SN: 19001-UP

4шт.

18

01580-11008

NUT

SN: 19001-UP

4шт.

19

362-N90-4780

STOPPER,ARM

SN: 19001-UP

1шт.

20

01050-51025

BOLT

SN: 19001-UP

5шт.

21

01602-21030

WASHER,SPRING

SN: 19001-UP

5шт.

22

362-N90-4790

STOPPER,THRUST

SN: 19001-UP

1шт.

23

01050-51225

BOLT

SN: 19001-UP

3шт.

24

01602-21236

WASHER,SPRING

SN: 19001-UP

3шт.

25

01580-10806

NUT

SN: 19001-UP

2шт.

26

01602-20825

WASHER,SPRING

SN: 19001-UP

2шт.

27

362-N90-4810

WASHER

SN: 19001-UP

2шт.

28

01580-12016

NUT

SN: 19001-UP

2шт.

29

01602-22060

WASHER,SPRING

SN: 19001-UP

2шт.

30

07020-00001

FITTING,GREASE

SN: 19001-UP

2шт.

|$$41

OPTIONAL PARTS{(FOR R.H. SIDE GUTTER BRUSH)}

-1шт.

19

236-N90-4850

STOPPER,ARM

SN: 19001-UP

1шт.

Выбрано товаров: 42