Запчасти Komatsu WA40-3 КОВШ¤ .M РАБОЧЕЕ ОБОРУДОВАНИЕ

Схема запчастей Komatsu WA40-3 - КОВШ¤ .M РАБОЧЕЕ ОБОРУДОВАНИЕ
FIT
1:1
100%

Артикул

Название

Примечание

Количество

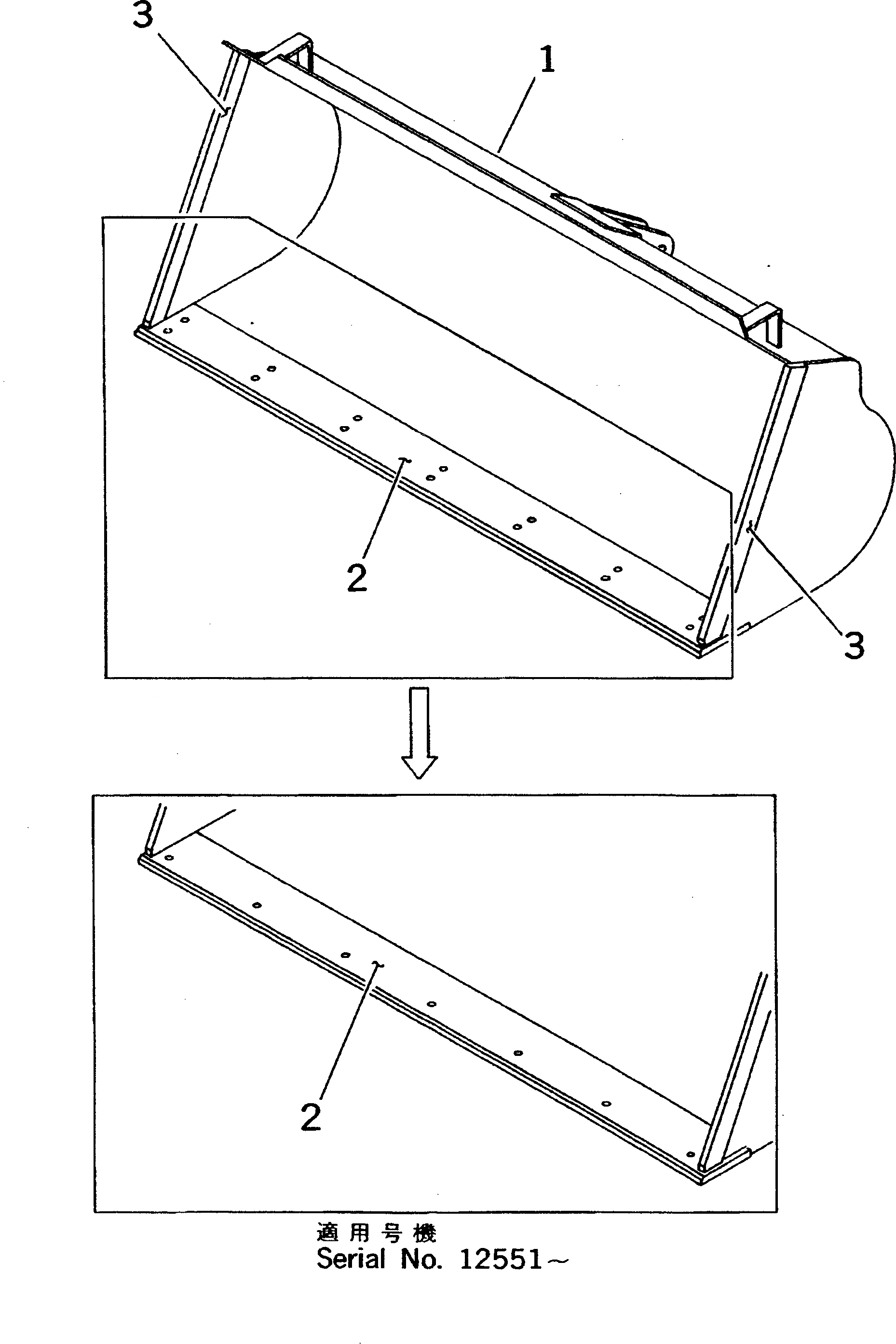
1

363-70-32210

BUCKET

SN: 12551-UP

1шт.

1

0

BUCKET

SN: 10001-12550

1шт.

2

363-70-32130

EDGE (WELDED)

SN: 12551-UP

1шт.

2

0

EDGE (WELDED)

SN: 10001-12550

1шт.

3

363-70-32180

PLATE (WELDED)

SN: 10001-UP

2шт.

Выбрано товаров: 5