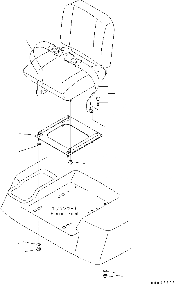
Запчасти Komatsu WA40-3 РЕМЕНЬ БЕЗОПАСНОСТИ КАБИНА ОПЕРАТОРА И СИСТЕМА УПРАВЛЕНИЯ

Схема запчастей Komatsu WA40-3 - РЕМЕНЬ БЕЗОПАСНОСТИ КАБИНА ОПЕРАТОРА И СИСТЕМА УПРАВЛЕНИЯ
1
1
1
2
3
4
5
6
FIT
1:1
100%

Артикул

Название

Примечание

Количество

1

09409-60000

BELT

SN: 19001-UP

1шт.

1

09409-00001

BOLT

SN: 19001-UP

2шт.

1

09409-00002

WASHER

SN: 19001-UP

2шт.

1

09409-00003

NUT

SN: 19001-UP

2шт.

2

363-54-33490

PLATE

SN: 19001-UP

1шт.

3

01584-00806

NUT

SN: 19001-UP

4шт.

4

21T-72-12170

COLLAR

SN: 19001-UP

4шт.

5

01580-10806

NUT

SN: 19001-UP

4шт.

6

01643-30823

WASHER

SN: 19001-UP

4шт.

Выбрано товаров: 9