Запчасти Komatsu WA40-3-X ГИДР. БАК. ГИДРАВЛИКА

Схема запчастей Komatsu WA40-3-X - ГИДР. БАК. ГИДРАВЛИКА
FIT
1:1
100%

Артикул

Название

Примечание

Количество

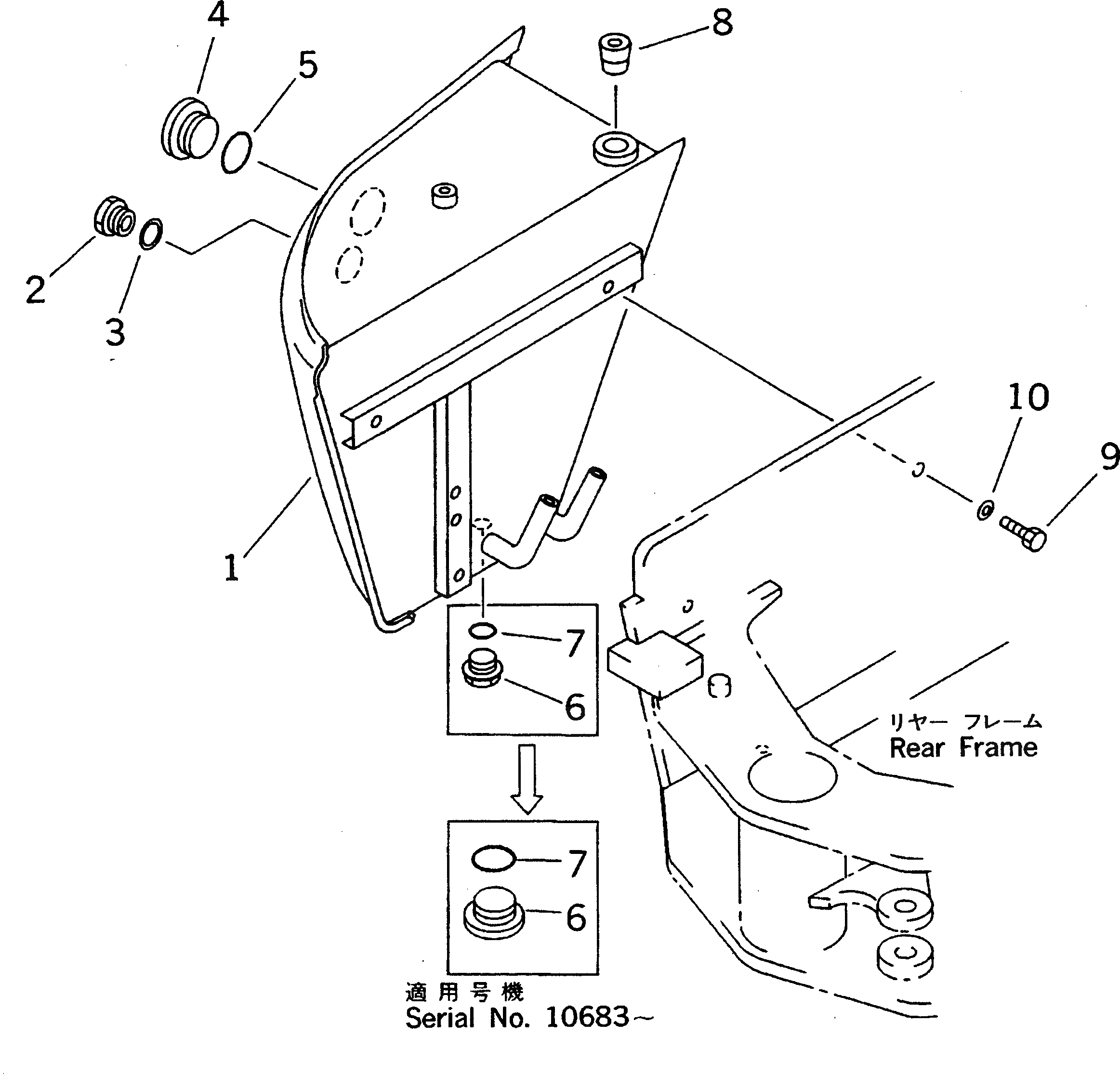
1

363-60-35110

TANK

SN: 10001-UP

1шт.

2

20N-60-11143

GAUGE,OIL LEVEL

SN: 13468-UP

1шт.

|2

0

GAUGE,OIL LEVEL

SN: 13201-13467

1шт.

|2

20N-60-11141

GAUGE,OIL LEVEL

SN: 10001-13200

1шт.

3

20N-60-11181

GASKET

SN: 13201-UP

1шт.

|3

20N-60-11180

GASKET

SN: 10001-13200

1шт.

4

363-60-21310

PLUG

SN: 10001-UP

1шт.

5

07002-05234

O-RING

SN: 10001-UP

1шт.

6

363-60-21310

PLUG

SN: 10683-UP

1шт.

|6

07044-12412

PLUG

SN: 10001-10682

1шт.

7

07002-05234

O-RING

SN: 10683-UP

1шт.

|7

07002-02434

O-RING

SN: 10001-10682

1шт.

8

07043-71019

PLUG

SN: 10001-UP

1шт.

9

01010-81230

BOLT

SN: 10001-UP

3шт.

10

01643-31232

WASHER

SN: 10001-UP

3шт.

Выбрано товаров: 0