Запчасти Komatsu WA40-3RS-X ROAD SWEEPER (/8) (ОСНОВН. BRUSH) РАБОЧЕЕ ОБОРУДОВАНИЕ

Схема запчастей Komatsu WA40-3RS-X - ROAD SWEEPER (/8) (ОСНОВН. BRUSH) РАБОЧЕЕ ОБОРУДОВАНИЕ
FIT
1:1
100%

Артикул

Название

Примечание

Количество

|1

363-N90-3311

SWEEPER ASS'Y,(IRON WHEEL TYPE)

SN: 10001-UP

1шт.

|1

363-Z56-3510

SWEEPER ASS'Y,(TIRE TYPE)

SN: 10001-UP

1шт.

|$$3

THESE ASSEMBLIES CONSIST OF ALL PARTS SHOWN IN FIGS.T4250-51A0 TO T4250-58A0.

-1шт.

|1

363-N90-3121

SWEEPER ASS'Y,(IRON WHEEL TYPE)

SN: 10001-UP

1шт.

|1

363-Z56-3520

SWEEPER ASS'Y,(TIRE TYPE)

SN: 10001-UP

1шт.

|$$6

THESE ASSEMBLIES CONSIST OF ALL PARTS SHOWN IN FIGS.T4250-51A0 TO T4250-58A0.

-1шт.

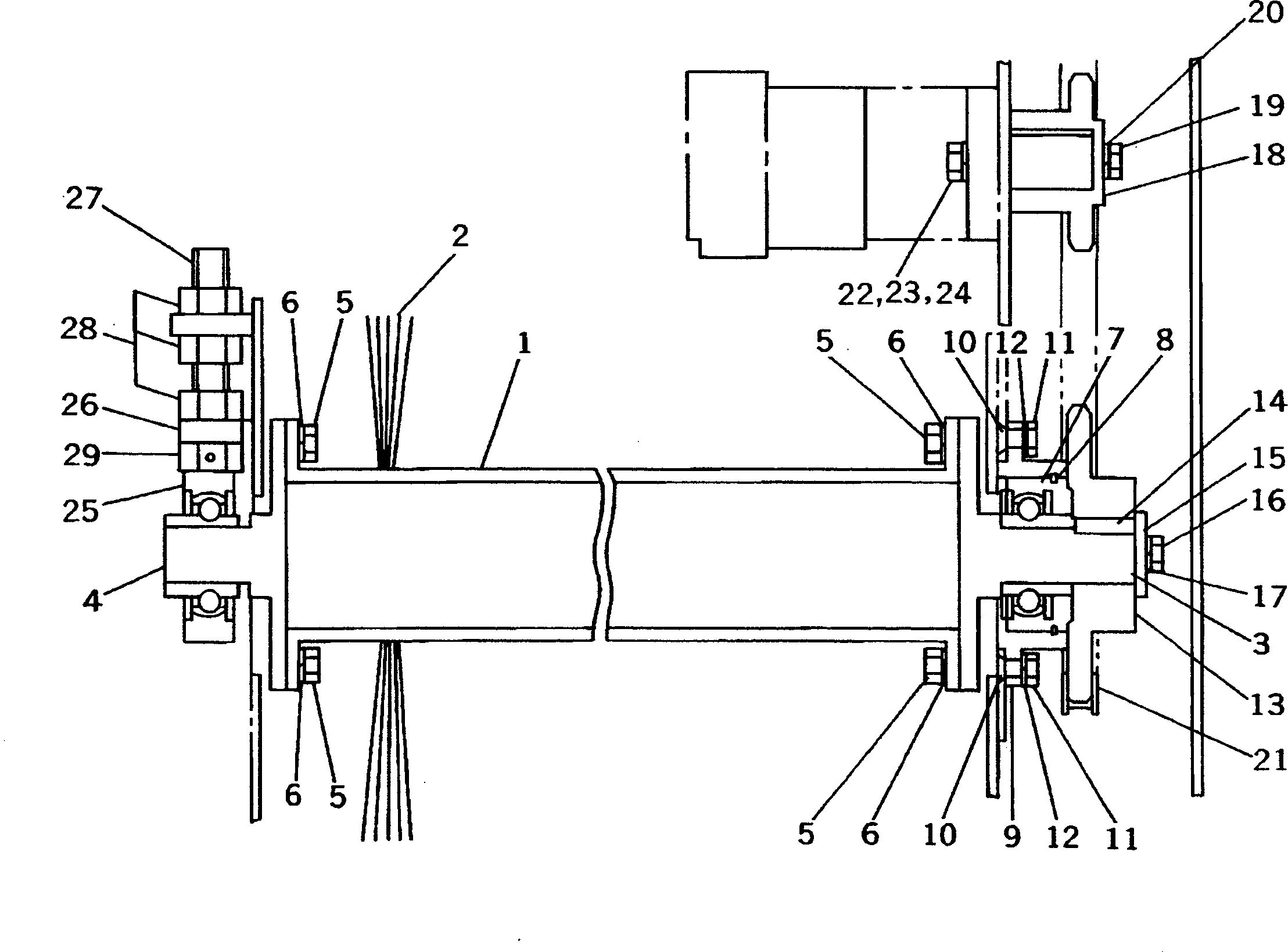
|1

362-Z56-4250

BRUSH ASS'Y,MAIN

SN: 10001-UP

1шт.

1

0

CORE,BRUSH

SN: 10001-UP

1шт.

2

0

BRUSH

SN: 10001-UP

1шт.

3

362-Z56-4340

SHAFT,END

SN: 10001-UP

1шт.

4

362-Z56-4240

SHAFT,END

SN: 10001-UP

1шт.

5

01050-51225

BOLT

SN: 10001-UP

8шт.

6

01602-21236

WASHER,SPRING

SN: 10001-UP

8шт.

7

362-Z56-4380

BLOCK,PILLOW

SN: 10001-UP

1шт.

8

362-Z56-4370

RING,SNAP

SN: 10001-UP

1шт.

9

362-Z56-4280

CASE,PILLOW

SN: 10001-UP

1шт.

10

362-Z56-4290

BOLT

SN: 10001-UP

6шт.

11

01580-11008

NUT

SN: 10001-UP

6шт.

12

01602-21030

WASHER,SPRING

SN: 10001-UP

6шт.

13

362-Z56-4330

SPROCKET

SN: 10001-UP

1шт.

14

362-Z56-4360

KEY

SN: 10001-UP

1шт.

15

362-Z56-4350

WASHER

SN: 10001-UP

1шт.

16

01050-51225

BOLT

SN: 10001-UP

1шт.

17

01602-21236

WASHER,SPRING

SN: 10001-UP

1шт.

18

362-Z56-4390

SPROCKET

SN: 10001-UP

1шт.

19

01010-81025

BOLT

SN: 10001-UP

1шт.

20

01602-21030

WASHER,SPRING

SN: 10001-UP

1шт.

21

362-Z56-4310

CHAIN ASS'Y

SN: 10001-UP

1шт.

|21

362-Z56-4320

LINK ASS'Y,JOINT

SN: 10001-UP

1шт.

22

01050-81240

BOLT

SN: 10001-UP

2шт.

23

01582-11210

NUT

SN: 10001-UP

2шт.

24

01602-21236

WASHER,SPRING

SN: 10001-UP

2шт.

25

362-Z56-4230

BLOCK,PILLOW

SN: 10001-UP

1шт.

26

362-Z56-4410

FOLOW SET

SN: 10001-UP

1шт.

27

362-Z56-4210

SCREW,ADJUSTING

SN: 10001-UP

1шт.

28

01580-12016

NUT

SN: 10001-UP

3шт.

29

362-Z56-4220

NUT

SN: 10001-UP

1шт.

Выбрано товаров: 37