Запчасти Komatsu WA400-1 ПОЛ ЧАСТИ КОРПУСА (БЕЗ КАБИНЫ) РАМА И ЧАСТИ КОРПУСА

Схема запчастей Komatsu WA400-1 - ПОЛ ЧАСТИ КОРПУСА (БЕЗ КАБИНЫ) РАМА И ЧАСТИ КОРПУСА
FIT
1:1
100%

Артикул

Название

Примечание

Количество

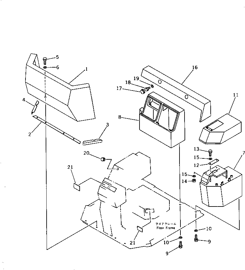
1

41B-54-16111

GUARD

SN: 10001-UP

1шт.

2

423-54-12670

PLATE

SN: 10001-UP

1шт.

3

423-54-12650

COVER,L.H.

SN: 10001-UP

1шт.

4

423-54-12660

COVER,R.H.

SN: 10001-UP

1шт.

5

01010-51220

BOLT

SN: 10001-UP

6шт.

6

01643-31232

WASHER

SN: 10001-UP

6шт.

7

424-54-12830

BOX

SN: 10001-UP

1шт.

8

424-54-12840

BOX

SN: 10001-10829

1шт.

8

424-54-12840

BOX,(FOR TBG/ABE SPEC.)

SN: 10001-10823

1шт.

9

01010-51225

BOLT

SN: 10830-UP

6шт.

9

01010-51235

BOLT

SN: 10001-10829

12шт.

10

01643-31232

WASHER

SN: 10830-UP

6шт.

10

01643-31232

WASHER

SN: 10001-10829

12шт.

11

423-973-1120

COVER

SN: 10001-10829

1шт.

12

424-54-12820

PLATE

SN: 10001-UP

1шт.

13

01010-51025

BOLT

SN: 10001-UP

2шт.

14

01580-11008

NUT

SN: 10001-UP

2шт.

15

01643-31032

WASHER

SN: 10001-UP

4шт.

16

424-54-17191

COVER

SN: 10001-UP

1шт.

17

09415-03614

CAP

SN: 10001-UP

2шт.

18

01010-51265

BOLT

SN: 10001-UP

2шт.

19

01643-31232

WASHER

SN: 10001-UP

2шт.

20

09415-01610

CAP

SN: 10001-UP

1шт.

21

424-09-12610

COVER

SN: 10001-UP

6шт.

Выбрано товаров: 0