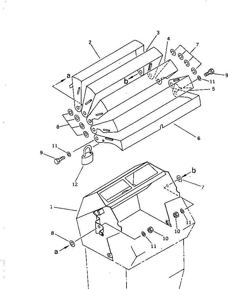
Запчасти Komatsu WA400-1 ПАНЕЛЬ ПРИБОРОВ COVER РАМА И ЧАСТИ КОРПУСА

Схема запчастей Komatsu WA400-1 - ПАНЕЛЬ ПРИБОРОВ COVER РАМА И ЧАСТИ КОРПУСА
FIT
1:1
100%

Артикул

Название

Примечание

Количество

1

419-U56-1190

COVER,(MODIFIED PARTS)

SN: 10001-UP

1шт.

2

419-U56-1110

COVER

SN: 10001-UP

1шт.

3

419-U56-1120

COVER

SN: 10001-UP

1шт.

4

419-U56-1130

COVER

SN: 10001-UP

1шт.

5

419-U56-1140

COVER

SN: 10001-UP

1шт.

6

419-U56-1150

COVER

SN: 10001-UP

1шт.

7

01603-01220

WASHER,SPRING

SN: 10001-UP

5шт.

8

01640-21223

WASHER

SN: 10001-UP

5шт.

9

01010-51250

BOLT

SN: 10001-UP

2шт.

10

01598-01214

NUT

SN: 10001-UP

2шт.

11

01643-31232

WASHER

SN: 10001-UP

4шт.

12

09460-00000

LOCK

SN: 10001-UP

1шт.

Выбрано товаров: 12