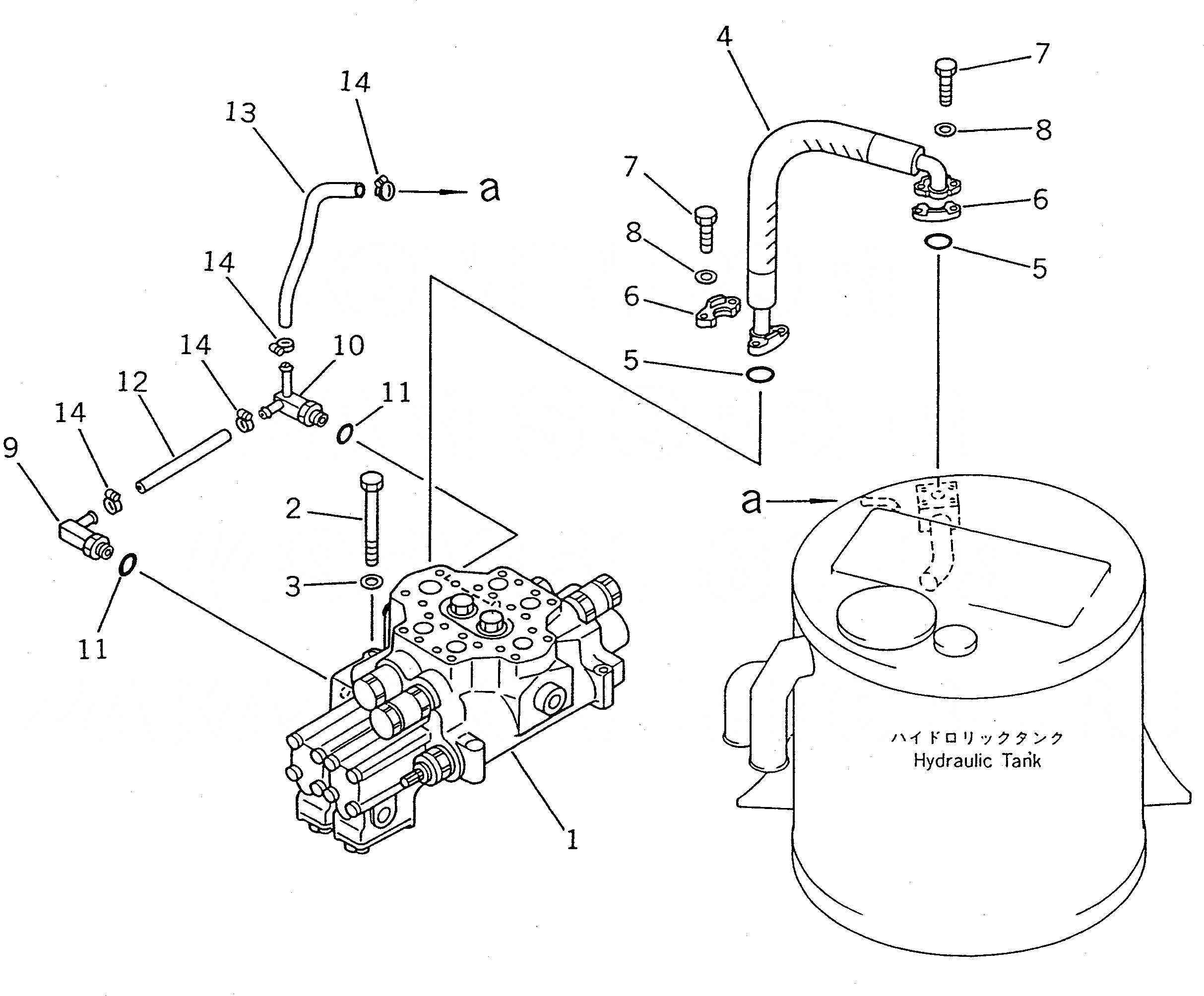
Запчасти Komatsu WA400-1 ГИДРОЛИНИЯ (УПРАВЛЯЮЩ. КЛАПАН - БАК) УПРАВЛ-Е РАБОЧИМ ОБОРУДОВАНИЕМ

Схема запчастей Komatsu WA400-1 - ГИДРОЛИНИЯ (УПРАВЛЯЮЩ. КЛАПАН - БАК) УПРАВЛ-Е РАБОЧИМ ОБОРУДОВАНИЕМ
FIT
1:1
100%

Артикул

Название

Примечание

Количество

1

700-92-15001

VALVE ASS'Y

SN: 10808-UP

1шт.

1

0

VALVE ASS'Y

SN: 10001-10807

1шт.

2

01010-31285

BOLT

SN: 10001-UP

3шт.

3

01643-31232

WASHER

SN: 10001-UP

3шт.

4

07298-01206

HOSE

SN: 10830-UP

1шт.

4

07298-01207

HOSE

SN: 10001-10829

1шт.

4

07298-01206

HOSE,(FOR TBG/ABE SPEC.)

SN: 10808-UP

1шт.

4

07298-01207

HOSE,(FOR TBG/ABE SPEC.)

SN: 10001-10807

1шт.

5

07000-03038

O-RING

SN: 10001-UP

2шт.

6

07371-31255

FLANGE,SPLIT

SN: 10001-UP

4шт.

7

07372-21035

BOLT

SN: 10001-UP

8шт.

8

01643-51032

WASHER

SN: 10001-UP

8шт.

9

424-62-14260

ELBOW

SN: 10001-UP

1шт.

10

424-62-14250

ELBOW

SN: 10001-UP

1шт.

11

07002-12434

O-RING

SN: 10001-UP

2шт.

12

07260-20920

HOSE

SN: 10001-UP

1шт.

13

07260-20956

HOSE

SN: 10001-UP

1шт.

14

07281-00197

CLAMP

SN: 10001-UP

4шт.

Выбрано товаров: 18