Запчасти Komatsu WA400-1 КОЛЕНЧАТЫЙ РЫЧАГ РАБОЧЕЕ ОБОРУДОВАНИЕ

Схема запчастей Komatsu WA400-1 - КОЛЕНЧАТЫЙ РЫЧАГ РАБОЧЕЕ ОБОРУДОВАНИЕ
FIT
1:1
100%

Артикул

Название

Примечание

Количество

|$0

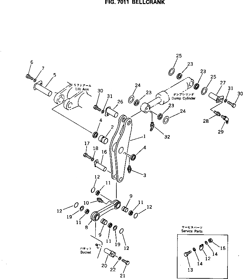
424-70-00022

BELLCRANK ASS'Y

SN: 10719-UP

1шт.

|$1

0

BELLCRANK ASS'Y

SN: 10001-10718

1шт.

|$2

0

BELLCRANK ASS'Y

SN: (10001-10599)

1шт.

1

0

BELLCRANK

SN: 10719-UP

1шт.

1

0

BELLCRANK

SN: 10600-10718

1шт.

1

0

BELLCRANK

SN: 10001-10599

1шт.

2

424-70-11860

BUSHING

SN: 10001-UP

1шт.

3

07020-00000

FITTING,GREASE

SN: 10001-UP

1шт.

4

421-09-11350

SEAL,DUST

SN: 10001-UP

2шт.

5

424-70-11960

PIN

SN: 10001-UP

1шт.

6

01010-51630

BOLT

SN: 10001-UP

1шт.

7

421-70-11280

WASHER

SN: 10001-UP

1шт.

|$12

424-70-00031

LINK ASS'Y

SN: 10685-UP

1шт.

|$13

0

LINK ASS'Y

SN: 10001-10684

1шт.

8

0

LINK

SN: 10685-UP

1шт.

8

0

LINK

SN: 10001-10684

1шт.

9

424-70-11820

BUSHING

SN: 10001-UP

2шт.

10

07020-00000

FITTING,GREASE

SN: 10001-UP

2шт.

11

424-09-12320

SEAL,DUST

SN: 10001-UP

4шт.

12

0

O-RING

SN: 10001-UP

4шт.

12

421-70-11410

O-RING,(SERVICE PARTS)

SN: 10001-UP

4шт.

13

236-46-13620

BOLT,(SERVICE PARTS)

SN: 10001-UP

4шт.

14

01641-20608

WASHER,(SERVICE PARTS)

SN: 10001-UP

8шт.

15

426-09-11130

NUT,(SERVICE PARTS)

SN: 10001-UP

4шт.

16

423-70-11710

SHIM, 1.5MM

SN: 10001-UP

3шт.

16

423-70-11810

SHIM, 3.0MM

SN: 10001-UP

3шт.

17

424-70-11922

PIN

SN: 10824-UP

2шт.

17

0

PIN

SN: 10549-10823

2шт.

17

0

PIN

SN: 10001-10548

2шт.

18

01010-51630

BOLT

SN: 10001-UP

2шт.

19

421-70-11280

WASHER

SN: 10001-UP

2шт.

20

421-09-11320

SEAL,DUST

SN: 10001-UP

4шт.

21

423-70-11750

SHIM, 1.5MM

SN: 10001-UP

1шт.

21

423-70-11850

SHIM, 3.0MM

SN: 10001-UP

1шт.

22

424-70-11950

PIN

SN: 10001-UP

1шт.

23

424-70-11940

PIN

SN: 10001-UP

1шт.

24

423-70-11160

NIPPLE

SN: 10001-UP

1шт.

25

07020-00900

FITTING,GREASE

SN: 10001-UP

1шт.

26

01010-51630

BOLT

SN: 10001-UP

2шт.

27

421-70-11280

WASHER

SN: 10001-UP

2шт.

28

419-09-11250

FITTING,GREASE

SN: 10001-UP

1шт.

Выбрано товаров: 41