Запчасти Komatsu WA400-1 ROCK КОВШ¤ V-ОБРАЗН КРОМКА .M РАБОЧЕЕ ОБОРУДОВАНИЕ

Схема запчастей Komatsu WA400-1 - ROCK КОВШ¤ V-ОБРАЗН КРОМКА .M РАБОЧЕЕ ОБОРУДОВАНИЕ
FIT
1:1
100%

Артикул

Название

Примечание

Количество

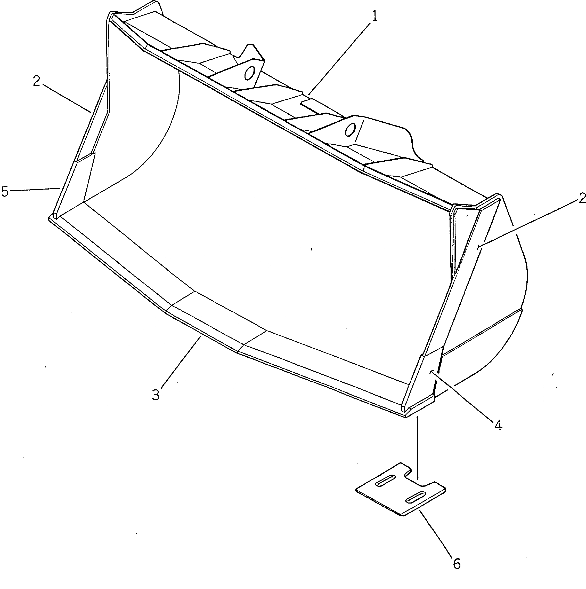
1

423-809-1110

BUCKET ASS'Y

SN: 10001-UP

1шт.

2

423-809-1140

PLATE (WELDED)

SN: 10001-UP

2шт.

3

423-809-1120

EDGE (WELDED)

SN: 10001-UP

1шт.

4

423-809-1150

PLATE,L.H. (WELDED)

SN: 10001-UP

1шт.

5

423-809-1160

PLATE,R.H. (WELDED)

SN: 10001-UP

1шт.

6

423-70-12140

PLATE (WELDED)

SN: 10001-UP

2шт.

Выбрано товаров: 6