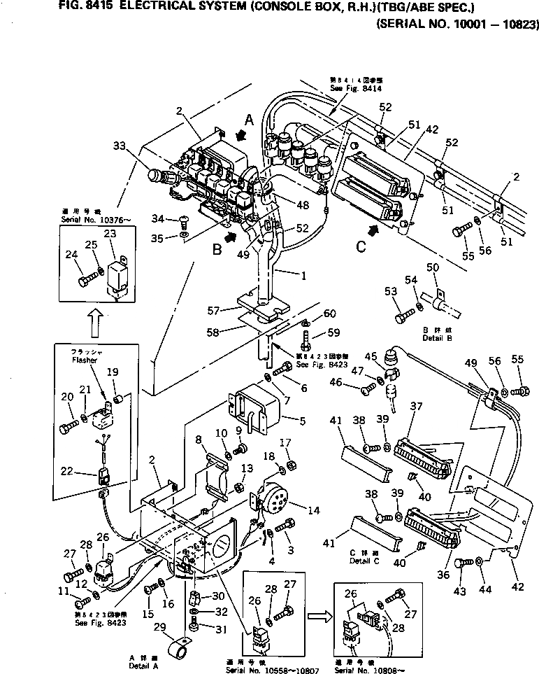
Запчасти Komatsu WA400-1 ЭЛЕКТРИКА (КОНСОЛЬН. БЛОК¤ ПРАВ.) (TBG/ABE СПЕЦ-Я.)(№-8) СПЕЦ. APPLICATION ЧАСТИ

Схема запчастей Komatsu WA400-1 - ЭЛЕКТРИКА (КОНСОЛЬН. БЛОК¤ ПРАВ.) (TBG/ABE СПЕЦ-Я.)(№-8) СПЕЦ. APPLICATION ЧАСТИ
FIT
1:1
100%

Артикул

Название

Примечание

Количество

1

423-06-12631

WIRE ASS'Y

SN: 10001-10823

1шт.

2

424-06-11730

BOX

SN: 10558-10823

1шт.

2

421-06-11731

BOX

SN: 10001-10557

1шт.

3

01010-50620

BOLT

SN: 10001-@

4шт.

4

01643-30623

WASHER

SN: 10001-@

4шт.

5

7861-72-3000

CONTROLLER ASS'Y

SN: 10669-10808

1шт.

5

0

CONTROLLER ASS'Y

SN: 10001-10668

1шт.

6

01010-50616

BOLT

SN: 10001-10808

4шт.

7

01643-30623

WASHER

SN: 10001-10808

4шт.

8

423-06-11211

TIMER

SN: .-10823

1шт.

8

0

TIMER

SN: 10001-.

1шт.

9

01235-40410

SCREW

SN: 10001-10823

1шт.

10

01641-20405

WASHER

SN: 10001-10823

1шт.

11

01220-40520

SCREW

SN: 10001-10823

1шт.

12

01641-20508

WASHER

SN: 10001-10823

1шт.

13

01580-10504

NUT

SN: 10001-10823

1шт.

14

08166-02480

BUZZER

SN: 10001-10823

1шт.

15

01220-40616

SCREW

SN: 10001-10823

2шт.

16

01640-20610

WASHER

SN: 10001-10823

2шт.

17

01580-10605

NUT

SN: 10001-10823

2шт.

18

01602-20619

WASHER,SPRING

SN: 10001-10823

2шт.

19

424-09-12640

SPACER

SN: 10001-10375

1шт.

20

01010-50625

BOLT

SN: 10001-10375

1шт.

21

01643-30623

WASHER

SN: 10001-10375

1шт.

22

419-06-12680

WIRE ASS'Y

SN: 10001-10375

1шт.

23

22W-06-13251

FLASHER

SN: 10376-@

1шт.

24

01010-50612

BOLT

SN: 10376-@

1шт.

25

01643-30623

WASHER

SN: 10376-@

1шт.

26

287-06-16410

RELAY

SN: 10808-@

8шт.

26

287-06-16410

RELAY

SN: 10558-10807

7шт.

26

287-06-16410

RELAY

SN: 10001-10557

6шт.

27

01010-50612

BOLT

SN: 10558-@

7шт.

27

01010-50610

BOLT

SN: 10001-10557

6шт.

28

01643-30623

WASHER

SN: 10558-@

7шт.

28

01643-30623

WASHER

SN: 10001-10557

6шт.

29

423-06-12640

CLIP

SN: 10001-@

1шт.

30

283-06-17130

CLIP

SN: 10001-@

3шт.

31

01220-40608

SCREW

SN: 10001-@

3шт.

32

01641-20608

WASHER

SN: 10001-@

3шт.

33

195-822-6151

LIGHTER

SN: 10001-@

1шт.

34

01220-40410

SCREW

SN: 10001-@

2шт.

35

01641-20405

WASHER

SN: 10001-@

2шт.

36

424-06-12430

BOX ASS'Y,FUSE

SN: 10001-@

1шт.

37

424-06-12420

BOX ASS'Y,FUSE

SN: 10001-@

1шт.

38

01220-40516

SCREW

SN: 10001-@

4шт.

39

01641-20508

WASHER

SN: 10001-@

4шт.

40

283-06-16190

FUSE, 10A

SN: 10001-@

24шт.

40

22W-06-13160

FUSE, 20A

SN: 10001-@

6шт.

41

283-06-16120

COVER

SN: 10001-@

2шт.

42

424-06-12410

BRACKET

SN: 10001-@

1шт.

43

01010-50812

BOLT

SN: 10001-@

4шт.

44

01643-30823

WASHER

SN: 10001-@

4шт.

45

421-06-12610

CLIP

SN: 10001-@

5шт.

46

01220-40608

SCREW

SN: 10001-@

5шт.

47

01641-20608

WASHER

SN: 10001-@

5шт.

48

08037-05016

GROMMET

SN: 10001-@

1шт.

49

08036-03014

CLIP

SN: 10001-@

2шт.

50

08036-01814

CLIP

SN: 10001-@

1шт.

51

08036-01814

CLIP

SN: 10001-@

3шт.

52

08036-11214

CLIP

SN: 10001-@

4шт.

53

01010-51220

BOLT

SN: 10001-@

2шт.

54

01643-31232

WASHER

SN: 10001-@

2шт.

55

01010-51020

BOLT

SN: 10001-@

4шт.

56

01643-31032

WASHER

SN: 10001-@

4шт.

57

419-06-12230

SEAT

SN: 10001-@

1шт.

58

419-06-12220

PLATE

SN: 10001-@

1шт.

59

01010-50616

BOLT

SN: 10001-@

2шт.

60

01643-30623

WASHER

SN: 10001-@

2шт.

Выбрано товаров: 68