Запчасти Komatsu WA400-1 ТОРМОЗ. МАСЛОПРОВОДЯЩАЯ ЛИНИЯ (БАК - КАМЕРА /)(№-) ВЕДУЩ. ВАЛ¤ ДИФФЕРЕНЦ. И КОЛЕСА

Схема запчастей Komatsu WA400-1 - ТОРМОЗ. МАСЛОПРОВОДЯЩАЯ ЛИНИЯ (БАК - КАМЕРА /)(№-) ВЕДУЩ. ВАЛ¤ ДИФФЕРЕНЦ. И КОЛЕСА
FIT
1:1
100%

Артикул

Название

Примечание

Количество

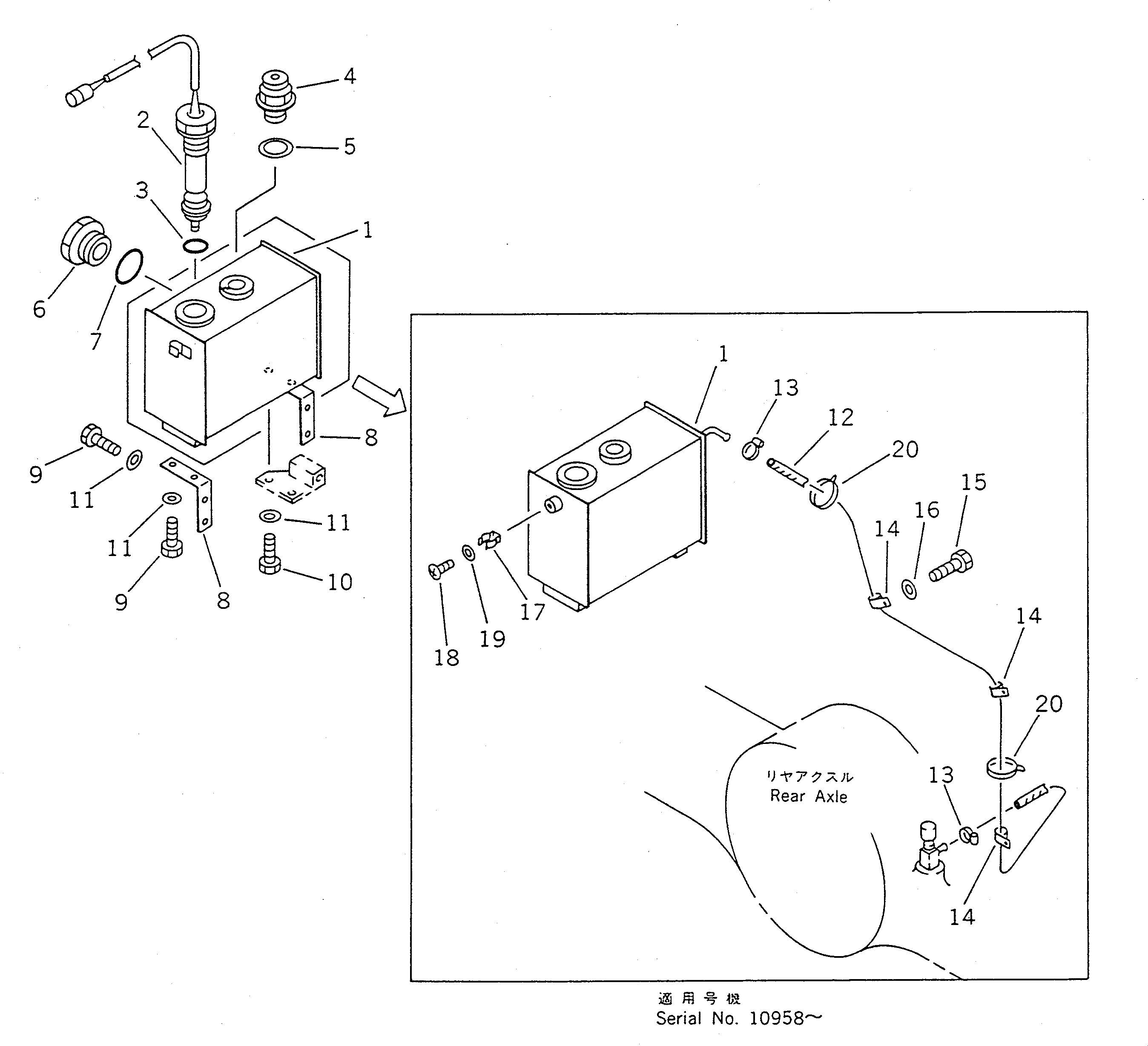
1

421-35-11682

TANK,BRAKE OIL

SN: 10958-11013

1шт.

|1

421-35-11681

TANK,BRAKE OIL

SN: 10001-10957

1шт.

2

7861-91-4510

SENSOR,BRAKE OIL LEVEL

SN: 10612-11013

1шт.

|2

0

SENSOR,BRAKE OIL LEVEL

SN: 10001-10611

1шт.

3

07002-23634

O-RING

SN: 10001-11013

1шт.

4

07030-03034

BREATHER

SN: 10001-11013

1шт.

5

07003-13036

GASKET

SN: 10001-11013

1шт.

6

421-60-11622

GAUGE,SIGHT

SN: 10990-11013

1шт.

|6

421-60-11621

GAUGE,SIGHT

SN: 10588-10989

1шт.

|6

0

GAUGE,SIGHT

SN: 10001-10587

1шт.

7

07002-05234

O-RING

SN: 10001-11013

1шт.

8

424-35-11940

PLATE

SN: 10001-11013

2шт.

9

01010-51225

BOLT

SN: 10001-11013

6шт.

10

01010-51230

BOLT

SN: 10001-11013

2шт.

11

01643-31232

WASHER

SN: 10001-11013

8шт.

12

07261-20922

HOSE

SN: 10958-@

1шт.

13

07281-00197

CLAMP

SN: 10958-@

2шт.

14

424-09-12410

CLIP

SN: 10958-11013

3шт.

15

01010-51220

BOLT

SN: 10958-11013

3шт.

16

01643-31232

WASHER

SN: 10958-11013

3шт.

17

283-06-17130

CLIP

SN: 10958-@

1шт.

18

01220-40608

SCREW

SN: 10958-@

1шт.

19

01641-20608

WASHER

SN: 10958-@

1шт.

20

08034-00823

BAND

SN: 10958-@

2шт.

Выбрано товаров: 24