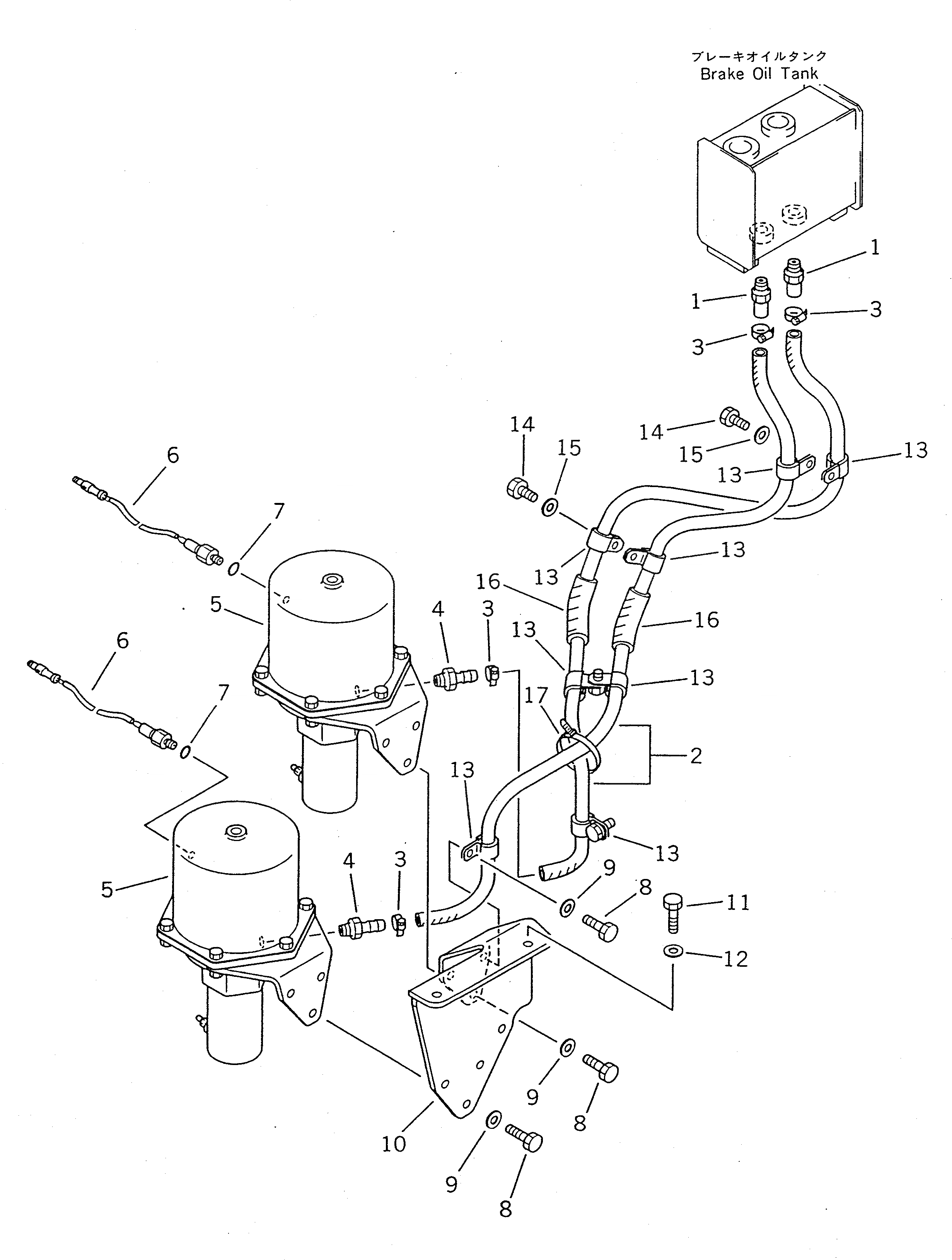
Запчасти Komatsu WA400-1 ТОРМОЗ. МАСЛОПРОВОДЯЩАЯ ЛИНИЯ (БАК - КАМЕРА /)(№-) ВЕДУЩ. ВАЛ¤ ДИФФЕРЕНЦ. И КОЛЕСА

Схема запчастей Komatsu WA400-1 - ТОРМОЗ. МАСЛОПРОВОДЯЩАЯ ЛИНИЯ (БАК - КАМЕРА /)(№-) ВЕДУЩ. ВАЛ¤ ДИФФЕРЕНЦ. И КОЛЕСА
FIT
1:1
100%

Артикул

Название

Примечание

Количество

1

6138-55-7610

NIPPLE

SN: 10001-11013

2шт.

2

07261-20916

HOSE

SN: 10001-11013

2шт.

3

07281-00197

CLAMP

SN: 10001-@

4шт.

4

175-04-25240

SLEEVE

SN: 10001-@

2шт.

5

424-35-15402

BRAKE CHAMBER ASS'Y

SN: 10814-@

2шт.

|5

0

BRAKE CHAMBER ASS'Y

SN: 10001-10813

2шт.

6

7861-99-1600

SENSOR,OVERSTROKE

SN: 10001-@

2шт.

7

07002-02034

O-RING

SN: 10001-@

2шт.

8

01010-51235

BOLT

SN: 10001-@

7шт.

9

01643-31232

WASHER

SN: 10001-@

7шт.

10

424-35-15910

BRACKET

SN: 10001-@

1шт.

11

01010-51235

BOLT

SN: 10001-@

3шт.

12

01643-31232

WASHER

SN: 10001-@

3шт.

13

424-09-12410

CLIP

SN: 10001-11013

8шт.

14

01010-51220

BOLT

SN: 10001-11013

4шт.

15

01643-31232

WASHER

SN: 10001-11013

4шт.

16

424-09-12630

INSULATOR

SN: 10001-@

2шт.

17

08034-00519

BAND

SN: 10001-@

1шт.

Выбрано товаров: 18