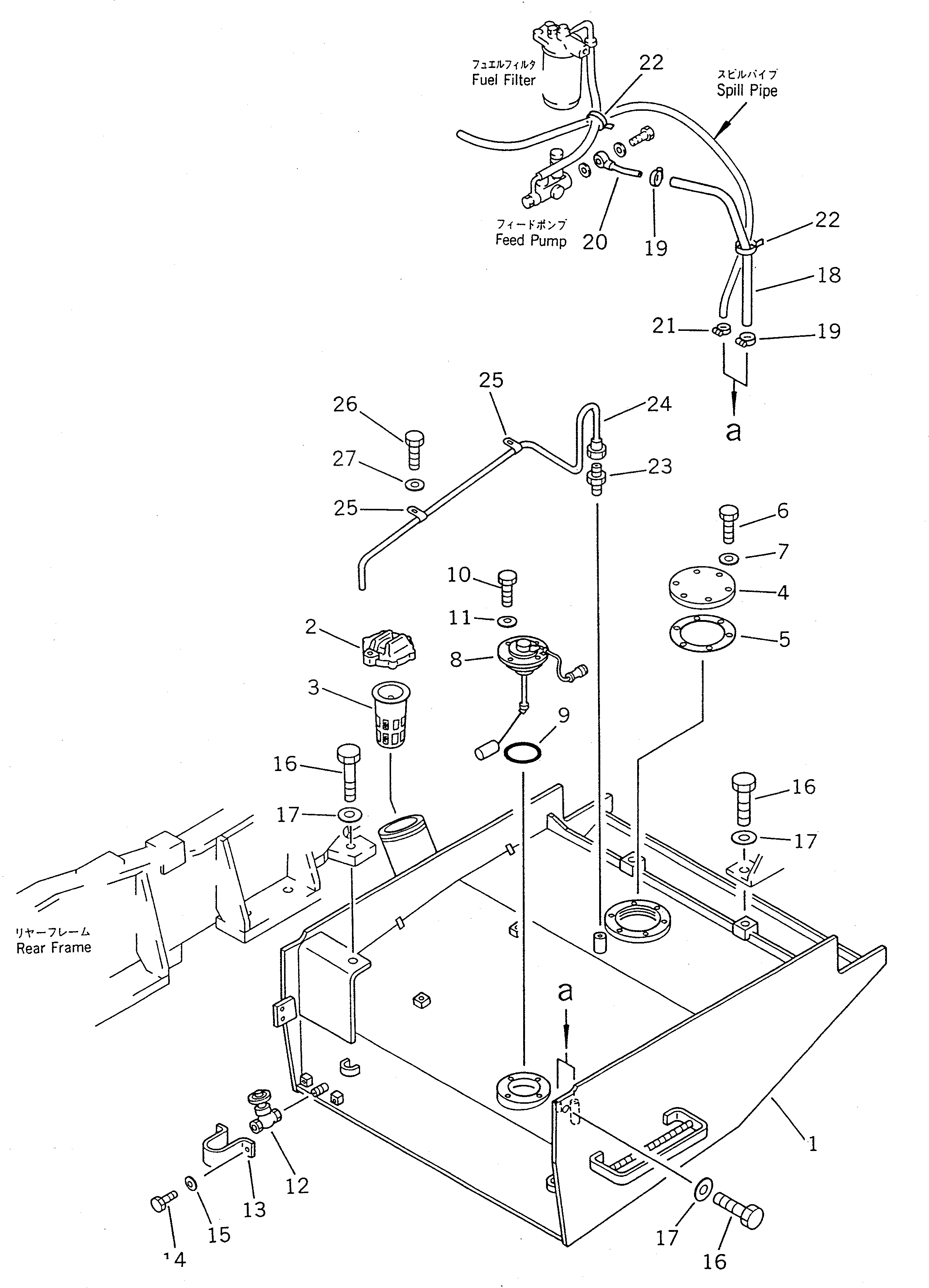
Запчасти Komatsu WA400-1 ТОПЛ. БАК И ТОПЛИВОПРОВОД(№-9999) КОМПОНЕНТЫ ДВИГАТЕЛЯ И ЭЛЕКТРИКА

Схема запчастей Komatsu WA400-1 - ТОПЛ. БАК И ТОПЛИВОПРОВОД(№-9999) КОМПОНЕНТЫ ДВИГАТЕЛЯ И ЭЛЕКТРИКА
FIT
1:1
100%

Артикул

Название

Примечание

Количество

1

424-04-11311

TANK

SN: 10001-19999

1шт.

2

19M-04-11220

CAP

SN: 10001-19999

1шт.

|2

07050-21202

GASKET

SN: 10001-19999

1шт.

3

07056-18416

STRAINER

SN: 10001-@

1шт.

4

421-04-11181

COVER

SN: 10001-19999

1шт.

5

421-04-11191

GASKET

SN: 10001-19999

1шт.

6

01010-51025

BOLT

SN: 10001-19999

6шт.

7

01643-31032

WASHER

SN: 10001-19999

6шт.

8

7861-91-4720

SENSOR,FUEL LEVEL

SN: 10316-19999

1шт.

|8

0

SENSOR,FUEL LEVEL

SN: 10001-10315

1шт.

9

07000-02085

O-RING

SN: 10001-@

1шт.

10

01010-51016

BOLT

SN: 10352-19999

4шт.

|10

0

BOLT

SN: 10001-10351

4шт.

11

01643-31032

WASHER

SN: 10001-19999

4шт.

12

416-04-10130

VALVE

SN: 11023-19999

1шт.

|12

0

VALVE

SN: 10001-11022

1шт.

13

421-04-11170

COVER

SN: 10001-19999

1шт.

14

01010-50820

BOLT

SN: 10001-19999

2шт.

15

01643-30823

WASHER

SN: 10001-19999

2шт.

16

01010-32450

BOLT

SN: 10001-19999

4шт.

|16

0

BOLT

SN: (10001-10267)

4шт.

17

01643-32460

WASHER

SN: 10001-19999

4шт.

18

07270-21048

TUBE

SN: 10001-@

1шт.

19

07281-00197

CLAMP

SN: 10001-@

2шт.

20

424-04-11130

TUBE

SN: 10001-@

1шт.

21

07280-00910

CLAMP

SN: 10001-@

1шт.

22

08034-00414

BAND

SN: 10001-@

6шт.

23

07214-51013

CONNECTOR

SN: 10001-@

1шт.

24

424-04-11110

TUBE

SN: 10001-19999

1шт.

25

424-04-11120

CLIP

SN: 10001-@

2шт.

26

01010-51020

BOLT

SN: 10001-19999

2шт.

27

01643-31032

WASHER

SN: 10001-19999

2шт.

Выбрано товаров: 0