Запчасти Komatsu WA400-1 ГИДРОЛИНИЯ ЭКСТРЕННОГО УПРАВЛЕНИЯ (/)(№-) РУЛЕВ. УПРАВЛЕНИЕ И СИСТЕМА УПРАВЛЕНИЯ

Схема запчастей Komatsu WA400-1 - ГИДРОЛИНИЯ ЭКСТРЕННОГО УПРАВЛЕНИЯ (/)(№-) РУЛЕВ. УПРАВЛЕНИЕ И СИСТЕМА УПРАВЛЕНИЯ
FIT
1:1
100%

Артикул

Название

Примечание

Количество

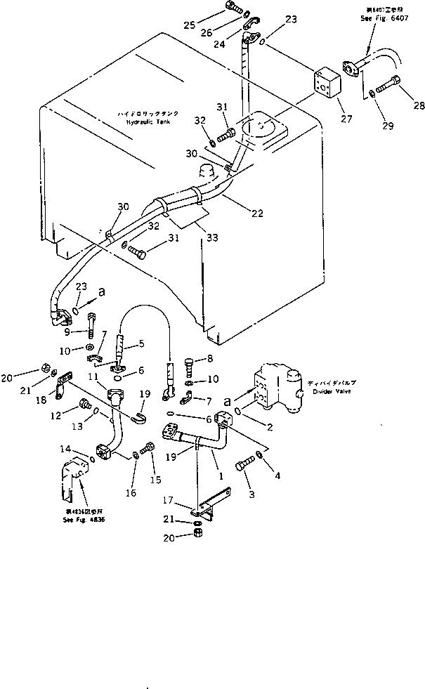
1

424-875-1211

TUBE

SN: 20001-UP

1шт.

2

07000-13035

O-RING

SN: 20001-UP

1шт.

3

01010-51060

BOLT

SN: 20001-UP

4шт.

4

01643-51032

WASHER

SN: 20001-UP

4шт.

5

07089-01007

HOSE

SN: 20001-UP

1шт.

6

07000-13032

O-RING

SN: 20001-UP

2шт.

7

07371-31049

FLANGE,SPLIT

SN: 20001-UP

4шт.

8

07372-21035

BOLT

SN: 20001-UP

4шт.

9

01011-51000

BOLT

SN: 20001-UP

4шт.

10

01643-51032

WASHER

SN: 20001-UP

8шт.

11

423-875-1122

TUBE

SN: 20001-UP

1шт.

12

07040-11409

PLUG

SN: 20001-UP

1шт.

13

07002-11423

O-RING

SN: 20001-UP

1шт.

14

07000-13035

O-RING

SN: 20001-UP

1шт.

15

01010-51045

BOLT

SN: 20001-UP

4шт.

16

01643-31032

WASHER

SN: 20001-UP

4шт.

17

423-875-1191

BRACKET

SN: 20001-UP

1шт.

18

424-875-1351

PLATE

SN: 20001-UP

1шт.

19

07283-33442

CLIP

SN: 20001-UP

2шт.

20

01599-01011

NUT

SN: 20001-UP

4шт.

21

01643-31032

WASHER

SN: 20001-UP

4шт.

22

423-875-1290

HOSE

SN: 20001-UP

1шт.

23

07000-03032

O-RING

SN: 20001-UP

2шт.

24

07371-31049

FLANGE,SPLIT

SN: 20001-UP

4шт.

25

07372-21035

BOLT

SN: 20001-UP

8шт.

26

01643-51032

WASHER

SN: 20001-UP

8шт.

27

423-875-1280

BLOCK

SN: 20001-UP

1шт.

28

01011-51010

BOLT

SN: 20001-UP

4шт.

29

01643-51032

WASHER

SN: 20001-UP

4шт.

30

421-16-11660

CLIP

SN: 20001-UP

2шт.

31

01010-51220

BOLT

SN: 20001-UP

2шт.

32

01643-31232

WASHER

SN: 20001-UP

2шт.

33

08034-00834

BAND

SN: 20001-UP

2шт.

Выбрано товаров: 33