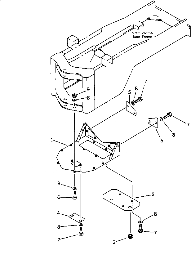
Запчасти Komatsu WA400-1 НИЖН. ЗАЩИТА(№-) РАМА И ЧАСТИ КОРПУСА

Схема запчастей Komatsu WA400-1 - НИЖН. ЗАЩИТА(№-) РАМА И ЧАСТИ КОРПУСА
FIT
1:1
100%

Артикул

Название

Примечание

Количество

1

424-971-1140

GUARD,UNDER

SN: 20001-UP

1шт.

2

423-971-1120

COVER

SN: 20001-UP

1шт.

3

09415-03614

CAP

SN: 20001-UP

1шт.

4

418-60-15180

PLATE

SN: 20001-UP

1шт.

5

423-971-1130

COVER

SN: 20001-UP

2шт.

6

01010-51250

BOLT

SN: 20001-UP

10шт.

7

01010-51235

BOLT

SN: 20001-UP

10шт.

8

01643-31232

WASHER

SN: 20001-UP

30шт.

9

01580-11210

NUT

SN: 20001-UP

10шт.

Выбрано товаров: 9