Запчасти Komatsu WA400-1 АККУМУЛЯТОР И КОРПУС АККУМУЛЯТОРА(№-9999) КОМПОНЕНТЫ ДВИГАТЕЛЯ И ЭЛЕКТРИКА

Схема запчастей Komatsu WA400-1 - АККУМУЛЯТОР И КОРПУС АККУМУЛЯТОРА(№-9999) КОМПОНЕНТЫ ДВИГАТЕЛЯ И ЭЛЕКТРИКА
FIT
1:1
100%

Артикул

Название

Примечание

Количество

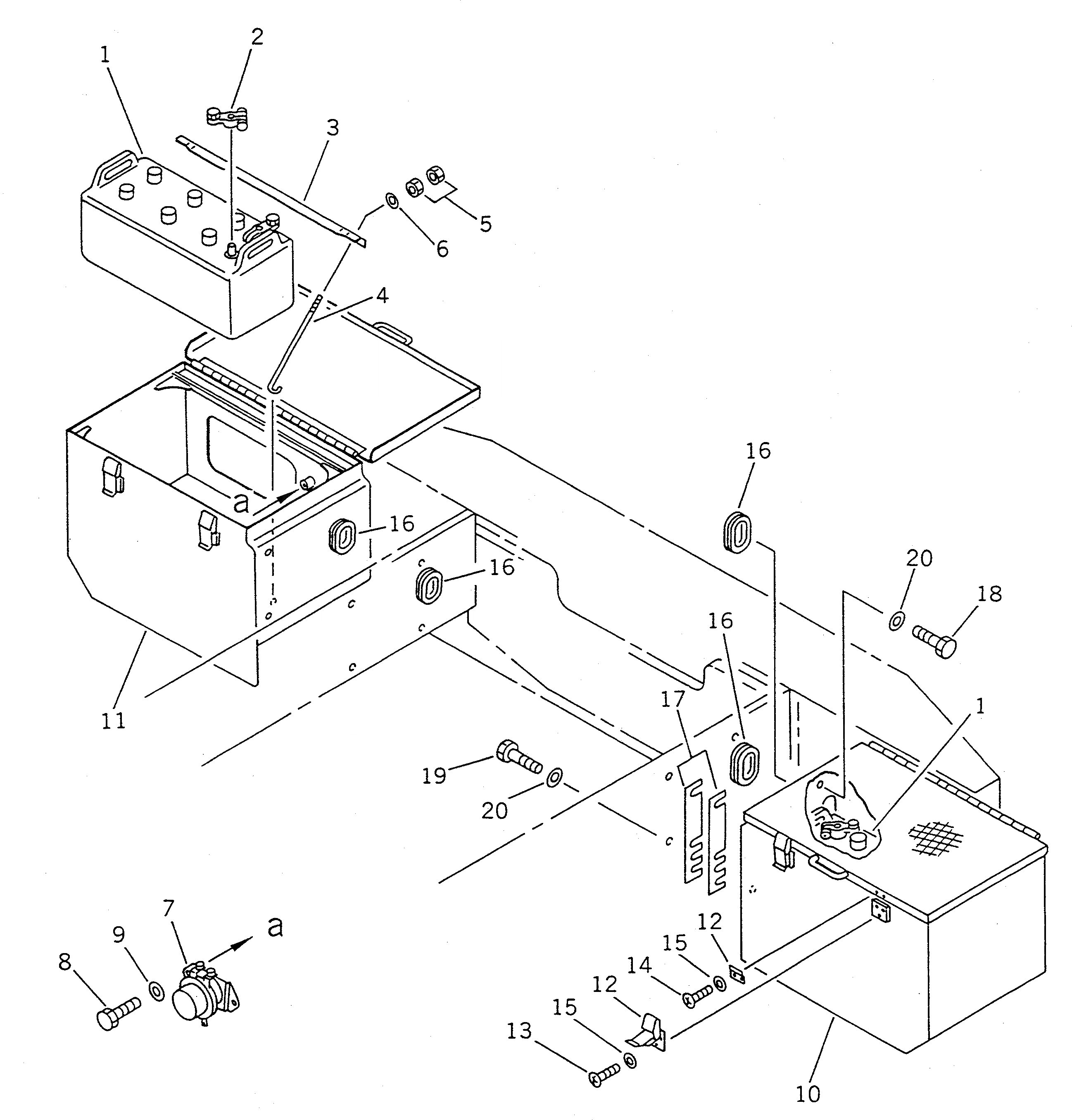
1

08000-02215

BATTERY (145G51)

SN: 10001-@

2шт.

|1

6995-81-3260

BATTERY (195G51)

SN: 10001-@

2шт.

2

08000-00000

TERMINAL¤ (+)

SN: 10001-@

2шт.

|2

08000-00001

TERMINAL¤ (-)

SN: 10001-@

2шт.

3

421-06-11221

HOLDER

SN: 10001-@

2шт.

4

113-06-31120

BOLT

SN: 10001-@

4шт.

5

01580-11008

NUT

SN: 10001-@

8шт.

6

01643-31032

WASHER

SN: 10001-@

4шт.

7

421-06-11930

RELAY,BATTERY

SN: 10001-@

1шт.

|7

01010-50825

BOLT

SN: 10001-@

2шт.

|7

01220-40408

SCREW

SN: 10001-@

2шт.

|7

01601-20410

WASHER,SPRING

SN: 10001-@

2шт.

|7

01643-50823

WASHER

SN: 10001-@

2шт.

8

01010-50825

BOLT

SN: 10001-19999

2шт.

9

01643-30823

WASHER

SN: 10001-19999

2шт.

10

424-06-11411

BOX,L.H.

SN: 10001-19999

1шт.

11

424-06-11421

BOX,R.H.

SN: 10001-19999

1шт.

12

421-09-12321

HOLDER

SN: 11099-19999

4шт.

|12

0

HOLDER

SN: 10149-11098

4шт.

|12

0

HOLDER

SN: 10001-10148

4шт.

13

01220-40408

SCREW

SN: 10001-19999

12шт.

14

01220-40410

SCREW

SN: 10149-19999

8шт.

|14

01220-40408

SCREW

SN: 10001-10148

8шт.

15

01641-20405

WASHER

SN: 10001-19999

20шт.

16

426-09-11230

GROMMET

SN: 10001-19999

4шт.

17

423-06-11451

SHIM¤ 1.0MM

SN: 10197-19999

6шт.

|17

0

SHIM¤ 1.0MM

SN: 10001-10196

6шт.

18

01010-51645

BOLT

SN: 10001-19999

2шт.

19

01010-51660

BOLT

SN: 10001-19999

4шт.

20

01643-31645

WASHER

SN: 10001-19999

6шт.

Выбрано товаров: 30