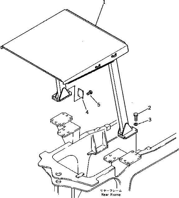
Запчасти Komatsu WA400-1 ВЕРХН. ЗАЩИТА РАМА И ЧАСТИ КОРПУСА

Схема запчастей Komatsu WA400-1 - ВЕРХН. ЗАЩИТА РАМА И ЧАСТИ КОРПУСА
FIT
1:1
100%

Артикул

Название

Примечание

Количество

1

421-922-1112

HEAD

SN: .-UP

1шт.

|1

0

HEAD,GUARD

SN: 10001-.

1шт.

2

01010-52470

BOLT

SN: 10001-UP

8шт.

3

01643-32460

WASHER

SN: 10001-UP

8шт.

4

09660-20100

PLATE¤ SAFETY

SN: 10001-UP

1шт.

5

04418-13060

SCREW

SN: 10001-UP

4шт.

Выбрано товаров: 6