Запчасти Komatsu WA400-1 КАБИНА (/)(№-) РАМА И ЧАСТИ КОРПУСА

Схема запчастей Komatsu WA400-1 - КАБИНА (/)(№-) РАМА И ЧАСТИ КОРПУСА
FIT
1:1
100%

Артикул

Название

Примечание

Количество

|1

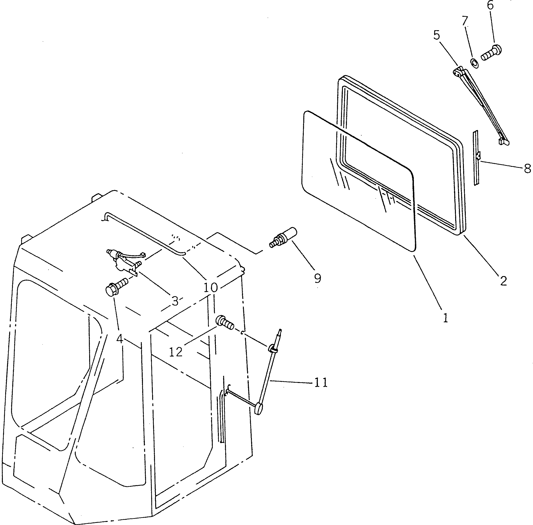
421-56-11000

OPERATOR'S CAB ASS'Y

SN: 20001-UP

1шт.

|$$2

THIS ASSEMBLY CONSISTS OF ALL PARTS SHOWN IN FIGS.5431A TO 5436A.

-1шт.

1

421-56-11150

GLASS

SN: 20001-UP

1шт.

2

421-56-11160

STRIP,WEATHER

SN: 20001-UP

1шт.

3

417-54-15142

MOTOR,WIPER

SN: 20013-UP

1шт.

|3

0

MOTOR,WIPER

SN: 20001-20012

1шт.

|$$7

(417-54-15142{425-54-15321)}

-1шт.

4

01435-00812

BOLT

SN: 20001-UP

2шт.

5

425-54-15321

ARM,WIPER

SN: 20013-UP

1шт.

|5

0

ARM,WIPER

SN: 10001-20012

1шт.

|$$11

(425-54-15321{417-54-15142)}

-1шт.

|5

01580-10605

NUT,(FOR WIPER ARM MOUNTING)

SN: .-UP

1шт.

6

01220-40516

SCREW

SN: 10001-UP

1шт.

7

01641-20508

WASHER

SN: 10001-UP

1шт.

8

425-54-15330

BLADE,WIPER

SN: 10001-UP

1шт.

9

419-923-1260

NOZZLE

SN: 20001-UP

1шт.

10

421-54-15440

HOSE

SN: 10001-UP

1шт.

11

201-06-21420

ANTENNA

SN: 10001-UP

1шт.

12

01220-40425

SCREW

SN: 20001-UP

3шт.

Выбрано товаров: 19