Запчасти Komatsu WA400-1 КАБИНА (/)(№-9999) РАМА И ЧАСТИ КОРПУСА

Схема запчастей Komatsu WA400-1 - КАБИНА (/)(№-9999) РАМА И ЧАСТИ КОРПУСА
FIT
1:1
100%

Артикул

Название

Примечание

Количество

|1

425-54-15022

OPERATOR'S CAB ASS'Y

SN: ..-19999

1шт.

|1

425-54-15021

OPERATOR'S CAB ASS'Y

SN: 10001-..

1шт.

|$$3

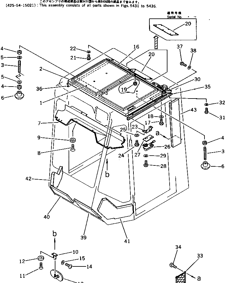
THESE ASSEMBLIES CONSIST OF ALL PARTS SHOWN IN FIGS.5431 TO 5436.

-1шт.

1

425-54-15271

INSULATOR

SN: 10001-19999

2шт.

2

425-54-15291

PAD

SN: 10001-19999

1шт.

3

425-54-15750

STUD

SN: 10001-19999

6шт.

4

01580-10504

NUT

SN: 10001-19999

8шт.

5

01641-20508

WASHER

SN: 10001-19999

4шт.

6

09416-10000

BUTTON

SN: 10001-19999

6шт.

7

425-54-15383

COVER

SN: 10001-19999

1шт.

8

01225-40512

SCREW

SN: 10001-19999

4шт.

9

421-54-15790

WASHER

SN: 10001-19999

4шт.

10

421-54-15591

STAY

SN: 10001-19999

2шт.

11

01220-40516

SCREW

SN: 10001-19999

4шт.

12

421-54-15790

WASHER

SN: 10001-19999

4шт.

13

421-54-15580

MIRROR,ROOM

SN: 10001-19999

2шт.

14

01220-40616

SCREW

SN: 10001-19999

2шт.

15

01602-20619

WASHER,SPRING

SN: 10001-19999

2шт.

16

425-54-15820

PLATE

SN: 10001-19999

1шт.

17

01220-40512

SCREW

SN: 10001-19999

3шт.

18

01642-20508

WASHER

SN: 10001-19999

3шт.

19

09415-01008

CAP

SN: 10001-19999

3шт.

20

419-923-1310

PLATE

SN: .-19999

1шт.

|20

425-54-15340

PLATE

SN: 10001-.

1шт.

21

01220-40512

SCREW

SN: .-19999

6шт.

|21

01220-40512

SCREW

SN: 10001-.

4шт.

22

01601-20513

WASHER,SPRING

SN: .-19999

6шт.

|22

01601-20513

WASHER,SPRING

SN: 10001-.

4шт.

23

425-54-15830

PLATE

SN: 10001-19999

1шт.

24

01220-40510

SCREW

SN: 10001-19999

2шт.

25

01601-20513

WASHER,SPRING

SN: 10001-19999

2шт.

26

08141-02400

LAMP,ROOM

SN: 10001-19999

1шт.

|26

08116-02410

BULB¤ 10W

SN: 10001-19999

1шт.

27

425-54-15590

PLATE

SN: 10001-19999

1шт.

28

01220-40412

SCREW

SN: 10001-19999

2шт.

29

01601-20410

WASHER,SPRING

SN: 10001-19999

2шт.

30

205-06-62320

SPEAKER

SN: 10001-@

1шт.

31

01220-40520

SCREW

SN: 10001-@

4шт.

32

01601-20513

WASHER,SPRING

SN: 10001-@

4шт.

33

419-54-15522

POCKET

SN: 10001-@

1шт.

34

01220-40412

SCREW

SN: 10001-19999

3шт.

35

425-54-15910

PLATE,L.H.

SN: 10001-19999

1шт.

36

425-54-15920

PLATE,R.H.

SN: 10001-19999

1шт.

37

01220-40512

SCREW

SN: 10001-19999

4шт.

38

01642-20508

WASHER

SN: 10001-19999

4шт.

39

425-54-15182

PAD,L.H.

SN: 10001-19999

1шт.

40

425-54-15192

PAD,R.H.

SN: 10001-19999

1шт.

41

425-54-15211

PAD,L.H.

SN: 10001-19999

1шт.

42

425-54-15221

PAD,R.H.

SN: 10001-19999

1шт.

43

425-54-15481

PAD

SN: 10001-19999

2шт.

Выбрано товаров: 50