Запчасти Komatsu WA400-1 ТРУБКИ КОНДИЦИОНЕРА (DENSO) (/)(№-) РАМА И ЧАСТИ КОРПУСА

Схема запчастей Komatsu WA400-1 - ТРУБКИ КОНДИЦИОНЕРА (DENSO) (/)(№-) РАМА И ЧАСТИ КОРПУСА
FIT
1:1
100%

Артикул

Название

Примечание

Количество

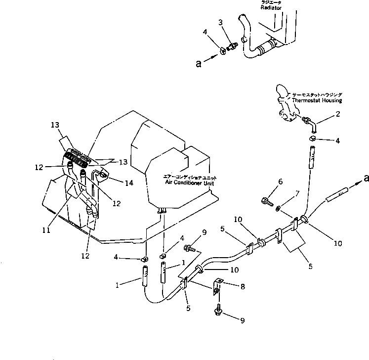
1

09483-10526

HOSE

SN: 20001-UP

2шт.

2

424-07-11360

ELBOW

SN: 10987-UP

1шт.

|2

07042-70415

PLUG,(WITHOUT AIR CONDITIONER)

SN: 20001-UP

1шт.

3

424-07-11370

TUBE

SN: 10987-UP

1шт.

|3

07042-70415

PLUG,(WITHOUT AIR CONDITIONER)

SN: 20001-UP

4шт.

4

07281-00259

CLAMP

SN: 20001-UP

4шт.

5

421-07-11550

CLIP

SN: 20001-UP

4шт.

6

01010-51220

BOLT

SN: 20001-UP

2шт.

7

01643-31232

WASHER

SN: 20001-UP

2шт.

8

423-T46-1170

PLATE

SN: 20001-UP

1шт.

9

01435-01220

BOLT

SN: 20001-UP

2шт.

10

08034-00823

BAND

SN: 20001-UP

3шт.

11

421-07-12831

HOSE

SN: 10987-UP

2шт.

12

421-07-12810

CONNECTOR

SN: 10987-UP

4шт.

13

421-07-12512

GRILLE ASS'Y

SN: 10987-UP

4шт.

14

419-963-1510

WIRE ASS'Y

SN: 20001-UP

1шт.

Выбрано товаров: 16