Запчасти Komatsu WA400-1 КАБИНА (ДЛЯ -PERSONS) (7/8)(№-) СПЕЦ. APPLICATION ЧАСТИ

Схема запчастей Komatsu WA400-1 - КАБИНА (ДЛЯ -PERSONS) (7/8)(№-) СПЕЦ. APPLICATION ЧАСТИ
FIT
1:1
100%

Артикул

Название

Примечание

Количество

|1

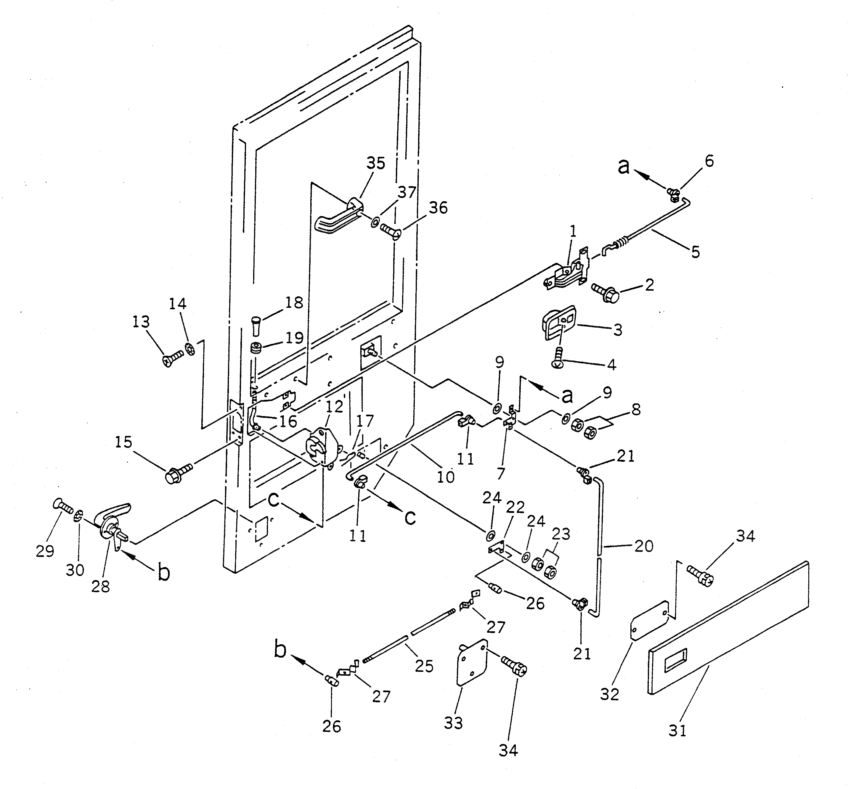
418-923-1001

OPERATOR'S CAB ASS'Y,(FOR 2-LAMP TYPE)

SN: 20305-UP

1шт.

|1

0

OPERATOR'S CAB ASS'Y

SN: 20001-20304

1шт.

|$$3

THESE ASSEMBLIES CONSIST OF ALL PARTS SHOWN IN FIGS.8041B TO 8048A.

-1шт.

|1

418-923-1600

DOOR ASS'Y,L.H.

SN: 20001-UP

1шт.

|1

418-923-1700

DOOR ASS'Y,R.H.

SN: 20001-UP

1шт.

1

421-56-11550

HANDLE,L.H.

SN: 20001-UP

1шт.

|1

421-56-11730

HANDLE,R.H.

SN: 20001-UP

1шт.

2

01435-00612

BOLT

SN: 20001-UP

2шт.

3

421-56-11560

COVER,L.H.

SN: 20001-UP

1шт.

|3

421-56-11740

COVER,R.H.

SN: 20001-UP

1шт.

4

421-56-11860

SCREW

SN: 20001-UP

1шт.

5

418-923-1670

ROD,L.H.

SN: 20001-UP

1шт.

|5

418-923-1680

ROD,R.H.

SN: 20001-UP

1шт.

6

421-56-11611

HOOK

SN: 20001-UP

1шт.

7

418-923-1660

LEVER

SN: 20001-UP

1шт.

8

01580-10605

NUT

SN: 20001-UP

2шт.

9

01641-20608

WASHER

SN: 20001-UP

2шт.

10

418-923-1650

ROD

SN: 20001-UP

1шт.

11

421-56-11611

HOOK

SN: 20001-UP

2шт.

12

421-56-11540

LOCK,L.H.

SN: 20001-UP

1шт.

|12

421-56-11720

LOCK,R.H.

SN: 20001-UP

1шт.

13

01224-40616

SCREW

SN: 10001-UP

1шт.

14

421-54-16440

WASHER

SN: 10001-UP

1шт.

15

01435-00612

BOLT

SN: 20001-UP

2шт.

16

418-923-1750

ROD

SN: 20001-UP

1шт.

17

04052-00530

PIN,SNAP

SN: 20001-UP

1шт.

18

419-54-16880

KNOB

SN: 20001-UP

1шт.

19

08037-01008

GROMMET

SN: 20001-UP

1шт.

20

418-923-1690

ROD

SN: 20001-UP

1шт.

21

421-56-11611

HOOK

SN: 20001-UP

2шт.

22

418-923-1710

LEVER

SN: 20001-UP

1шт.

23

01580-10605

NUT

SN: 20001-UP

2шт.

24

01641-20608

WASHER

SN: 20001-UP

2шт.

25

418-923-1720

ROD

SN: 20001-UP

1шт.

26

421-54-16370

PIN

SN: 20001-UP

2шт.

27

421-54-16350

SPRING

SN: 20001-UP

2шт.

28

418-923-1830

HANDLE,OUTER¤ L.H.

SN: 20001-UP

1шт.

|28

418-923-1840

HANDLE,OUTER¤ R.H.

SN: 20001-UP

1шт.

29

01224-40416

SCREW

SN: 10001-UP

2шт.

30

419-923-1860

WASHER

SN: 10001-UP

2шт.

31

418-923-1770

PAD,L.H.

SN: 20001-UP

1шт.

|31

418-923-1780

PAD,R.H.

SN: 20001-UP

1шт.

32

418-923-1760

PLATE

SN: 20001-UP

1шт.

33

418-923-1730

COVER,L.H.

SN: 20001-UP

1шт.

|33

418-923-1740

COVER,R.H.

SN: 20001-UP

1шт.

34

419-923-1810

SCREW

SN: 20001-UP

5шт.

35

205-54-72220

HANDLE

SN: .-UP

1шт.

36

01220-40616

SCREW

SN: 20001-UP

2шт.

37

01641-20608

WASHER

SN: 20001-UP

2шт.

Выбрано товаров: 49