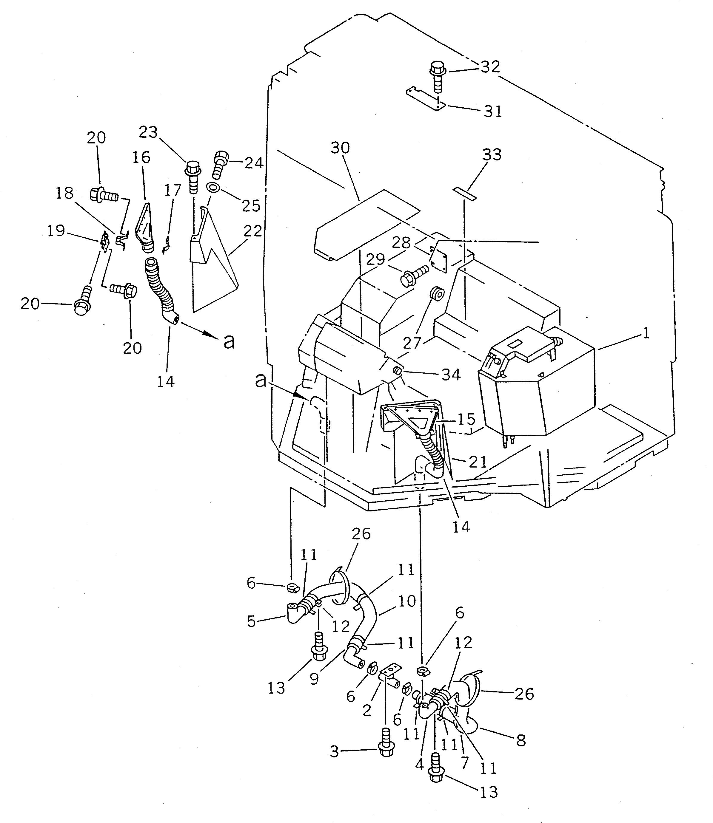
Запчасти Komatsu WA400-1 КОНДИЦ. ВОЗДУХА (ДЛЯ КАБИНА ДЛЯ 2 ЧЕЛ.)(№-) СПЕЦ. APPLICATION ЧАСТИ

Схема запчастей Komatsu WA400-1 - КОНДИЦ. ВОЗДУХА (ДЛЯ КАБИНА ДЛЯ 2 ЧЕЛ.)(№-) СПЕЦ. APPLICATION ЧАСТИ
FIT
1:1
100%

Артикул

Название

Примечание

Количество

1

418-U54-1102

AIR CONDITIONER UNIT

SN: 10987-UP

1шт.

2

423-943-1320

TUBE

SN: 20001-UP

1шт.

3

01435-00816

BOLT

SN: 20001-UP

2шт.

4

418-943-1430

HOSE,L.H.

SN: 20001-UP

1шт.

5

423-943-1330

HOSE,R.H.

SN: 20001-UP

1шт.

6

07281-00609

CLAMP

SN: 20001-UP

4шт.

7

418-943-1460

COVER,L.H.

SN: 20001-UP

1шт.

8

418-943-1490

COVER,L.H.

SN: 20001-UP

1шт.

9

423-943-1340

COVER,R.H.

SN: 20001-UP

1шт.

10

423-943-1350

COVER,R.H.

SN: 20001-UP

1шт.

11

08034-00536

BAND

SN: 20001-UP

6шт.

12

418-943-1450

CLIP

SN: 20001-UP

2шт.

13

01435-01020

BOLT

SN: 20001-UP

2шт.

14

418-943-1131

HOSE

SN: 20001-UP

2шт.

15

418-943-1140

DEFROSTER,L.H.

SN: 10001-UP

1шт.

16

418-943-1150

DEFROSTER,R.H.

SN: 10001-UP

1шт.

17

418-943-1180

CLAMP

SN: 10001-UP

2шт.

18

418-943-1170

PLATE

SN: 10001-UP

2шт.

19

418-943-1160

PLATE

SN: 10001-UP

2шт.

20

01435-00610

BOLT

SN: 20001-UP

12шт.

21

418-943-1372

COVER,L.H.

SN: 20001-UP

1шт.

22

418-943-1262

COVER,R.H.

SN: 20001-UP

1шт.

23

01435-00610

BOLT

SN: 20001-UP

2шт.

24

01220-40612

SCREW

SN: 10001-UP

6шт.

25

01643-30623

WASHER

SN: 10001-UP

6шт.

26

08034-00536

BAND

SN: 20001-UP

2шт.

27

08037-05016

GROMMET

SN: 20001-UP

1шт.

28

418-U54-1180

PLATE

SN: 20001-UP

1шт.

29

01435-00616

BOLT

SN: 20001-UP

4шт.

30

418-U54-1152

MAT

SN: 20001-UP

1шт.

31

418-U54-1170

BRACKET

SN: 20001-UP

1шт.

32

01435-00616

BOLT

SN: 20001-UP

2шт.

33

418-U54-1160

SHEET

SN: 20001-UP

1шт.

34

09415-00506

CAP

SN: 10001-UP

1шт.

Выбрано товаров: 34