Запчасти Komatsu WA400-1 ТРАНСМИССИЯ (МАСЛОПРОВОДЯЩАЯ ЛИНИЯ) ТРАНСМИССИЯ

Схема запчастей Komatsu WA400-1 - ТРАНСМИССИЯ (МАСЛОПРОВОДЯЩАЯ ЛИНИЯ) ТРАНСМИССИЯ
FIT
1:1
100%

Артикул

Название

Примечание

Количество

|1

424-15-00014

TRANSMISSION ASS'Y

SN: (3815)-UP

1шт.

|1

0

TRANSMISSION ASS'Y

SN: 20001-(3814)

1шт.

|1

424-15-00012

TRANSMISSION ASS'Y

SN: .-19999

1шт.

|1

0

TRANSMISSION ASS'Y

SN: 10001-.

1шт.

|$$5

THESE ASSEMBLIES CONSIST OF ALL PARTS SHOWN IN FIGS.2501 TO 2531.

-1шт.

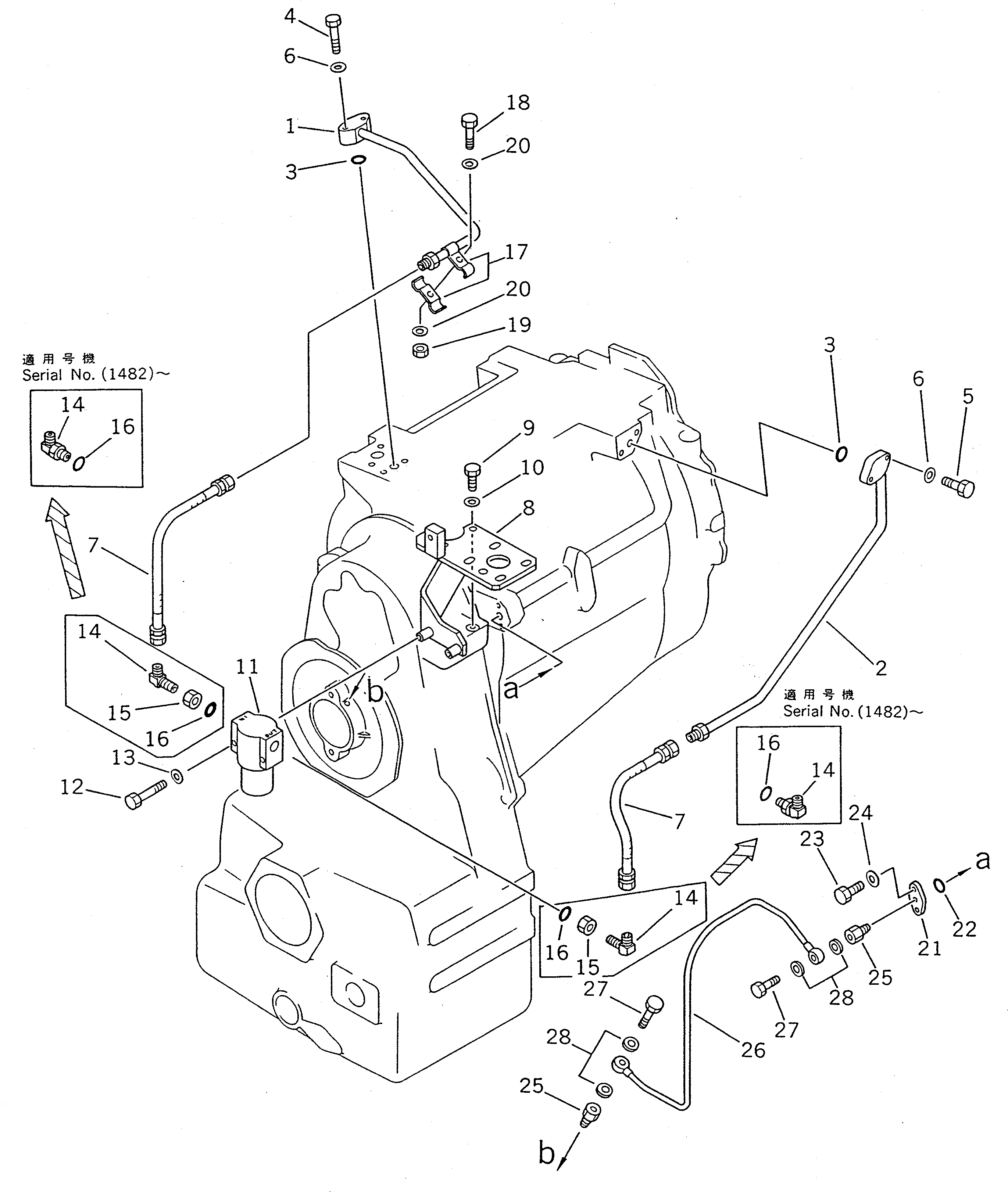
1

424-15-11712

TUBE

SN: 10001-UP

1шт.

2

424-15-11723

TUBE

SN: 10001-UP

1шт.

3

07000-73022

O-RING (K2)

SN: 10001-UP

2шт.

4

01010-51045

BOLT

SN: 10001-UP

2шт.

5

01010-51030

BOLT

SN: 10001-UP

2шт.

6

01643-31042

WASHER

SN: 10001-UP

4шт.

7

07102-20303

HOSE

SN: 10001-UP

2шт.

8

423-15-11740

BRACKET

SN: 10001-UP

1шт.

9

01010-51235

BOLT

SN: 10001-UP

3шт.

10

01643-31232

WASHER

SN: 10001-UP

3шт.

11

425-15-11750

FILTER ASS'Y

SN: 20001-UP

1шт.

|11

561-15-11710

FILTER ASS'Y

SN: 10001-19999

1шт.

|11

209-38-12470

ELEMENT

SN: 10001-UP

1шт.

|11

209-38-12480

O-RING

SN: 10001-UP

1шт.

|11

209-38-12490

RING,BACK-UP

SN: 10001-UP

1шт.

12

01010-50860

BOLT

SN: 10001-UP

2шт.

13

01643-30823

WASHER

SN: 10001-UP

2шт.

14

421-15-11790

ELBOW

SN: (1482)-UP

2шт.

|14

0

ELBOW

SN: 10001-(1481)

2шт.

15

421-15-11770

NUT

SN: 10001-UP

2шт.

16

07002-02034

O-RING (K2)

SN: 10001-UP

2шт.

17

112-901-1250

CLAMP

SN: 10001-UP

2шт.

18

01010-51030

BOLT

SN: 10001-UP

1шт.

19

01580-11008

NUT

SN: 10001-UP

1шт.

20

01643-31032

WASHER

SN: 10001-UP

2шт.

21

424-15-11350

FLANGE

SN: 10001-UP

1шт.

22

07000-73022

O-RING (K2)

SN: 10001-UP

1шт.

23

01010-51025

BOLT

SN: 10001-UP

2шт.

24

01643-31032

WASHER

SN: 10001-UP

2шт.

25

421-15-13920

NIPPLE,(D=4.0MM)

SN: 10001-UP

2шт.

26

424-15-13910

TUBE

SN: 10001-UP

1шт.

27

07206-30508

BOLT,JOINT

SN: 10001-UP

2шт.

28

07005-00812

GASKET (K2)

SN: 10001-UP

4шт.

Выбрано товаров: 38