Запчасти Komatsu WA400-1 КОРПУС ЗАДНЕГО МОСТА(№-9999) ВЕДУЩ. ВАЛ¤ ДИФФЕРЕНЦ. И КОЛЕСА

Схема запчастей Komatsu WA400-1 - КОРПУС ЗАДНЕГО МОСТА(№-9999) ВЕДУЩ. ВАЛ¤ ДИФФЕРЕНЦ. И КОЛЕСА
FIT
1:1
100%

Артикул

Название

Примечание

Количество

|1

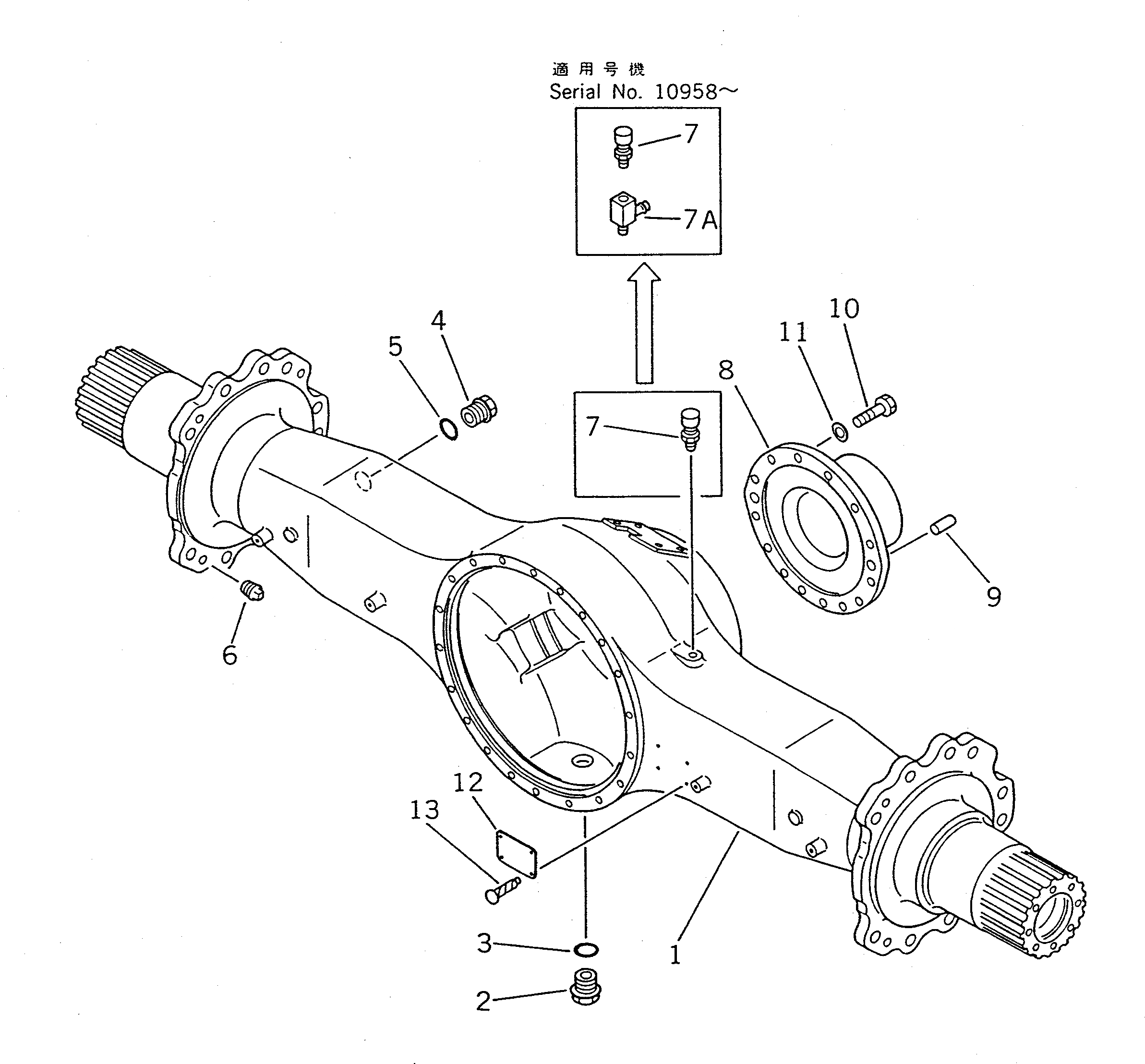
424-23-10071

REAR AXLE ASS'Y

SN: 10973-19999

1шт.

|1

0

REAR AXLE ASS'Y

SN: 10591-10972

1шт.

|1

0

REAR AXLE ASS'Y

SN: 10001-10590

1шт.

|$$4

THESE ASSEMBLIES CONSIST OF ALL PARTS SHOWN IN FIGS.3201 TO 3231.

-1шт.

|1

424-23-13002

HOUSING ASS'Y

SN: 10001-19999

1шт.

1

424-23-13103

HOUSING

SN: 10001-19999

1шт.

2

07044-13620

PLUG

SN: 10001-@

1шт.

3

07002-03634

O-RING (K4)

SN: 10001-@

1шт.

4

566-16-11351

PLUG

SN: 10001-19999

1шт.

5

07002-03634

O-RING (K4)

SN: 10001-19999

1шт.

6

07042-20312

PLUG

SN: 10001-19999

4шт.

7

07030-01030

BREATHER

SN: 10001-@

1шт.

7A

421-35-13290

TEE

SN: 10958-19999

1шт.

8

424-23-13311

SUPPORT

SN: 10794-@

1шт.

|8

0

SUPPORT

SN: 10001-10793

1шт.

9

04020-01842

PIN,DOWEL

SN: 10001-@

2шт.

10

01010-31445

BOLT

SN: 10001-19999

14шт.

11

01643-31445

WASHER

SN: 10001-19999

12шт.

12

22X-22-13171

PLATE¤ NAME,(LIMITED SUPPLY)

SN: 10001-@

1шт.

13

04418-03060

SCREW

SN: 10001-@

4шт.

Выбрано товаров: 20