Запчасти Komatsu WA400-3-H КОВШ КАТАЛОГИ ЗЧ

Схема запчастей Komatsu WA400-3-H - КОВШ КАТАЛОГИ ЗЧ
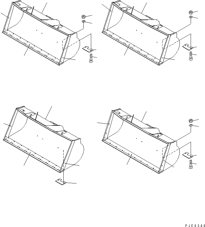
1
2
3
3
4
5
6
7
8
9
9
10
11
12
13
14
15
16
16
17
18
19
20
21
21
22
23
24
25
FIT
1:1
100%

Артикул

Название

Примечание

Количество

|$$1

3.1M3 BUCKET

-1шт.

|$$2

3.3M3 BUCKET{(WITH BOLT ON CUTTING EDGE)}

-1шт.

|1

424-70-22100

BUCKET ASS'Y

SN: 63001-UP

1шт.

1

424-70-22110

BUCKET

SN: 63001-UP

1шт.

2

421-70-12122

EDGE (WELDED)

SN: 63001-UP

1шт.

3

424-70-22150

PLATE (WELDED)

SN: 63001-UP

2шт.

4

423-70-22140

PLATE

SN: 63001-UP

2шт.

5

02090-11475

BOLT

SN: 63001-UP

4шт.

6

01643-32260

WASHER

SN: 63001-UP

4шт.

7

02990-11422

NUT

SN: 63001-UP

4шт.

|$$11

3.2M3 BUCKET

-1шт.

|$$12

3.4M3 BUCKET{(WITH BOLT ON CUTTING EDGE)}

-1шт.

|8

424-70-22500

BUCKET ASS'Y

SN: 63001-63999

1шт.

8

424-70-22510

BUCKET

SN: 63001-63999

1шт.

9

424-70-22260

PLATE (WELDED)

SN: 63001-63999

2шт.

10

421-70-12122

EDGE (WELDED)

SN: 63001-63999

1шт.

11

423-70-22140

PLATE

SN: 63001-63999

2шт.

12

02090-11475

BOLT

SN: 63001-63999

4шт.

13

02290-11422

NUT

SN: 63001-63999

4шт.

14

01643-32260

WASHER

SN: 63001-63999

4шт.

|$$21

3.4M3 BUCKET{LOOSE MATERIAL}

-1шт.

15

424-803-2110

BUCKET

SN: 63001-UP

1шт.

16

424-803-2150

PLATE (WELDED)

SN: 63001-UP

2шт.

17

421-70-12122

EDGE (WELDED)

SN: 63001-UP

1шт.

18

424-70-12141

PLATE (WELDED)

SN: 63001-UP

2шт.

|$$26

3.3M3 BUCKET{(BOTH SIDE EDGE¤ LONG TYPE)}

-1шт.

|19

424-70-22700

BUCKET ASS'Y

SN: 64001-UP

1шт.

19

424-70-22710

BUCKET

SN: 64001-UP

1шт.

20

424-70-22720

EDGE (WELDED)

SN: 64001-UP

1шт.

21

424-70-22730

PLATE (WELDED)

SN: 64001-UP

2шт.

22

423-70-22140

PLATE

SN: 64001-UP

2шт.

23

02090-11475

BOLT

SN: 64001-UP

4шт.

24

02290-11422

NUT

SN: 64001-UP

4шт.

25

01643-32260

WASHER

SN: 64001-UP

4шт.

Выбрано товаров: 34