Запчасти Komatsu WA400-3A-S ГИДРОЛИНИЯ (ВОЗВРАТН. ЛИНИЯ) (ДЛЯ E.C.S.S.)(№-) УПРАВЛ-Е РАБОЧИМ ОБОРУДОВАНИЕМ

Схема запчастей Komatsu WA400-3A-S - ГИДРОЛИНИЯ (ВОЗВРАТН. ЛИНИЯ) (ДЛЯ E.C.S.S.)(№-) УПРАВЛ-Е РАБОЧИМ ОБОРУДОВАНИЕМ
FIT
1:1
100%

Артикул

Название

Примечание

Количество

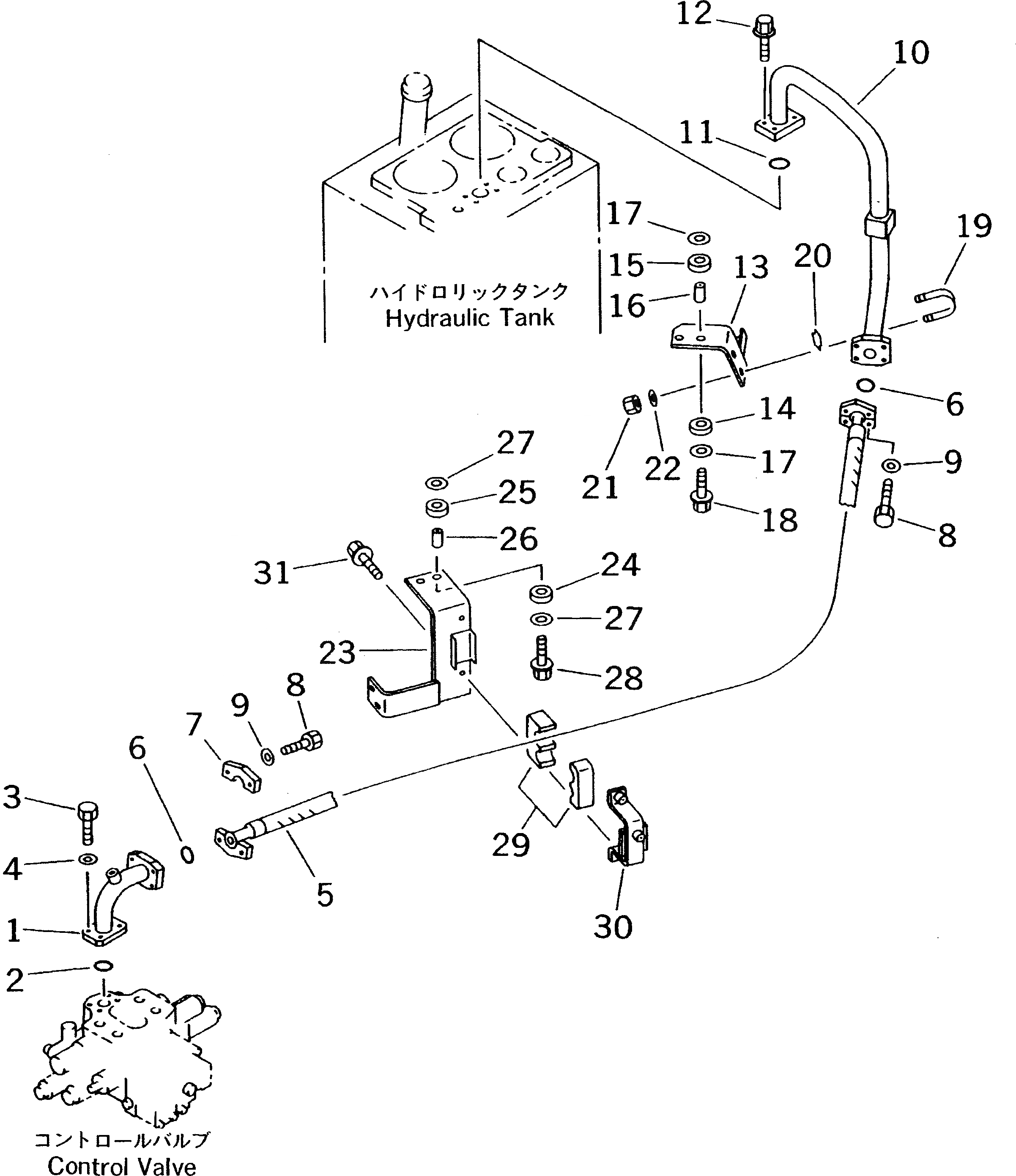
1

424-S99-2110

TUBE

SN: 50001-UP

1шт.

2

07000-03035

O-RING

SN: 50001-UP

1шт.

3

01010-51030

BOLT

SN: 50001-UP

4шт.

4

01643-51032

WASHER

SN: 50001-UP

4шт.

5

07119-01414

HOSE

SN: 50001-UP

1шт.

6

07000-03048

O-RING

SN: 50001-UP

2шт.

7

07371-31465

FLANGE,SPLIT

SN: 50001-UP

4шт.

8

07372-21240

BOLT

SN: 50001-UP

8шт.

9

01643-51232

WASHER

SN: 50001-UP

8шт.

10

424-62-23170

TUBE

SN: 50001-UP

1шт.

11

07000-03038

O-RING

SN: 50001-UP

1шт.

12

01435-01235

BOLT

SN: 50001-UP

4шт.

13

424-62-23180

BRACKET

SN: 50001-UP

1шт.

14

415-64-13130

CUSHION

SN: 50001-UP

2шт.

15

419-43-17930

CUSHION

SN: 50001-UP

2шт.

16

421-62-18560

SPACER

SN: 50001-UP

2шт.

17

415-64-13120

WASHER

SN: 50001-UP

4шт.

18

01435-01045

BOLT

SN: 50001-UP

2шт.

19

07283-24354

CLIP

SN: 50001-UP

1шт.

20

07283-54353

SEAT

SN: 50001-UP

1шт.

21

01599-01011

NUT

SN: 50001-UP

2шт.

22

01643-31032

WASHER

SN: 50001-UP

2шт.

23

424-62-23110

BRACKET

SN: 50001-UP

1шт.

24

415-64-13130

CUSHION

SN: 50001-UP

2шт.

25

419-43-17930

CUSHION

SN: 50001-UP

2шт.

26

421-62-18560

SPACER

SN: 50001-UP

2шт.

27

415-64-13120

WASHER

SN: 50001-UP

4шт.

28

01435-01045

BOLT

SN: 50001-UP

2шт.

29

424-62-23350

RUBBER

SN: 50001-UP

2шт.

30

423-62-13740

BRACKET

SN: 50001-UP

1шт.

31

01435-01230

BOLT

SN: 50001-UP

2шт.

Выбрано товаров: 0