Запчасти Komatsu WA400-3A-S ЭЛЕКТРИКА (ПОЛ ЛИНИЯ)(№-) КОМПОНЕНТЫ ДВИГАТЕЛЯ И ЭЛЕКТРИКА

Схема запчастей Komatsu WA400-3A-S - ЭЛЕКТРИКА (ПОЛ ЛИНИЯ)(№-) КОМПОНЕНТЫ ДВИГАТЕЛЯ И ЭЛЕКТРИКА
FIT
1:1
100%

Артикул

Название

Примечание

Количество

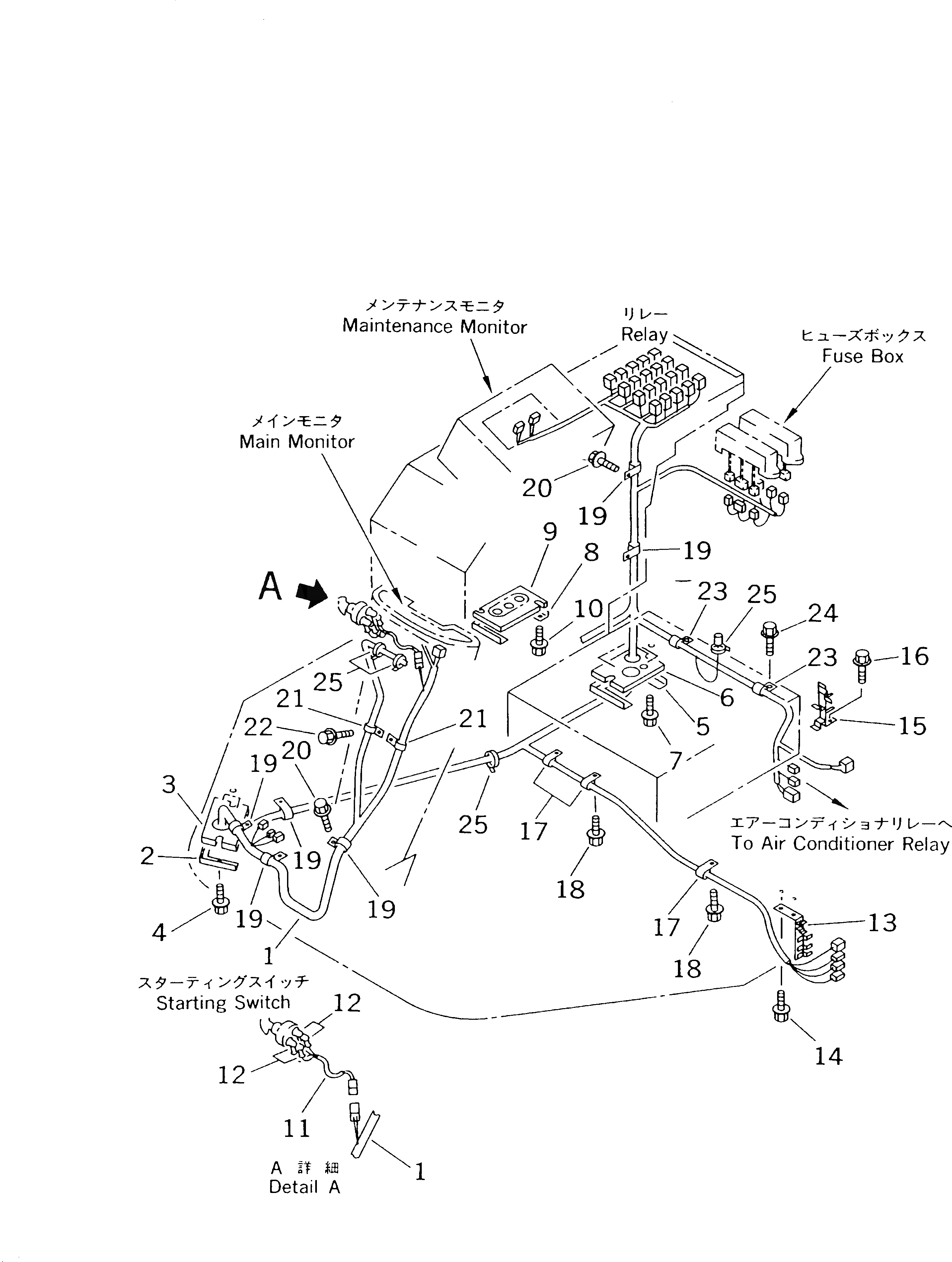
1

421-06-22612

WIRING HARNESS,FRONT FRAME

SN: 50187-UP

1шт.

|1

421-06-22611

WIRING HARNESS,FRONT FRAME

SN: 50074-50186

1шт.

|1

421-06-22610

WIRING HARNESS,FLOOR FRAME

SN: 50001-50073

1шт.

|1

08020-10000

DIODE

SN: 50001-UP

2шт.

2

419-06-22530

PLATE

SN: 50001-UP

1шт.

3

421-06-22520

SHEET

SN: 50001-UP

1шт.

4

01435-00610

BOLT

SN: 50001-UP

2шт.

5

419-06-22530

PLATE

SN: 50001-UP

1шт.

6

421-06-22540

SHEET

SN: 50001-UP

1шт.

7

01435-00610

BOLT

SN: 50001-UP

2шт.

8

421-06-22730

PLATE

SN: 50001-UP

1шт.

9

421-06-22740

SHEET

SN: 50001-UP

1шт.

10

01435-00610

BOLT

SN: .-UP

2шт.

|10

01435-00608

BOLT

SN: 50001-.

2шт.

11

421-06-22691

WIRING HARNESS,STARTING SWITCH

SN: 50187-UP

1шт.

|11

421-06-22690

WIRING HARNESS,STARTING SWITCH

SN: 50001-50186

1шт.

12

08038-00518

CAP

SN: 50001-UP

4шт.

13

421-06-22940

BRACKET

SN: 50001-UP

1шт.

14

01435-01016

BOLT

SN: 50001-UP

2шт.

15

421-06-22950

BRACKET

SN: 50001-UP

1шт.

16

01435-01016

BOLT

SN: 50001-UP

2шт.

17

08036-02514

CLIP

SN: 50001-UP

4шт.

18

01435-01016

BOLT

SN: 50001-UP

4шт.

19

04434-53412

CLIP

SN: 50001-UP

6шт.

20

01435-01016

BOLT

SN: 50001-UP

6шт.

21

04434-52712

CLIP

SN: 50001-UP

2шт.

22

01435-01016

BOLT

SN: 50001-UP

2шт.

23

08036-03014

CLIP

SN: 50001-UP

3шт.

24

01435-01016

BOLT

SN: 50001-UP

1шт.

25

08034-20519

BAND

SN: 50001-UP

5шт.

Выбрано товаров: 30