Качественные детали и логистика
Оригинальные и аналоговые запчасти с доставкой по России, Казахстану и Беларуси
©2022 PartSell ООО "Система" ИНН 2463123282 ОГРН 1212400004838
Центральный офис: г. Красноярск, Академика Киренского, д.87, пом.4
Телефон: 8 (800) 777-65-74 Email: zakaz@partsell.ru
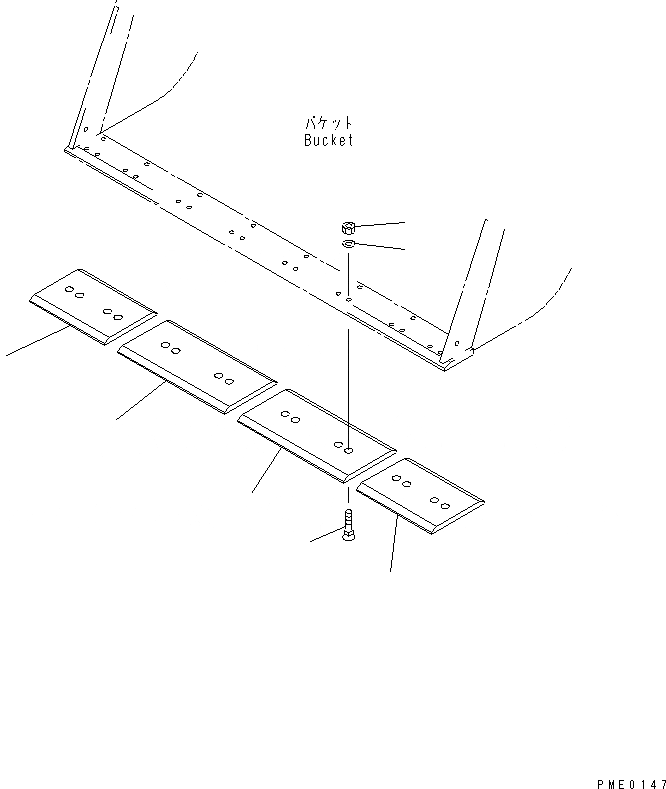
РЕЖУЩ. КРОМКА (С ДОЛГ. СРОКОМ СЛУЖБЫ)(№-)
№
Артикул
Название
Примечание
Количество
1
424-T79-2110
EDGE,CENTER
SN: 50001-UP
2шт.
2
421-T79-2120
EDGE,SIDE
3
02090-11485
BOLT
16шт.
4
02290-11422
NUT
5
01643-32260
WASHER
Выбрано товаров: 0