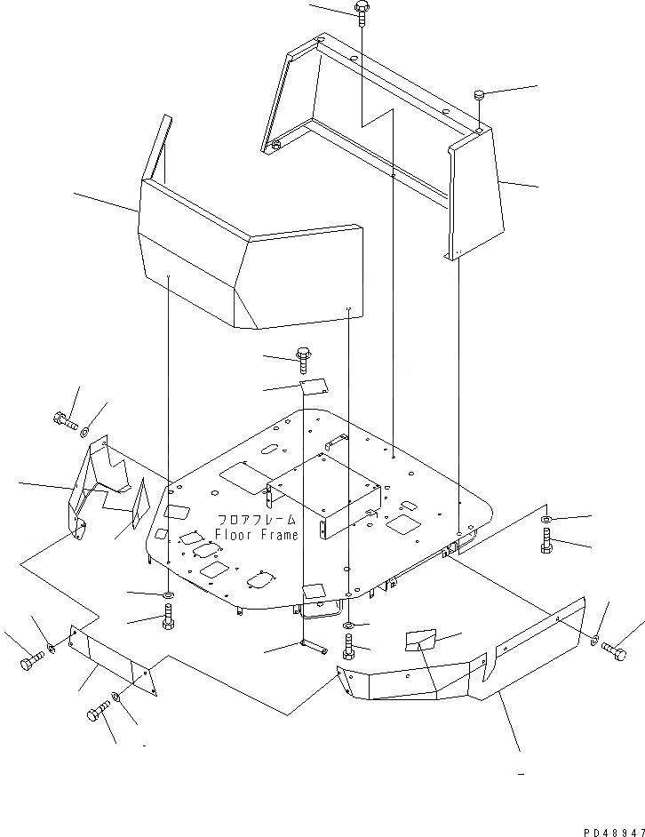
Запчасти Komatsu WA400-3A-ST ПОКРЫТИЕ ПОЛА (ТУННЕЛЬН. СПЕЦ-Я.)(№-) РАМА И ЧАСТИ КОРПУСА

Схема запчастей Komatsu WA400-3A-ST - ПОКРЫТИЕ ПОЛА (ТУННЕЛЬН. СПЕЦ-Я.)(№-) РАМА И ЧАСТИ КОРПУСА
1
2
3
4
4
4
4
5
5
5
5
6
7
8
9
10
11
12
13
14
15
16
17
18
19
19
FIT
1:1
100%

Артикул

Название

Примечание

Количество

1

421-54-24730

COVER

SN: 50001-UP

1шт.

2

421-54-24710

COVER,L.H.

SN: 50001-UP

1шт.

3

423-54-24250

COVER,R.H.

SN: 50001-UP

1шт.

4

01435-01020

BOLT

SN: 50025-UP

12шт.

|4

01010-51020

BOLT

SN: 50001-50024

12шт.

5

124-54-26540

WASHER

SN: 50001-UP

12шт.

6

421-54-26140

GUARD,FRONT

SN: 50001-UP

1шт.

7

01010-51240

BOLT

SN: 50001-UP

2шт.

8

01643-31232

WASHER

SN: 50001-UP

2шт.

9

01010-52045

BOLT

SN: 50001-UP

2шт.

10

01643-32060

WASHER

SN: 50001-UP

2шт.

11

423-973-2110

GUARD,REAR

SN: 50001-UP

1шт.

12

09415-02512

CAP

SN: 50001-UP

4шт.

13

01010-52045

BOLT

SN: 50001-UP

2шт.

14

01643-32060

WASHER

SN: 50001-UP

2шт.

15

01435-01020

BOLT

SN: 50001-UP

1шт.

16

421-54-26120

PLATE

SN: 50001-UP

2шт.

17

421-54-26130

PLATE

SN: 50001-UP

2шт.

18

01435-01225

BOLT

SN: 50001-UP

4шт.

19

423-54-24710

RUBBER

SN: 50007-UP

2шт.

Выбрано товаров: 20