Запчасти Komatsu WA400-3A-SW БОКОВ. СДВИГ¤ PITCH И ANGLE SNOW PНИЗ. (/) (ОТВАЛ)(№-) СПЕЦ. APPLICATION ЧАСТИ

Схема запчастей Komatsu WA400-3A-SW - БОКОВ. СДВИГ¤ PITCH И ANGLE SNOW PНИЗ. (/) (ОТВАЛ)(№-) СПЕЦ. APPLICATION ЧАСТИ
FIT
1:1
100%

Артикул

Название

Примечание

Количество

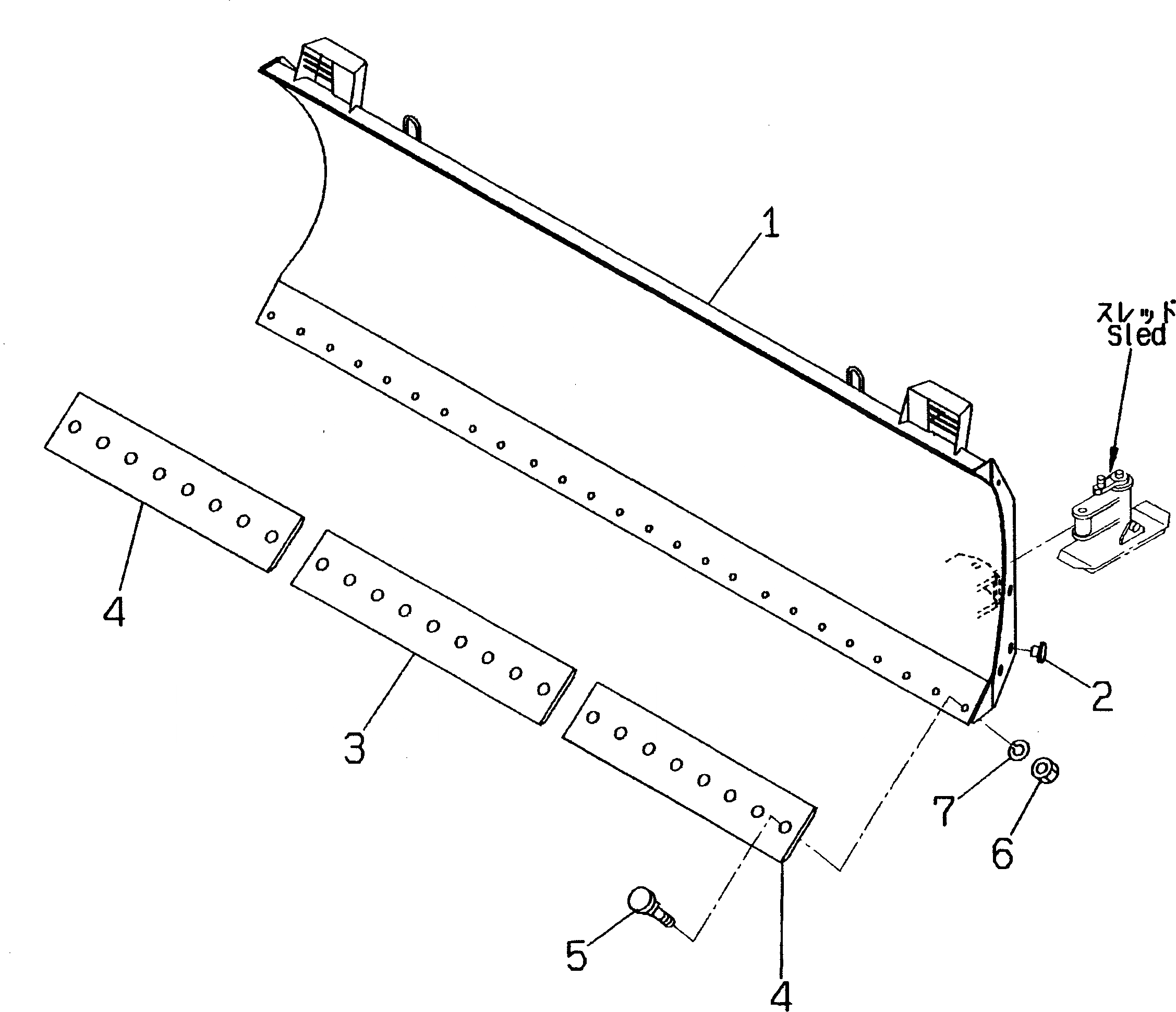
1

423-905-1113

BLADE

SN: 50001-UP

1шт.

2

07048-01610

PLUG

SN: 50001-UP

6шт.

3

423-904-1121

EDGE,CUTTING

SN: 50001-UP

1шт.

4

423-904-1131

EDGE,CUTTING

SN: 50001-UP

2шт.

5

02090-11470

BOLT

SN: 50001-UP

25шт.

6

02290-11422

NUT

SN: 50001-UP

25шт.

7

01602-02268

WASHER,SPRING

SN: 50001-UP

25шт.

Выбрано товаров: 7