Запчасти Komatsu WA400-5 КУЗОВ GARD РАМА

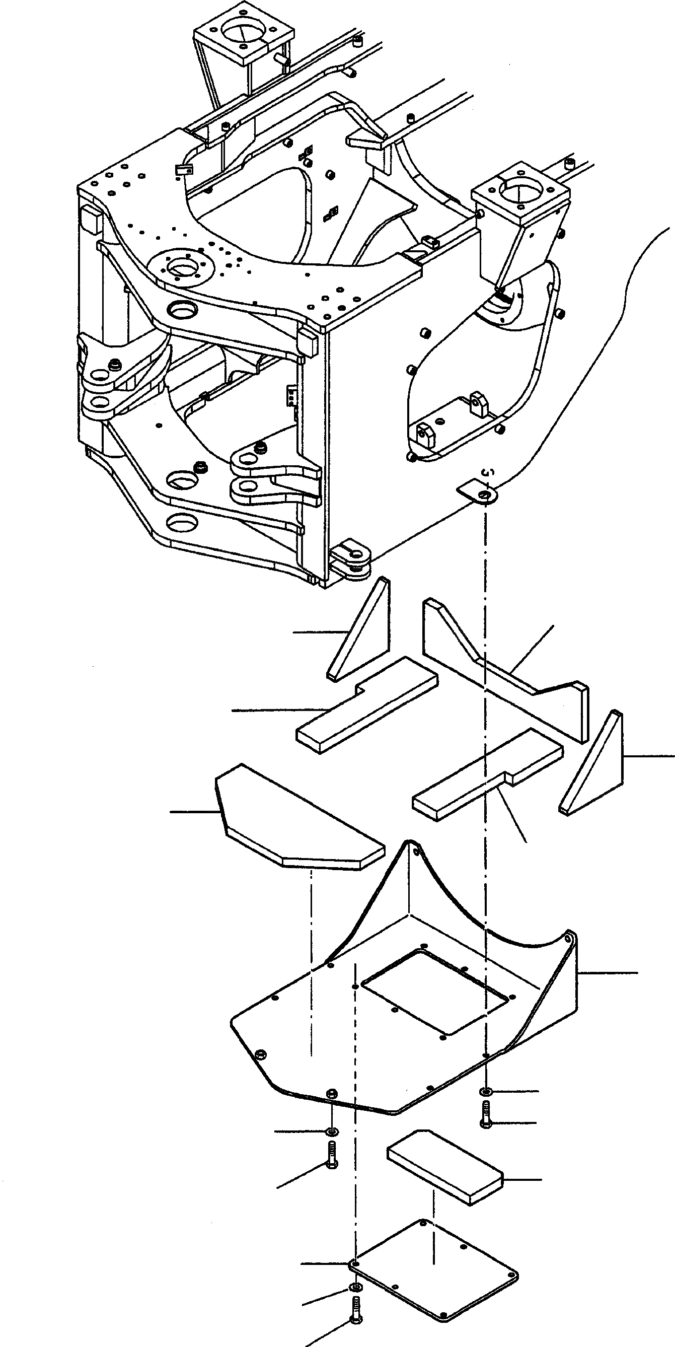
Схема запчастей Komatsu WA400-5 - КУЗОВ GARD РАМА
6
5
3
5
2
4
1
9
7
9
11
8
10
13
12
FIT
1:1
100%

Артикул

Название

Примечание

Количество

1

423-46-34121

PROTECTOR

DeutschDesc: SCHUTZ

1шт.

2

421-54-31630

INSULATING MAT

DeutschDesc: DAEMMATTE

1шт.

3

421-54-31660

INSULATING MAT

DeutschDesc: DAEMMATTE

1шт.

4

421-54-31640

INSULATING MAT

DeutschDesc: DAEMMATTE

1шт.

5

423-46-34540

INSULATING MAT

DeutschDesc: DAEMMATTE

2шт.

6

423-46-34530

INSULATING MAT

DeutschDesc: DAEMMATTE

1шт.

7

01010-81220

SCREW

DeutschDesc: SCHRAUBE

6шт.

8

01016-51235

SCREW

DeutschDesc: SCHRAUBE

2шт.

9

01643-71232

PLAIN WASHER

DeutschDesc: UNTERLEGSCHEIBE

8шт.

10

423-46-34130

PLATE

DeutschDesc: PLATTE

1шт.

11

421-54-31650

INSULATING MAT

DeutschDesc: DAEMMATTE

1шт.

12

01010-81020

SCREW

DeutschDesc: SCHRAUBE

6шт.

13

01643-31032

PLAIN WASHER

DeutschDesc: UNTERLEGSCHEIBE

6шт.

Выбрано товаров: 13