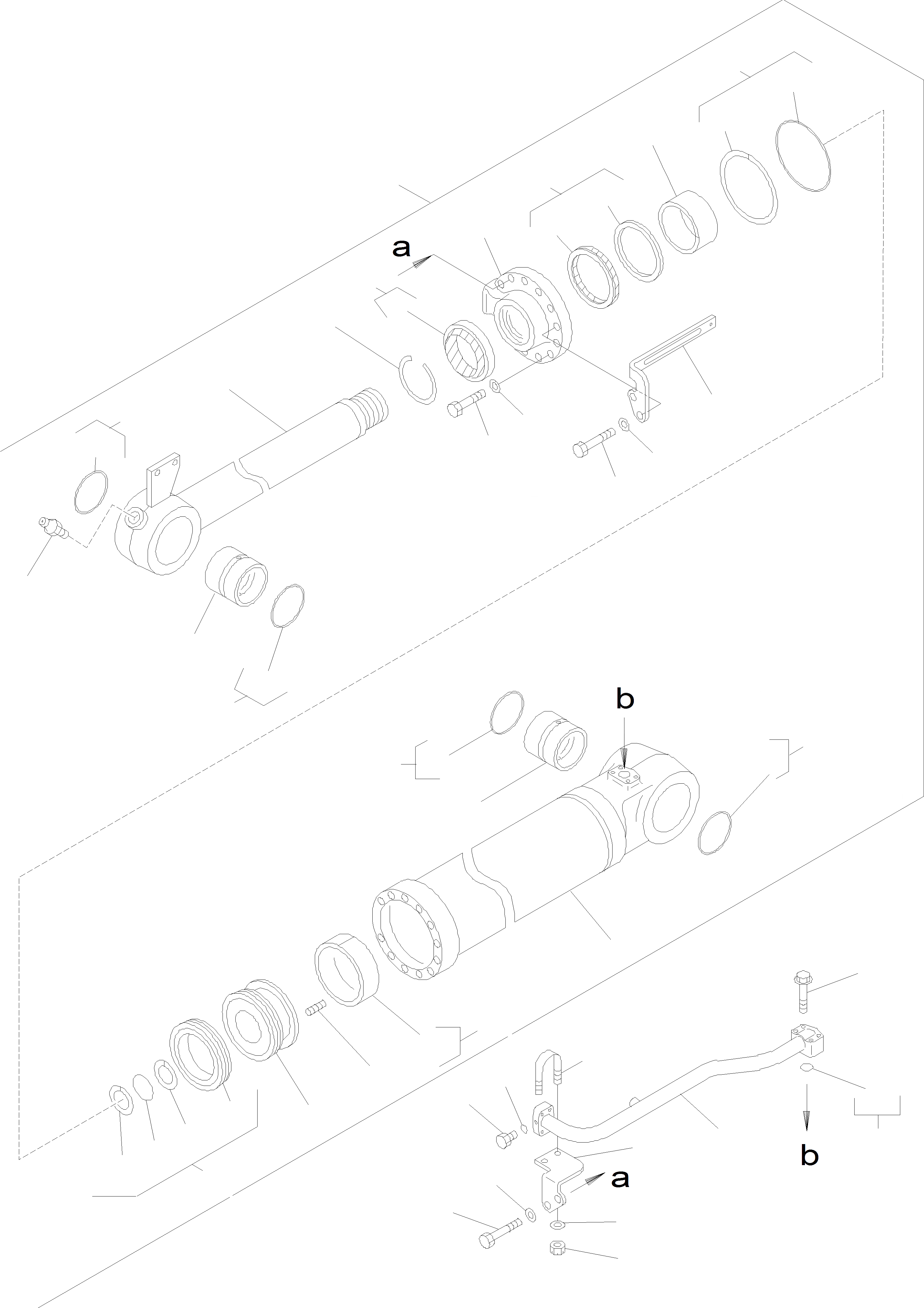
Запчасти Komatsu WA400-5 ЦИЛИНДР КОВША ЦИЛИНДР КОВША

Схема запчастей Komatsu WA400-5 - ЦИЛИНДР КОВША ЦИЛИНДР КОВША
10
11
5
7
6
4
8
9
17
19
20
16
14
13
16
15
3
2
3
1A
29
28
27
12
32
31
16
15
30
34
33
26
23
24
25
22
22
21
18
19
1
35
35
35
35
35
35
35
35
35
35
FIT
1:1
100%

Артикул

Название

Примечание

Количество

1

423-63-H3150

BUCKET CYLINDER

1шт.

1A

707-13-18311

BARREL

1шт.

2

707-76-11030

BUSHING

1шт.

3

421-09-11320

STRIPPER

2шт.

4

707-27-18580

HEAD

1шт.

5

707-52-90680

PILOT

1шт.

6

707-51-90030

SEAL

1шт.

7

707-51-90640

SEAL

1шт.

8

195-63-94170

STRIPPER

1шт.

9

07179-13104

CIRCLIP

1шт.

10

07000-15170

O-RING

1шт.

11

07146-05172

SEAL

1шт.

12

707-88-01612

BRACKET

1шт.

13

707-88-01621

PLATE

1шт.

14

01010-81865

SCREW

8шт.

15

01010-81875

SCREW

4шт.

16

01643-31845

PLAIN WASHER

12шт.

17

707-58-90400

CYLINDER ROD

1шт.

18

707-76-11010

BUSHING

1шт.

19

421-09-11320

STRIPPER

2шт.

20

07020-00000

LUBRICATION NIPPLE

1шт.

21

07000-15090

O-RING

1шт.

22

707-35-90010

CIRCLIP

2шт.

23

707-36-18620

PISTON

1шт.

24

707-44-18180

SEAL

1шт.

25

07156-01822

PILOT

1шт.

26

01310-01216

SCREW

1шт.

27

707-86-11361

TUBE

1шт.

28

07000-13035

O-RING

1шт.

29

01435-01055

SCREW

4шт.

30

07283-33450

U-BOLT

1шт.

31

01597-01009

NUT

2шт.

32

01643-31032

PLAIN WASHER

2шт.

33

07040-11007

PLUG

1шт.

34

07002-11023

O-RING

1шт.

35

707-01-H0P13

PACKING KIT

1шт.

Выбрано товаров: 36