Запчасти Komatsu WA420-1 ТОРМОЗ. МАСЛОПРОВОДЯЩАЯ ЛИНИЯ (БАК - КАМЕРА /)(№-9999) ВЕДУЩ. ВАЛ¤ ДИФФЕРЕНЦ. И КОЛЕСА

Схема запчастей Komatsu WA420-1 - ТОРМОЗ. МАСЛОПРОВОДЯЩАЯ ЛИНИЯ (БАК - КАМЕРА /)(№-9999) ВЕДУЩ. ВАЛ¤ ДИФФЕРЕНЦ. И КОЛЕСА
FIT
1:1
100%

Артикул

Название

Примечание

Количество

|$0

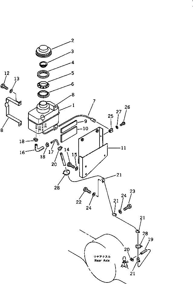
424-35-16701

TANK ASS'Y,BRAKE OIL

SN: 10135-19999

1шт.

1

424-35-16711

TANK

SN: 10135-19999

1шт.

2

424-35-16740

CAP

SN: 10135-19999

1шт.

3

424-35-16770

BAFFLE

SN: 10135-19999

1шт.

4

424-35-16780

FILTER

SN: 10135-19999

1шт.

5

424-35-16750

HOLDER

SN: 10135-19999

1шт.

6

424-35-16760

SEAL

SN: 10135-19999

1шт.

7

424-35-16790

SWITCH ASS'Y,BRAKE OIL LEVEL

SN: 10135-19999

1шт.

8

424-35-16810

BRACKET

SN: 10135-19999

2шт.

9

424-35-16720

SEAT

SN: 10135-19999

1шт.

10

424-35-16730

SEAT

SN: 10135-19999

1шт.

11

423-35-11610

BRACKET

SN: 10135-19999

1шт.

12

01010-51225

BOLT

SN: 10135-19999

4шт.

13

01643-31232

WASHER

SN: 10135-19999

4шт.

14

01010-51225

BOLT

SN: 10135-19999

3шт.

15

01643-31232

WASHER

SN: 10135-19999

3шт.

16

421-35-13860

HOSE

SN: 10135-19999

1шт.

17

421-35-13790

TUBE

SN: 10135-19999

1шт.

18

07281-00259

CLAMP

SN: 10135-19999

2шт.

19

07261-20922

HOSE

SN: 10082-19999

1шт.

20

07281-00197

CLAMP

SN: 10082-19999

2шт.

21

424-09-12410

CLIP

SN: 10135-19999

4шт.

22

01010-51225

BOLT

SN: 10135-19999

1шт.

23

01010-51220

BOLT

SN: 10135-19999

5шт.

24

01643-31232

WASHER

SN: 10135-19999

6шт.

25

283-06-17130

CLIP

SN: 10135-19999

1шт.

26

01220-40608

SCREW

SN: 10135-19999

1шт.

27

01641-20608

WASHER

SN: 10135-19999

1шт.

28

08034-00823

BAND

SN: 10082-19999

2шт.

Выбрано товаров: 29