Запчасти Komatsu WA420-1 ТОРМОЗ. МАСЛОПРОВОДЯЩАЯ ЛИНИЯ (БАК - КАМЕРА)(№-) ВЕДУЩ. ВАЛ¤ ДИФФЕРЕНЦ. И КОЛЕСА

Схема запчастей Komatsu WA420-1 - ТОРМОЗ. МАСЛОПРОВОДЯЩАЯ ЛИНИЯ (БАК - КАМЕРА)(№-) ВЕДУЩ. ВАЛ¤ ДИФФЕРЕНЦ. И КОЛЕСА
FIT
1:1
100%

Артикул

Название

Примечание

Количество

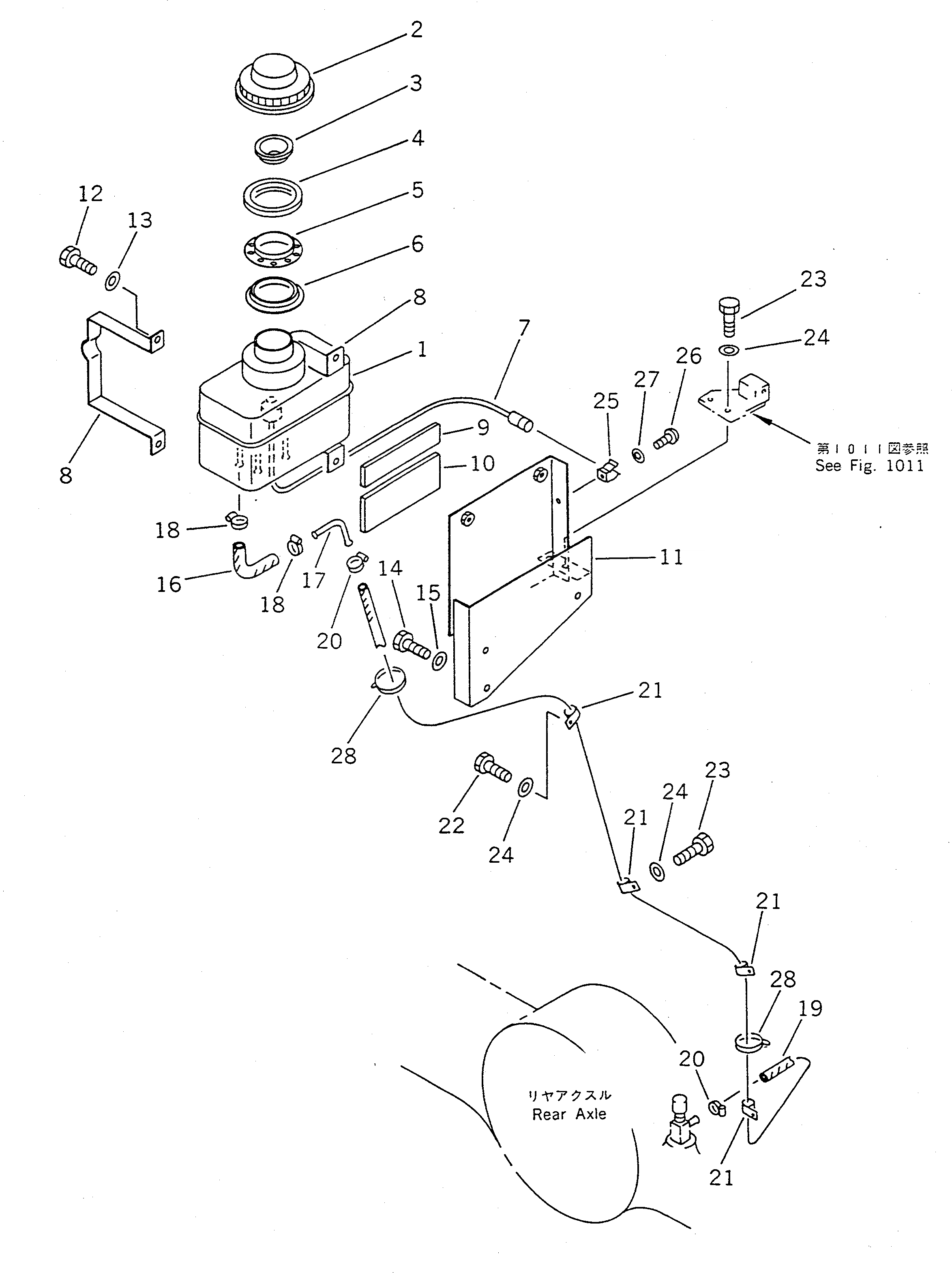
1

421-35-13200

BRAKE CHAMBER ASS'Y,(SEE FIG.3761)

SN: 20001-UP

2шт.

2

421-35-13880

PLATE

SN: 20001-UP

4шт.

3

01435-01230

BOLT

SN: 20001-UP

8шт.

4

7861-99-1600

SENSOR,BRAKE CHAMBER

SN: 10001-UP

2шт.

5

07002-02034

O-RING

SN: 20001-UP

2шт.

6

421-35-13760

ELBOW

SN: 20001-UP

1шт.

7

423-35-11810

NIPPLE

SN: 20001-UP

2шт.

8

07260-21440

HOSE

SN: 20001-UP

1шт.

9

07260-21436

HOSE

SN: 20001-UP

1шт.

10

07281-00259

CLAMP

SN: 20001-UP

8шт.

Выбрано товаров: 10